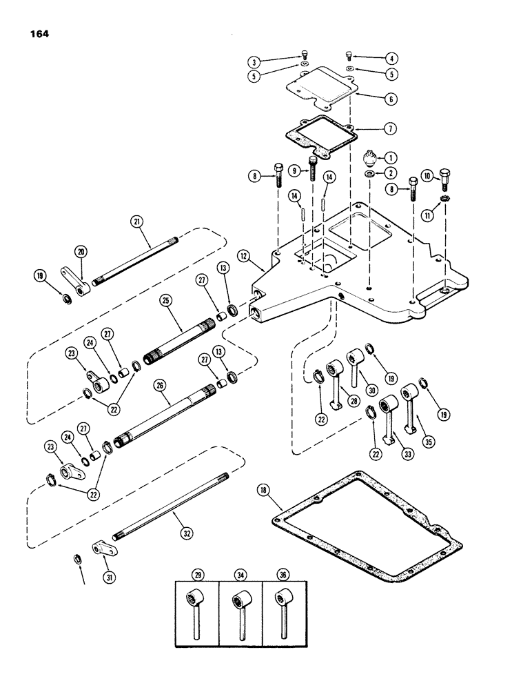
Запчасти Case IH 970 (164) - GEAR SHIFT MECHANISM, COVERS AND SHAFTS, MECHANICAL SHIFT (06) - POWER TRAIN

Схема запчастей Case IH 970 - (164) - GEAR SHIFT MECHANISM, COVERS AND SHAFTS, MECHANICAL SHIFT (06) - POWER TRAIN
27
24
18
25
11
2
3
8
33
24
27
12
14
4
9
23
8
13
5
34
6
30
32
31
21
20
7
22
19
23
19
21
27
22
26
22
28
22
19
29
35
13
36
14
10
5
1
FIT
1:1
100%

Артикул

Название

Примечание

Количество

1

A20990

SWITCH

- safety, neutral start

1шт.

2

G49402

SHIM,.010" Thk

Neutral start switch (19/32 x 1 x .010") .010" Thk

1шт.

3

113-217

PREV TORQUE BOLT,Locking, 3/8"-16 x 1", G5, Full Thd

BOLT, Locking, 3/8"-16 x 1", G5, Full Thd

1шт.

4

13-610

BOLT,Hex, 3/8" - 16 x 5/8", Gr 5, Full Thd

3шт.

5

95-6

WASHER,3/8"

- 7/16 x 1 x 5/64"

4шт.

6

A59114

COVER

- gear shift lever

1шт.

7

A59115

GASKET

- cover, gear shift lever

1шт.

8

13-840

BOLT,Hex, 1/2" - 13 x 2-1/2", Gr 5

- 1/2 x 2-1/2" N.C. hex

9шт.

9

166-91

12 PT SCREW,Flg, 1/2" - 13 x 2 1/2, Gr 8

BOLT - 1/2 x 2-1/2" N.C. Ferry cap

1шт.

10

A32042

STEP BOLT

BOLT - dowel, 7/16 x 1-21/32" N.C. hex

1шт.

11

193-12

LOCK WASHER,Ext Tooth, 0.52" ID x 0.89" OD, STL, PLN

WASHER, LOCK, Ext Tooth, 1/2"

1шт.

12

A59031

COVER ASSY. - trans. front top w/seals, Includes: Ref. 13

1шт.

13

A28211

OIL SEAL

- oil, external gear shift lever shaft

2шт.

14

A58950

PIN

- dowel, external gear shift lever shaft (3/8 x 1-3/8")

2шт.

18

A62114

GASKET,0.79mm Thk

- trans. top front cover (Replaces A58941)

1шт.

19

A59594

RING

SNAP RING - retaining, internal shift shaft

4шт.

20

A59666

LEVER

- range shift (14 int. teeth) (3-1/2" long)

1шт.

21

A59592

SHAFT

- control lever, internal range shift

1шт.

22

B18208

SNAP RING,#100, Ext

gear shift shaft #100, Ext

6шт.

23

A64936

LEVER

- reverse and (1st - 2nd) (Replaces A60369)

2шт.

24

A58949

O-RING,0.614" ID x 0.754" OD

"O"RING - internal gear shift lever shaft (5/8 x 3/4 x 1/16")

6шт.

25

A59032

SHAFT

ASSY. - external reverse shift lever w/bushings

1шт.

26

A58245

SHAFT

ASSY. - external gear shift lever w/bushings, Includes: Ref. 27

1шт.

27

A57709

BUSHING

- ext. gear shift and reverse shift lever shaft

2шт.

28

A61278

LEVER

- shift, reverse (23 int. teeth) (1st used trans. ser. no. 2358770)

1шт.

29

A58951

CAMSHAFT

LEVER - shift, reverse (23 int. teeth) to trans., Serial Range: -2358770

1шт.

30

A59590

LEVER

- shift, range

1шт.

31

A60363

LEVER

- gear shift (3rd and 4th) (14 int. teeth) (2-3/4" long)

1шт.

32

A59591

SHAFT

- control lever, internal gear shift

1шт.

33

A61281

LEVER

- gear shift, 1st and 2nd (23 int.teeth) (1st used trans. ser. no. 2358770)

1шт.

34

A58956

LEVER

- gear shift (1st and 2nd) (23 int. teeth) to trans., Serial Range: -2358770

1шт.

35

A61280

LEVER

- gear shift, 3rd and 4th (14 int. teeth) (1st used trans. ser. no. 2358770)

1шт.

36

A59595

LEVER

- gear shift (3rd and 4th) (14 int. teeth) to trans., Serial Range: -2358770

1шт.

Выбрано товаров: 33