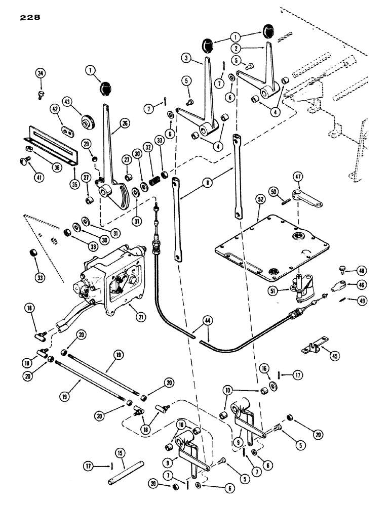
Запчасти Case IH 970 (228) - REMOTE HYDRAULIC CONTROLS (08) - HYDRAULICS

Схема запчастей Case IH 970 - (228) - REMOTE HYDRAULIC CONTROLS (08) - HYDRAULICS
2
19
17
21
34
20
33
29
7
6
8
18
7
50
15
33
17
30
27
6
33
20
48
30
20
35
7
18
6
5
49
7
41
51
18
5
44
19
47
31
20
46
1
9
4
6
9
26
32
43
36
52
1
20
20
5
42
4
3
31
10
27
45
16
10
5
FIT
1:1
100%

Артикул

Название

Примечание

Количество

1

A65699

KNOB

- hand lever (Replaces A23885 and A62078)

3шт.

2

A63543

LEVER

ASSY. - remote, inner (Replaces A59525)

1шт.

3

A59523

LEVER

ASSY. - remote, outer, Includes: Ref. 4

1шт.

4

A59429

BUSHING,15.95mm ID x 19.13mm OD x 12.83mm L

- remote levers

2шт.

5

141-3

CLEVIS PIN,5/16" x .940"

PIN, CLEVIS, 5/16" x .940"

4шт.

6

195-21

WASHER,5/16"

- 11/32 x 11/16 x 1/16"

4шт.

7

132-25

COTTER PIN,3/32" x 5/8"

Pin, Split (Cotter), 3/32" x 5/8"

4шт.

8

A61659

ROD

LINK - remote levers, upper (Replaces A59531)

2шт.

9

A59527

LEVER ASSY. - remote, bellcrank, Includes: Ref. 10

2шт.

10

A59429

BUSHING,15.95mm ID x 19.13mm OD x 12.83mm L

- remote bellcrank lever

2шт.

15

A59529

SHAFT

- lever, remote bellcrank

1шт.

16

195-41

WASHER,5/8"

1шт.

17

138-62

LOCK PIN,1/8" x 1 1/8", Slotted

PIN, , Levers to shaft, shaft to frame 1/8" x 1 1/8", Slotted

2шт.

18

A60604

BALL JOINT

- remote lever lower rod (5/16")

4шт.

19

A59519

ROD

- remote lever, lower

2шт.

20

25-115

NUT,5/16"-24, G5

- 5/16" NF hex

6шт.

21

A42248

VALVE

ASSY. - dual remote (See Figures 245 and 247)

1шт.

26

A61070

LEVER ASSY. - hand (D.O.M.) (Replaces A59275), draft controls, Includes: Ref. 27

1шт.

27

A59429

BUSHING,15.95mm ID x 19.13mm OD x 12.83mm L

- D.O.M. hand lever, draft controls

2шт.

29

193-1000

NUT,Keps, w/LW,#10-32

- #10 N.F. hex, keps, draft controls

1шт.

30

195-2035

WASHER,7/16" x 1 1/4" x .083"

- 7/16 x 1-1/4 x 14 ga., draft controls

2шт.

31

A61069

DISC

- friction, D.O.M. hand lever (Replaces A59432), draft controls

2шт.

32

A26546

SPRING

- D.O.M. hand lever, draft controls

1шт.

33

131-1306

JAM NUT,Jam, 3/8"-16

NUT - 3/8" N.C., top face lock, draft controls

3шт.

34

113-102

BOLT,Hex, 5/16" - 18 x 3/4", Gr 5

Hex, 5/16"-18 x 3/4", G5, Full Thd, Draft controls

2шт.

35

A59273

BRACKET

QUANDRANT - hand lever (D.O.M.), draft controls

1шт.

36

131-113

SPRING NUT,J, Ret, 5/16"-18

- 5/16" N.C. hex, draft controls

2шт.

41

111-317

CARRIAGE BOLT,Short NK, 3/8"-16 x 1", G2

BOLT, CARRIAGE, , Draft controls Short NK, 3/8"-16 x 1", G2

2шт.

42

G15950

STOP

- quadrant, D.O.M. hand lever, draft controls

1шт.

43

G15951

NUT

- knurled, D.O.M. hand lever quadrant stop, draft controls

2шт.

44

A59522

CABLE

- control, draft

1шт.

45

A61037

BRACKET

- D.O.M. cable, lower, draft controls

1шт.

46

213-1

ADJUSTABLE CLEVIS,#10-32

YOKE - cable to lower (3/16"), draft controls

1шт.

47

A59521

LEVER

- D.O.M., lower, draft controls

1шт.

48

141-1

CLEVIS PIN,3/16" x .580"

PIN - clevis, 3/16", draft controls

1шт.

49

132-7

COTTER PIN,1/16" x 3/4"

Pin, Split (Cotter), , Draft controls 1/16" x 3/4"

1шт.

50

138-2028

PIN,3/16" x 1 1/4", Coiled

Draft controls 3/16" x 1 1/4", Coiled

1шт.

51

A32310

LINK

- draft control (Link "C")

1шт.

52

A59598

COVER

- rockshaft housing, draft controls

1шт.

Выбрано товаров: 39