Запчасти Case IH 970 (038) - CYLINDER HEAD AND COVER, (377B) SPARK IGNITION ENGINE (02) - ENGINE

Схема запчастей Case IH 970 - (038) - CYLINDER HEAD AND COVER, (377B) SPARK IGNITION ENGINE (02) - ENGINE
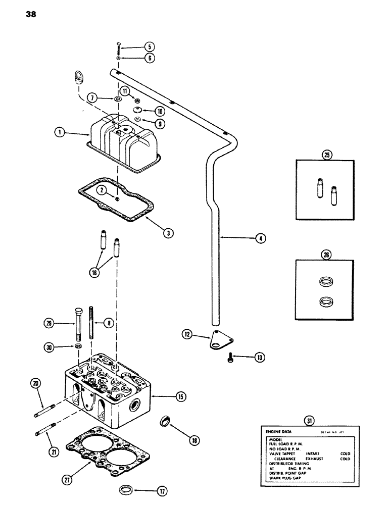
8
1
3
2
25
29
11
16
17
26
20
4
15
31
5
18
6
10
13
27
30
21
9
7
12
FIT
1:1
100%

Артикул

Название

Примечание

Количество

1

A58929

COVER

ASSY. - cylinder head, Includes: Ref. 2

3шт.

2

131-114

SPRING NUT,Rtnr, 1/4" - 20, 0.25" High

NUT - 1/4" N.C., Tinnerman

1шт.

3

A65734

CYLINDER HEAD GASKET

- cylinder head cover (Replaces A58928)

3шт.

4

A59053

TUBE

- breather

1шт.

5

75-440

SCREW

- mach., 1/4 x 2-1/2" N.C. rd. hd.

3шт.

6

A34133

GASKET

- breather tube screw

3шт.

7

A58635

GASKET,17.27mm ID x 32mm OD x 6.6mm Thk

-, Serial Range: breather-cover

3шт.

8

A60885

STUD

- rocker arm support, valve cover and lifting eye (7/16" N.C. x 6") (Replaces A57990)

6шт.

9

A23684

GASKET

GASKET - cover stud

6шт.

10

A23683

WASHER

- cover stud, beveled

6шт.

11

25-107

NUT,7/16"-14, G5

- 7/16" N.C. hex.

6шт.

12

A59054

BRACKET

- breather tube

1шт.

13

193-528

SCREW,SEMS, Hex Soc Hd, 3/8"-16 x 1 1/2"

BOLT - 3/8 x 1-1/2" N.C. sems

2шт.

15

A58793

HEAD ASSY. - cylinder (Casting No. A58520), Includes: Ref. 16 - 18

3шт.

16

NSS

NOT SOLD SEPARAT

GUIDE - intake and exhaust valves (Order Ref. 25)

4шт.

17

NSS

NOT SOLD SEPARAT

INSERT - exhaust valve (Order Ref. 26)

2шт.

18

A34124

PLUG,Cup, 1 5/8", Stainless

- 1-5/8" cup type

2шт.

20

A27911

STUD

- manifold mounting

4шт.

21

A61052

STUD - manifold mounting

2шт.

22

A60567

EYE

NUT - lifting eye

2шт.

25

A21673

GUIDE

KIT - valve (Set of 2)

6шт.

26

A33453

KIT

INSERT KIT - exhaust valve (Set of 2)

3шт.

27

A58795

CYLINDER HEAD GASKET

- cylinder head

3шт.

29

A58798

BOLT - 5/8 x 6-3/8" N.C. hex.

27шт.

30

A58629

BEARING WASHER,16.66mm ID x 25.4mm OD x 3.04mm Thk

WASHER - cylinder head bolt

27шт.

31

321-1653

DECAL

- engine data

1шт.

Выбрано товаров: 0