Запчасти Case IH 970 (058) - GOVERNOR, (377B) SPARK IGNITION ENGINE (02) - ENGINE

Схема запчастей Case IH 970 - (058) - GOVERNOR, (377B) SPARK IGNITION ENGINE (02) - ENGINE
13
24
5
24
40
8
6
25
38
10
23
7
8
12
37
39
22
26
36
20
9
15
11
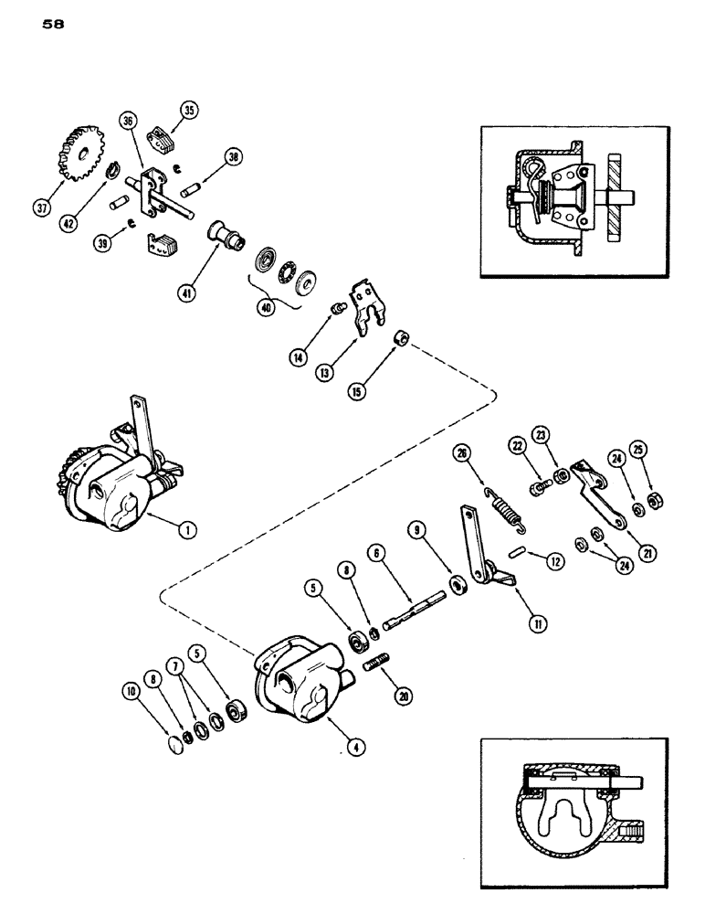
1
14
42
5
21
35
41
4
FIT
1:1
100%

Артикул

Название

Примечание

Количество

1

A58819

GOVERNOR - Pierce, Includes: Ref. 4 - 42

1шт.

A42374

BODY ASSY. - major service, Includes: Ref. 4 - 26

1шт.

A41946

WIPER

BODY ASSY. - minor service, Includes: Ref. 4 - 15

1шт.

4

NSS

NOT SOLD SEPARAT

BODY - governor

1шт.

5

A41271

BEARING

- body and rocker shaft

2шт.

6

NSS

NOT SOLD SEPARAT

SHAFT - rocker

1шт.

7

A41287

WASHER - body at rocker shaft

2шт.

8

A39489

SNAP RING,#43, Ext

Ring, Snap, , rocker shaft (replaces A41282) #43, Ext

2шт.

9

A41295

OIL SEAL

SEAL - oil, body at rocker shaft

1шт.

10

A41284

PLUG - Welch, body at rocker shaft

1шт.

11

A41947

LEVER - throttle

1шт.

12

138-73

LOCK PIN,5/32" x 3/4", Slotted

PIN, 5/32" x 3/4", Slotted

1шт.

13

A41305

YOKE - rocker shaft

1шт.

14

193-504

SCREW - sems, #10 N.F. x 7/16"

2шт.

15

A41291

BUSHING

- body at drive shaft

1шт.

20

A41950

COIL ASSY.

STUD BODY

1шт.

21

A41951

LEVER - speed change

1шт.

22

A20341

SCREW - speed control lever

1шт.

23

7770

NUT,Hex, 1/4 - 20, Cl 5

1/4"-20, G5

1шт.

24

A41952

WHEEL

WASHER - body at stud

3шт.

25

131-181

LOCK NUT,3/8"-24, GC

NUT - lock, 3/8" N.F. hex.

1шт.

26

A42372

SPRING

- governor

1шт.

A41942

WEIGHT ASSY. - major service, Includes: Ref. 35 - 42

1шт.

35

NSS

NOT SOLD SEPARAT

WEIGHT - governor

2шт.

36

NSS

NOT SOLD SEPARAT

SHAFT - spider

1шт.

37

NSS

NOT SOLD SEPARAT

GEAR - governor

1шт.

38

A41311

PIN - spider weights

2шт.

39

49485

SNAP RING,#X18, .122" Dia, E-Type

Ring, Retaining, , weight pin #X18, .122" Dia, E-Type

2шт.

40

A41276

BEARING

- sleeve thrust

1шт.

41

A41944

SLEEVE - thrust

1шт.

42

A11538

SNAP RING,#50, Ext

Ring, Snap, , shaft at gear #50, Ext

1шт.

Выбрано товаров: 31