Запчасти Case IH 970 (076) - CYLINDER HEAD COVER, (377B) SPARK IGNITION ENGINE (02) - ENGINE

Схема запчастей Case IH 970 - (076) - CYLINDER HEAD COVER, (377B) SPARK IGNITION ENGINE (02) - ENGINE
9
5
22
13
1
31
29
18
12
8
7
6
30
15
10
11
17
2
16
4
3
27
FIT
1:1
100%

Артикул

Название

Примечание

Количество

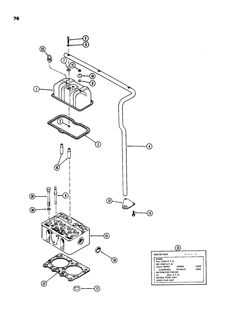
1

A58929

COVER

ASSEMBLY - cylinder head, Includes: Ref. 2

3шт.

2

131-114

SPRING NUT,Rtnr, 1/4" - 20, 0.25" High

NUT - 1/4" NC, Tinnerman

1шт.

3

A65734

CYLINDER HEAD GASKET

- cylinder head cover (Replaces A58928)

3шт.

4

A59053

TUBE

- breather

1шт.

5

13-440

BOLT,Hex, 1/4" - 20 x 2-1/2", Gr 5

SCREW - 1/4 x 2-1/2" NC rd. hd. mach.

3шт.

6

A34133

GASKET

- breather tube screw

3шт.

7

A58635

GASKET,17.27mm ID x 32mm OD x 6.6mm Thk

-, Serial Range: breather-cover

3шт.

8

A67121

STUD

- 7/16" NC x 6-1/16" (Replaces A60885)

6шт.

9

A23684

GASKET

GASKET - cover stud

6шт.

10

A23683

WASHER

- cover, stud, beveled

6шт.

11

25-107

NUT,7/16"-14, G5

- 7/16" NC hex

6шт.

12

A59054

BRACKET

- breather tube

1шт.

13

193-528

SCREW,SEMS, Hex Soc Hd, 3/8"-16 x 1 1/2"

BOLT - 3/8 x 1-1/2" NC sems

2шт.

15

A58793

HEAD ASSEMBLY - cylinder, Includes: Ref. 16 - 18

3шт.

16

A26373

GUIDE

- intake and exhaust valves

12шт.

17

A33422

SEAT, VALVE

INSERT - exhaust valve

6шт.

18

A34124

PLUG,Cup, 1 5/8", Stainless

- 1-5/8" cup type

2шт.

22

A60567

EYE

NUT - lifting eye

2шт.

27

A58795

CYLINDER HEAD GASKET

- cylinder head

3шт.

29

A58798

BOLT - 5/8 x 6-3/8" NC hex

27шт.

30

A58629

BEARING WASHER,16.66mm ID x 25.4mm OD x 3.04mm Thk

WASHER - cylinder head bolt

27шт.

31

321-1653

DECAL

- engine data

1шт.

Выбрано товаров: 22