Запчасти Case IH 970 (162) - BATTERIES - CABLES - BATTERY BOX, 377B SPARK IGNITION ENGINES (04) - ELECTRICAL SYSTEMS

Схема запчастей Case IH 970 - (162) - BATTERIES - CABLES - BATTERY BOX, 377B SPARK IGNITION ENGINES (04) - ELECTRICAL SYSTEMS
6
9
11
12
1
10
8
13
7
14
5
3
2
4
1
FIT
1:1
100%

Артикул

Название

Примечание

Количество

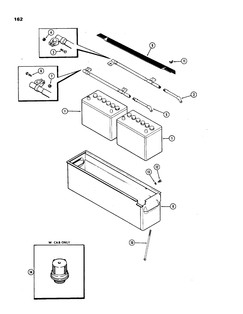
1

A58559

BATTERY

- 12 volt

2шт.

The battery on units with cab is equipped with non-spill caps. When replacing this battery with A58599, remove caps and either use non-spill caps from old battery or order 6-A60553 caps.

1шт.

2

A59730

CABLE ASSEMBLY - battery negative (Ground), Includes: Ref. 3 & 4

1шт.

3

117-108

SQUARE BOLT,5/18" - 16 x 1 3/8", Gr 5

- 5/16 x 1-3/8" NC square head

2шт.

4

129-516

NUT

- 5/16" NC hex, with shoulder

2шт.

5

A62142

CABLE

ASSEMBLY - battery positive (Replaces A59729), Includes: Ref. 6 & 7

1шт.

6

117-108

SQUARE BOLT,5/18" - 16 x 1 3/8", Gr 5

- 5/16 x 1-3/8" NC square head

2шт.

7

129-516

NUT

- 5/16" NC hex, with shoulder

2шт.

8

A62137

BOX

- battery

1шт.

9

A59173

CLAMP

- battery hold down

1шт.

10

11-5160

BOLT

- battery hold down

2шт.

11

G49020

NUT

- 5/16" NC, wing

2шт.

12

13-514

BOLT,Hex, 5/16" - 18 x 7/8", Gr 5

1шт.

13

92-5

LOCK WASHER,5/16"

1шт.

14

A60553

CAP

- battery, non-spill vent

12шт.

Выбрано товаров: 15