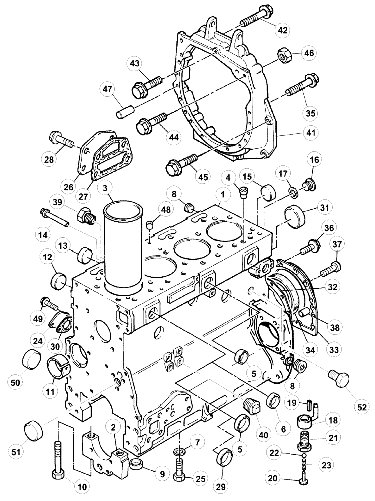
Запчасти Case IH CX100 (02-38) - CYLINDER BLOCK (02) - ENGINE

Схема запчастей Case IH CX100 - (02-38) - CYLINDER BLOCK (02) - ENGINE
19
52
32
30
22
51
26
23
18
12
6
27
10
29
33
1
34
8
40
17
20
35
5
8
31
49
47
13
28
45
39
48
15
16
2
14
21
24
41
4
25
50
37
36
42
7
44
9
46
11
5
3
38
43
FIT
1:1
100%

Артикул

Название

Примечание

Количество

293201A1

BASIC BLOCK

(CX80: - JJE1008608), (CX90: - JJE1008568), (CX100: - JJE1008887), Consists Of 1 - 8,9 - 31

1шт.

315994A1

BASIC BLOCK

(CX80: JJE1008609 -), (CX90: JJE1008569 - ), (CX100: JJE1008888 -), Consists Of 1 - 5,7,8A - 31,48 - 52

1шт.

1

NSS

NOT SOLD SEPARAT

Block

1шт.

2

NSS

NOT SOLD SEPARAT

Cap

5шт.

3

293041A1

SLEEVE

4шт.

4

291955A1

DOWEL

2шт.

5

3108824R1

PLUG

6шт.

6

218257A1

PLUG

1шт.

7

218281A1

SPACER

4шт.

8

217-442

PLUG,3/4" - 14

3/4 PT

2шт.

8b

217-454

DRAIN PLUG,Hex Soc, 3/4" - 14 NPTF

3/4 PT

2шт.

9

795652R1

BUSHING

10шт.

10

E115002

SCREW

10шт.

11

291951A1

BUSHING

1шт.

12

218263A1

PLUG

Lower

4шт.

13

291952A1

PLUG

Upper

3шт.

14

218264A1

PLUG

1шт.

15

218263A1

PLUG

2шт.

16

3118146R1

PLUG

1шт.

17

218269A1

WASHER

1шт.

18

293176A1

JET

Includes 19

4шт.

19

293000A1

DOWEL

1шт.

218619A1

VALVE POPPET

Consists Of 20 - 23

4шт.

20

218623A1

SPRING SEAT

1шт.

21

NSS

NOT SOLD SEPARAT

Body

1шт.

22

218621A1

BALL

1шт.

23

218622A1

SPRING

1шт.

24

218277A1

LARGE PLATE

PLATE, LARGE

1шт.

25

218280A1

SCREW

2шт.

26

281632A1

LARGE PLATE

PLATE, LARGE

1шт.

27

218651A1

GASKET

1шт.

28

218652A1

SCREW

1шт.

29

292995A1

PLUG

4шт.

30

218553A1

GASKET

1шт.

31

291953A1

WASHER

1шт.

32

360097A1

SEAL

Rear Main

1шт.

218270A1

HOUSING

Consists Of 33,34

1шт.

33

NSS

NOT SOLD SEPARAT

Cover

1шт.

34

218271A1

SEAL

Cover

1шт.

35

844-12065

BOLT,Hvy Hex, M12 x 65mm, Cl 8.8

M12 x 65; 8,8

4шт.

35

218249A1

SCREW

4шт.

36

844-8020

BOLT,Hvy Hex, M8 x 20mm, Cl 8.8

12шт.

37

291954A1

SCREW

2шт.

38

3235725R1

DOWEL

2шт.

39

3118148R1

PLUG

1шт.

40

3118147R1

PLUG

1шт.

41

335332A1

COVER

Flywheel

1шт.

42

844-10035

BOLT,Hex, M10 x 35mm, Cl 8.8

1шт.

43

218249A1

SCREW

1шт.

44

844-12065

BOLT,Hvy Hex, M12 x 65mm, Cl 8.8

M12 x 65; 8,8

1шт.

45

844-12055

BOLT,Hvy Hex, M12 x 55mm, Cl 8.8

M12 x 55; 8,8

5шт.

46

9804279

FLANGE NUT,Hex, M12, Cl 8

M12

2шт.

47

37-1614

DOWEL,3/8" x 7/8"

3/8 x 7/8

2шт.

48

F62484

PLUG

1шт.

49

218021A1

SCREW

2шт.

50

291952A1

PLUG

1шт.

51

218257A1

PLUG

2шт.

52

3118148R1

PLUG

2шт.

Выбрано товаров: 58