Запчасти Case IH CX50 (09-04) - FRONT WEIGHTS (09) - CHASSIS/ATTACHMENTS

Схема запчастей Case IH CX50 - (09-04) - FRONT WEIGHTS (09) - CHASSIS/ATTACHMENTS
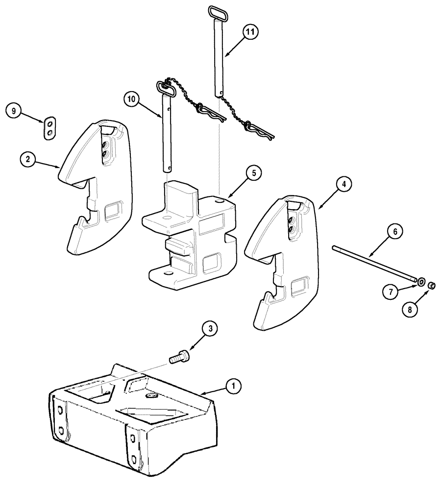
10
11
8
2
6
4
5
1
3
7
9
FIT
1:1
100%

Артикул

Название

Примечание

Количество

1

365912A1

SUPPORT

1шт.

2

224383A2

WEIGHT

45kg (100lb)

16шт.

3

827-20090

BOLT,Hex, M20 x 2.5 x 90mm, Cl 10.9

1шт.

4

405846A3

WEIGHT

45kg (100lb)

10шт.

5

365914A1

TRAILER HITCH

1шт.

6

366761A1

STUD

Weight 9

1шт.

6

366760A1

STUD

Weight 7

1шт.

7

896-16016

WASHER,17.5mm ID x 34mm OD x 5mm Thk

17,5 x 34 x 5 mm

1шт.

8

829-1416

NUT,M16, Cl 10

1шт.

9

229483A1

RETAINER

1шт.

10

368197A1

CLEVIS PIN,31mm OD x 337mm L

Zinc

1шт.

11

394086A1

CLEVIS PIN,31mm OD x 315mm L

Zinc, Europe Only

1шт.

Выбрано товаров: 12