Запчасти Case IH CX60 (09-62) - THREE POINT HITCH - LIFT LINKS (09) - CHASSIS/ATTACHMENTS

Схема запчастей Case IH CX60 - (09-62) - THREE POINT HITCH - LIFT LINKS (09) - CHASSIS/ATTACHMENTS
5
7
1
7
6
10
9
2
11
4
7
7
6
8
3
FIT
1:1
100%

Артикул

Название

Примечание

Количество

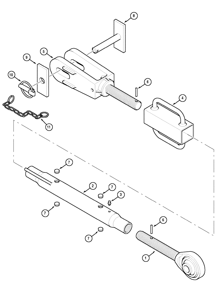
224251A2

UPPER LINK

42 mm, Consists Of 1 - 4,5A,6,7,8A - 10

1шт.

224250A2

UPPER LINK

27 mm, Consists Of 1 - 10

1шт.

1

226113A1

LIFT LINK END ASSY,M27 x 2

1шт.

2

226114A1

TUBE,M27 x 2

1шт.

3

219-14

LUBE NIPPLE,1/4" NPTF

1шт.

4

226115A1

HANDLE

1шт.

5

226116A1

FORK,M27 x 2

27 mm, Wide

1шт.

5b

226120A1

FORK,M27 x 2

42 mm, Narrow

1шт.

6

838-5528

LOCK PIN,M5 x 28, Slotted

5 x 28 mm

2шт.

7

1965426C1

PLUG

4шт.

8

310497A1

PIN,80mm OD x 109mm L

91 mm

1шт.

8b

310498A1

PIN,80mm OD x 94mm L

76 mm

1шт.

9

310499A1

LARGE PLATE

PLATE, LARGE

1шт.

10

179891A1

PIN,7.5mm OD

Includes 11

1шт.

11

1982154C2

CHAIN,Assembly, Lift Link

1шт.

Выбрано товаров: 15