Запчасти Case IH CX60 (09-72) - TRAILER HITCH (09) - CHASSIS/ATTACHMENTS

Схема запчастей Case IH CX60 - (09-72) - TRAILER HITCH (09) - CHASSIS/ATTACHMENTS
12
5
13
11
5
8
2
4
6
7
3
6
5
6
4
9
1
10
FIT
1:1
100%

Артикул

Название

Примечание

Количество

UZBEKISTAN

1шт.

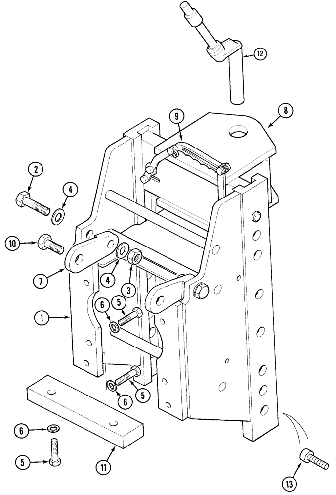
1

121704A1

FRAME, HITCH

Version With Shiftable PTO, Includes 13

1шт.

2

426-1236

BOLT,Hex, 3/4" - 10 x 2-1/4", Gr 8

3/4 x 2-1/4; 8

2шт.

3

429-1012

NUT,3/4"-10, G8

2шт.

4

496-11081

WASHER,13/16" x 1 1/2" x .134", HDN

4шт.

5

426-1028

BOLT,Hex, 5/8" - 11 x 1-3/4", Gr 8

8шт.

6

396-31066

WASHER,21/32" x 1 5/16" x .188", HDN

21/32 x 1-5/16 x 3/16

8шт.

7

125706A2

LARGE PLATE

PLATE, LARGE

2шт.

8

294667A1

HITCH ASSY, TRAILER

1шт.

9

NSS

NOT SOLD SEPARAT

Handle Assy, Order 294667A1

1шт.

10

426-1224

BOLT,Hex, 3/4" - 10 x 1-1/2", Gr 8

3/4 x 1-1/2; 8

2шт.

11

139333A1

BAR

1шт.

12

294668A1

HITCH PIN

1шт.

13

864-10025

HEX SOC SCREW,M10 x 25mm, Cl 8.8

M10 x 25

1шт.

Выбрано товаров: 14