Запчасти Case IH CX60 (09-74) - TRAILER HITCH - PITON FIXE (09) - CHASSIS/ATTACHMENTS

Схема запчастей Case IH CX60 - (09-74) - TRAILER HITCH - PITON FIXE (09) - CHASSIS/ATTACHMENTS
9
4
4
13
11
12
1
6
2
3
11
12
4
10
9
3
9
8
5
7
FIT
1:1
100%

Артикул

Название

Примечание

Количество

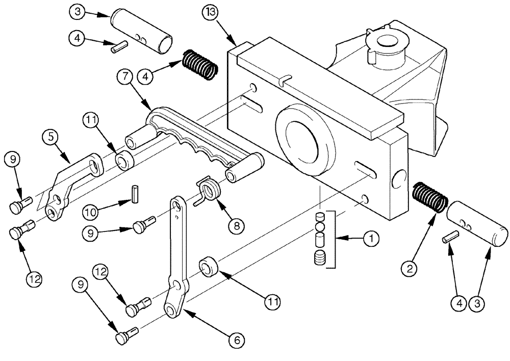
141039A1

TRAILER HITCH

Consists Of 1 - 13

1шт.

1

1534047C1

KIT

1шт.

2

141013A1

SPRING

2шт.

3

141014A1

PIN

2шт.

4

738-5520

LOCK PIN,5mm OD x 20mm L, Slotted

2шт.

141015A1

HANDLE

Consists Of 5 - 12

1шт.

5

NSS

NOT SOLD SEPARAT

Bar

1шт.

6

NSS

NOT SOLD SEPARAT

Bar

1шт.

7

NSS

NOT SOLD SEPARAT

Handle

1шт.

8

NSS

NOT SOLD SEPARAT

Spring

1шт.

9

NSS

NOT SOLD SEPARAT

Pin

4шт.

10

738-1516

LOCK PIN,M5 x 16, Slotted

1шт.

11

NSS

NOT SOLD SEPARAT

Spacer

2шт.

12

NSS

NOT SOLD SEPARAT

Pin

2шт.

13

NSS

NOT SOLD SEPARAT

Clevis

1шт.

Выбрано товаров: 15