Запчасти Case IH CX60 (02-18) - THERMOSTAT HOUSING (02) - ENGINE

Схема запчастей Case IH CX60 - (02-18) - THERMOSTAT HOUSING (02) - ENGINE
6
9
2
3
1
7
4
5
8
FIT
1:1
100%

Артикул

Название

Примечание

Количество

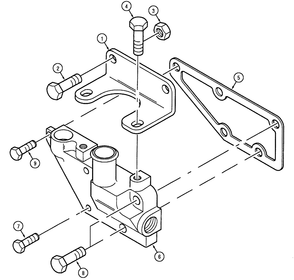
1

295868A1

SUPPORT

Engine No. - U324041D

1шт.

1

334968A1

SUPPORT

Engine No. U324042D -

1шт.

2

218053A1

SCREW

Engine No. - U324041D

2шт.

2

217919A1

SCREW,Hex Flg, M10 x 25mm

Engine No. U324042D -

1шт.

3

217985A1

NUT

2шт.

4

218170A1

SCREW

2шт.

5

296220A1

GASKET

1шт.

6

322591A1

FITTING

1шт.

7

844-8035

BOLT,Hvy Hex, M8 x 35mm, Cl 8.8

1шт.

8

281652A1

SCREW

2шт.

9

844-8016

BOLT,Hex, M8 x 16mm, Cl 8.8

2шт.

217-4

ADAPTER,3/8"-18 Fem NPTF x 3/8"-18 NPTF Male

Not Illustrated

1шт.

Выбрано товаров: 12