Запчасти Case IH CX70 (08-03) - OIL COOLER AND PIPES (08) - HYDRAULICS

Схема запчастей Case IH CX70 - (08-03) - OIL COOLER AND PIPES (08) - HYDRAULICS
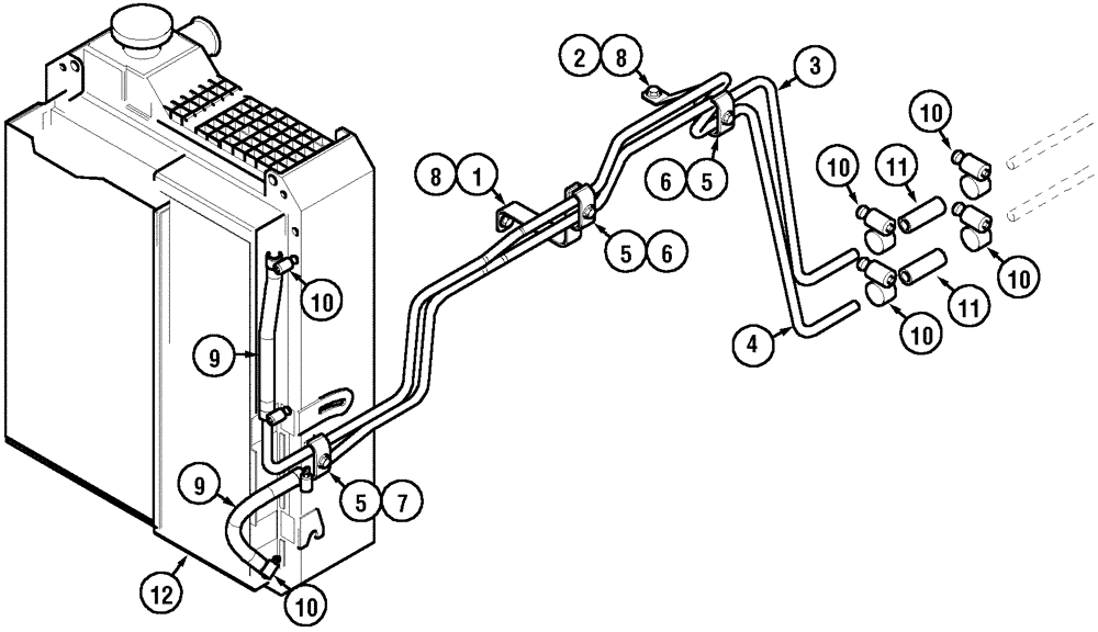
1
6
5
5
5
10
9
11
8
12
10
10
4
2
10
9
11
10
3
10
7
8
6
FIT
1:1
100%

Артикул

Название

Примечание

Количество

Sloping Hood

1шт.

1

314949A1

SUPPORT

If So Equipped

1шт.

2

314951A1

SUPPORT

1шт.

3

374284A1

TUBE ASSY.

Supply

1шт.

4

374286A1

TUBE ASSY.

Return

1шт.

5

258490A2

SHIN

1шт.

6

844-8035

BOLT,Hvy Hex, M8 x 35mm, Cl 8.8

1шт.

7

844-8030

BOLT,Hex, M8 x 1.25 x 30mm, Cl 8.8

1шт.

8

844-10016

BOLT,Hex, M10 x 16mm, Cl 8.8, Full Thd

M10 x 16; 8,8

1шт.

9

315845A1

HOSE

2шт.

10

214-1410

HOSE CLAMP,#10, 0.56" - 1.06", Type F Worm

8шт.

11

376609A1

HOSE,12.70 mm ID x 90.00 mm , SAE 100R6

2шт.

12

221977A6

COOLER, OIL

1шт.

Выбрано товаров: 13