Запчасти Case IH CX70 (08-21) - ASSISTOR RAM (08) - HYDRAULICS

Схема запчастей Case IH CX70 - (08-21) - ASSISTOR RAM (08) - HYDRAULICS
2
3
1
4
5
FIT
1:1
100%

Артикул

Название

Примечание

Количество

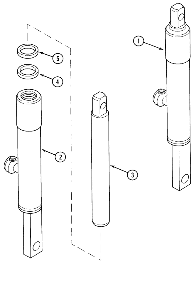
1

235430A1

CYLINDER ASSY.

50 mm, Consists Of 2 - 5

1шт.

2

NSS

NOT SOLD SEPARAT

50 mm, Cylinder

1шт.

3

300436A1

PISTON ROD

50 mm

1шт.

300438A1

SEAL KIT

Consists Of 4,5

1шт.

4

NSS

NOT SOLD SEPARAT

Seal

1шт.

5

NSS

NOT SOLD SEPARAT

Seal

1шт.

Выбрано товаров: 0