Запчасти Case IH CX80 (04-32) - BATTERY, CABLES AND BOX (04) - ELECTRICAL SYSTEMS

Схема запчастей Case IH CX80 - (04-32) - BATTERY, CABLES AND BOX (04) - ELECTRICAL SYSTEMS
3
14
15
12
7
2
8
6
5
9
12
10
6
13
7
13
4
1
FIT
1:1
100%

Артикул

Название

Примечание

Количество

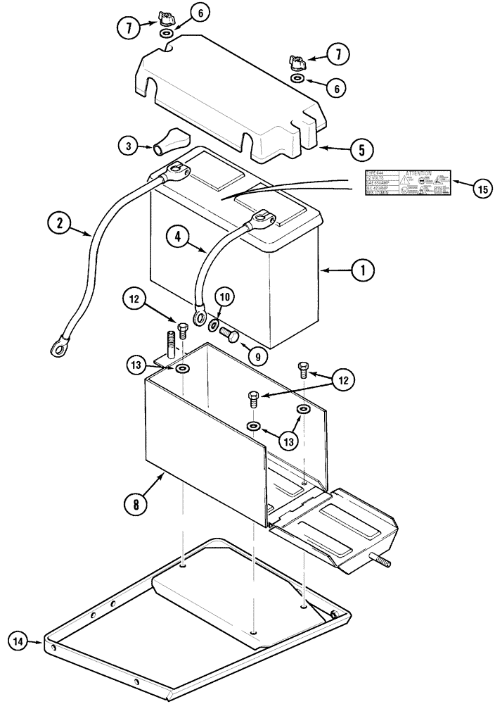
1

528217R2

BATTERY, DRY

BATTERY DRY , Dry Charged

1шт.

1

91517C1

BATTERY, WET

BATTERY WET , 12V, Standard, Wet Charged

1шт.

1

530756R2

BATTERY, WET

BATTERY WET , Extra Heavy Duty, Wet Charged

1шт.

1

529966R2

BATTERY, DRY

BATTERY DRY , Extra Heavy Duty, Dry Charged

1шт.

2

225987A2

CABLE ASSY.

Starter

1шт.

3

383619R1

COVER

1шт.

4

225988A2

CABLE

- ve, Ground

1шт.

5

295102A1

COVER

1шт.

6

495-71041

WASHER,10.31mm ID x 31.75mm OD x 2.54mm Thk

13/32 x 1-1/4 x 3/32

2шт.

7

934900R1

WING NUT

2шт.

8

279151A2

BATTERY BOX

Heavy Duty

1шт.

9

413-612

BOLT,Hex, 3/8" - 16 x 3/4", Gr 5

1шт.

10

495-11041

WASHER,0.406" ID x 0.812" OD x 0.065" W

(13/32 x 13/16 x 1/16")

1шт.

12

614-8016

BOLT,Hex, M8 x 1.25 x 16mm, Cl 8.8, Full Thd

3шт.

13

895-11008

WASHER,9mm ID x 16mm OD x 1.6mm Thk

3шт.

14

247863A4

BATTERY BOX

3шт.

15

1537115C1

DECAL

Standard

1шт.

15

1537117C1

DECAL

Heavy Duty

1шт.

Выбрано товаров: 18