Запчасти Case IH 1210 (8-60) - SINGLE LIVE TAKE-OFF VALVE (08) - HYDRAULICS

Схема запчастей Case IH 1210 - (8-60) - SINGLE LIVE TAKE-OFF VALVE (08) - HYDRAULICS
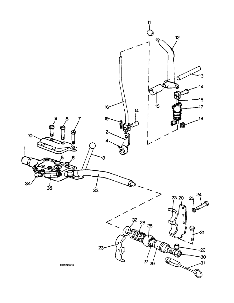
30
3
5
16
15
20
32
9
35
28
8
18
17
23
27
31
26
13
12
2
16
14
7
19
33
4
24
11
1
21
6
14
29
23
34
25
22
10
FIT
1:1
100%

Артикул

Название

Примечание

Количество

K964531

CONTROL VALVE

CONTROL ASSEMBLY valve and hand, single pump, no longer available, Includes: Control's

1шт.

Used with 1210Q, 1212Q, 1210Sk and 1212Sk tractors.

1шт.

K931865

SPARE PART

CONTROL hand, single pump

1шт.

Used with 1210Q, 1212Q, 1210Sk and 1212Sk tractors.

1шт.

K964529

CONTROL VALVE

CONTROL ASSEMBLY valve and hand, tandem pump

1шт.

Used with 1210Q, 1212Q, 1210Sk and 1212Sk tractors.

1шт.

K931870

SPARE PART

CONTROL hand, tandem pump, no longer available

1шт.

Used with 1210Q, 1212Q, 1210Sk and 1212Sk tractors.

1шт.

K918183

NO LONGER SERVICED

VALVE single live take-off, used with 1210, 1212, 1210G and 1212G tractors

1шт.

K140000

KIT pipes and couplings for single valve (Replaces kit K930230)

1шт.

1

K956421

VALVE

ASSEMBLY take-off, parts list Figure 8-58

1шт.

2

K950851

LEVER

cranked

1шт.

Used with 1210Q, 1212Q, 1210Sk and 1212Sk tractors.

1шт.

3

K946382

LEVER

hand, cranked, used with 1210, 1212, 1210G and 1212G tractors

1шт.

126-6

WOODRUFF KEY,# 213, 1/8" x 3/8"

(No. 403) (Replaces key K622382) # 213, 1/8" x 3/8"

1шт.

4

83-1316

SET SCREW,Hex Soc, 5/16"-18 x 3/8"

set, hex socket, 5/16 NC x 3/8 inch (Replaces screw K606322)

1шт.

5

K623588

O-RING,2.69mm Thk x 29.97mm ID, 75 Duro

1-3/16 inch ID

1шт.

6

238-6115

O-RING,0.103" Thk x 0.674" ID, -115, Cl 6, 90 Duro

(Replaces O-ring K24852) -115, 90 Duro, .674" ID x .103" Thk

5шт.

7

413-676

BOLT,Hex, 3/8" - 16 x 4-3/4", Gr 5

hex, single pump, 3/8 NC x 4-3/4 inch (Replaces bolt K600516)

2шт.

7

413-688

BOLT,Hex, 3/8" - 16 x 5-1/2", Gr 5

hex, tandem pump, 3/8 NC x 5-1/2 inch (Replaces bolt K600518)

2шт.

8

413-684

BOLT,Hex, 3/8" - 16 x 5-1/4", Gr 5

hex, single pump, 3/8 NC x 5-1/4 inch (Replaces bolt K600517)

1шт.

8

413-696

BOLT,Hex, 3/8" - 16 x 6", Gr 5

hex, tandem pump, 3/8 NC x 6 inch (Replaces bolt K600513)

1шт.

9

413-644

BOLT,Hex, 3/8" - 16 x 2-3/4", Gr 5

(Replaces bolt K600515) Hex, 3/8"-16 x 2 3/4", G5

2шт.

492-11038

LOCK WASHER,3/8"

(Replaces washer K19482) 3/8"

6шт.

10

K919242

COVER

take-off valve

1шт.

11

K950493

KNOB

hand lever

1шт.

Used with 1210Q, 1212Q, 1210Sk and 1212Sk tractors.

1шт.

12

K200315

LEVER

hand, no longer available (Replaces lever K950762)

1шт.

Used with 1210Q, 1212Q, 1210Sk and 1212Sk tractors.

1шт.

K614021

SET SCREW,#10 - 32 x 1/2"

No. 10 NF x 1/2 inch (Replaces screw K613984)

2шт.

Used with 1210Q, 1212Q, 1210Sk and 1212Sk tractors.

1шт.

13

K950863

SHAFT

hand lever

1шт.

Used with 1210Q, 1212Q, 1210Sk and 1212Sk tractors.

1шт.

14

K950866

LARGE PIN

clevis, 1/4 x 13/16 inch

2шт.

Used with 1210Q, 1212Q, 1210Sk and 1212Sk tractors.

1шт.

432-48

COTTER PIN,1/16" x 1/2"

PIN, SPLIT (COTTER), (Replaces pin K623605) 1/16" x 1/2"

1шт.

Used with 1210Q, 1212Q, 1210Sk and 1212Sk tractors.

1шт.

15

K950898

BUSHING

SPACER hand lever shaft

1шт.

Used with 1210Q, 1212Q, 1210Sk and 1212Sk tractors.

1шт.

16

K965209

ROD

ASSEMBLY connecting, single pump, no longer available (Replaces rod K951297), Includes: End and Nut

1шт.

Used with 1210Q, 1212Q, 1210Sk and 1212Sk tractors.

1шт.

16

K965211

ROD

ASSEMBLY connecting, tandem pump, no longer available (Replaces rod K951354), Includes: End and Nut

1шт.

Used with 1210Q, 1212Q, 1210Sk and 1212Sk tractors.

1шт.

K200300

FORK

END, 5/16 NC, no longer available

1шт.

Used with 1210Q, 1212Q, 1210Sk and 1212Sk tractors.

1шт.

B90396

HARDWARE

NUT lock, 5/16 inch NC (Replaces nut K607081)

1шт.

Used with 1210Q, 1212Q, 1210Sk and 1212Sk tractors.

1шт.

17

K950691

SEAL

GAITER connecting rod, no longer available

1шт.

Used with 1210Q, 1212Q, 1210Sk and 1212Sk tractors.

1шт.

18

K950861

BUSHING

two halves

2шт.

Used with 1210Q, 1212Q, 1210Sk and 1212Sk tractors.

1шт.

19

K950865

CLIP

PIN retaining

1шт.

Used with 1210Q, 1212Q, 1210Sk and 1212Sk tractors.

1шт.

20

K940752

MOUNTING PARTS

BRACKET support

1шт.

21

413-856

BOLT,Hex, 1/2" - 13 x 3-1/2", Gr 5

hex, 1/2 NC x 3-1/2 inch (Replaces bolt K600896)

2шт.

22

K627074

BUSHING

SPACER distance

1шт.

23

K924286

MOUNTING PARTS

FRAME

2шт.

K626686

WASHER

flat, 1/2 inch (Replaces washer K19474)

1шт.

24

413-748

BOLT,Hex, 7/16" - 14 x 3", Gr 5

hex, 7/16 NC x 3 inch (Replaces bolt K600703)

1шт.

25

K627056

BUSHING

SPACER distance

1шт.

492-11044

LOCK WASHER,7/16"

WASHER, LOCK, (Replaces washer K626344) 7/16"

1шт.

425-107

NUT,7/16"-14, G5

hex, 7/16 inch NC (Replaces nuts K607046 and B90348)

1шт.

26

K924284

RING

gimbal

2шт.

27

K924285

RING

retaining

2шт.

28

K625249

SPRING

coupling

2шт.

K921216

COUPLING, BREAK AWAY

ASSEMBLY quick-release, Aeroquip B5600/8/10, Includes: Ref. 29 and 30

2шт.

29

K929247

BREAKER POINTS

quick-release, tractor half

1шт.

30

K921982

BREAKER POINTS

quick-release, hose half

1шт.

31

K921217

PLUG

dust, tractor coupling

2шт.

K200645

CAP

dust, hose coupling

1шт.

32

K626794

WASHER

special

2шт.

33

K924710

HOSE

PIPE flexible, 1/2 BSP - 3/4 UNF x 16-1/4 inch

2шт.

34

K622114

FITTING

ELBOW, 3/4 inch NF

2шт.

35

K945364

PIPE

CONNECTOR street

1шт.

Выбрано товаров: 74