Запчасти Case IH 1210 (3-08) - FUEL TANK (03) - FUEL SYSTEM

Схема запчастей Case IH 1210 - (3-08) - FUEL TANK (03) - FUEL SYSTEM
6
5
19
20
22
9
11
14
21
1
13
2
18
26
8
3
10
15
12
4
6
17
7
25
24
23
16
FIT
1:1
100%

Артикул

Название

Примечание

Количество

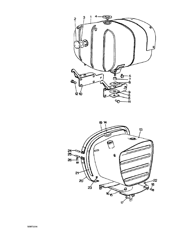
1

K962167

TANK

ASSEMBLY fuel, used with 1210 and 1210G tractors (Replaces tank assembly K962381), Includes: Ref. 2 - 5 and Washer

1шт.

1

K965000

TANK

ASSEMBLY fuel, used with 1212 and 1212G tractors (Replaces tank assembly K962922), Includes: Ref. 2 - 5 and Washer

1шт.

2

K962140

PLATE

blanking, fuel gauge

1шт.

3

K916485

GASKET

blanking plate

1шт.

K617980

STUD

No. 10 NF x 11/16 inch

5шт.

492-11010

LOCK WASHER,#10

WASHER, LOCK, (Replaces washer K626340) #10

5шт.

225-14210

NUT,#10-32

(Replaces nut K617080) #10-32

5шт.

4

K304590

CAP

filler (Replaces cap K901983)

1шт.

5

K19581

PLUG

drain, 1/4 BSP

1шт.

K19501

WASHER

fibre, 1/2 inch

1шт.

6

K916448

INSULATOR BLOCK

WASHER, used with 1210, 1210G, 1212 and 1212G tractors

6шт.

7

A30015

NEEDLE BEARING,0.375" ID x 0.563" OD x 0.625"

TUBE distance, used with 1210, 1210G, 1212 and 1212G tractors (Replaces tube K916450)

3шт.

8

K916449

WASHER

PLATE clamping, used with 1210, 1210G, 1212 and 1212G tractors

3шт.

413-624

BOLT,Hex, 3/8" - 16 x 1-1/2", Gr 5

hex, 3/8 NC x 1-1/2 inch, used with 1210, 1210G, 1212 and 1212G tractors (Replaces bolt K600404)

1шт.

280136

NUT,3/8"-16, G8

Used with 1210, 1210G, 1212 and 1212G tractors 3/8"-16, G8

2шт.

492-11038

LOCK WASHER,3/8"

used with 1210, 1210G, 1212 and 1212G tractors (Replaces washer K19482) 3/8"

3шт.

9

K928257

SUPPORT

BRACKET, left-hand, used with 1210, 1210G, 1212 and 1212G tractors

1шт.

10

K928256

SUPPORT

BRACKET, right-hand, used with 1210, 1210G, 1212 and 1212G tractors, no longer available

1шт.

11

413-614

BOLT,Hex, 3/8" - 16 x 7/8", Gr 5

Used with 1210, 1210G, 1212 and 1212G tractors (Replaces screw K602983) Hex, 3/8"-16 x 7/8", G5, Full Thd

3шт.

12

413-612

BOLT,Hex, 3/8" - 16 x 3/4", Gr 5

Used with 1210, 1210G, 1212 and 1212G tractors (Replaces bolt K602982) Hex, 3/8"-16 x 3/4", G5, Full Thd

3шт.

K19472

WASHER

flat, 3/8 inch, used with 1210, 1210G, 1212 and 1212G tractors

6шт.

492-11038

LOCK WASHER,3/8"

used with 1210, 1210G, 1212 and 1212G tractors (Replaces washer K19482) 3/8"

6шт.

13

K949666

TANK

ASSEMBLY fuel, used with 1210Q, 1212Q, 1210Sk and 1212Sk tractors, no longer available, Includes: Ref. 14

1шт.

14

K304590

CAP

filler (Replaces filler cap K901983)

1шт.

15

K19591

PLUG

drain, 1/8 BSP, used with 1210Q, 1212Q, 1210Sk and 1212Sk tractors

1шт.

K19504

WASHER,9.92mm ID x 14.29mm OD x 2mm Thk

fibre, 3/8 inch, used with 1210Q, 1212Q, 1210Sk and 1212Sk tractors

1шт.

16

K955748

CONTACT

SUPPORT fuel tank, used with 1210Q and 1212Q tractors with serial number 11158600 and after, no longer available

1шт.

16

K951460

TANK

SUPPORT fuel, used with 1210Q and 1212Q tractors with serial numbers prior to 11158600, no longer available

1шт.

16

K953821

TANK

SUPPORT fuel, used with 1210Sk and 1212Sk tractors, no longer available

1шт.

17

413-732

BOLT,Hex, 7/16" - 14 x 2", Gr 5

hex, support to cab, 7/16 NC x 2 inch, used with 1210Q and 1212Q tractors

2шт.

492-11044

LOCK WASHER,7/16"

WASHER, LOCK, , Support to cab, used with 1210Q and 1212Q tractors (Replaces washer K626344) 7/16"

2шт.

18

413-614

BOLT,Hex, 3/8" - 16 x 7/8", Gr 5

Support to cab, four used with 1210Q and 1212Q tractors, six used with 1210Sk and 1212Sk tractors (Replaces setscrew K602983) Hex, 3/8"-16 x 7/8", G5, Full Thd

1шт.

K19472

WASHER

flat, support to cab, 3/8 inch, four used with 1210Q and 1212Q tractors, six used with 1210Sk and 1212Sk tractors

1шт.

492-11038

LOCK WASHER,3/8"

support to cab, four used with 1210Q and 1212Q tractors, six used with 1210Sk and 1212Sk tractors (Replaces washer K19482) 3/8"

1шт.

425-106

NUT,3/8"-16, Cl 5

Support to cab, four used with 1210Q and 1212Q tractors, six used with 1210Sk and 1212Sk tractors (Replaces nut K607045) 3/8"-16, G5

1шт.

19

K951472

STRAP

upper, used with 1210Q, 1212Q, 1210Sk and 1212Sk tractors, no longer available

2шт.

20

K951478

STRAP

lower, used with 1210Q, 1212Q, 1210Sk and 1212Sk tractors, no longer available

2шт.

21

K953479

TAPE

STRIP packing, cut from bulk roll RK953479 below

1шт.

22

K627718

GROMMET,3/8" ID x 5/8" Groove Dia

fuel tank support, used with 1210Q, 1212Q, 1210Sk and 1212Sk tractors

2шт.

23

K604094

SCREW

set, 1/4 NC x 5/8 inch, straps to bracket, used with 1210Q, 1212Q, 1210Sk and 1212Sk tractors

8шт.

492-11025

LOCK WASHER,1/4"

WASHER, LOCK, , Straps to bracket, used with 1210Q, 1212Q, 1210Sk and 1212Sk tractors 1/4"

8шт.

425-104

NUT,1/4"-20, Cl 5

Straps to bracket, used with 1210Q, 1212Q, 1210Sk and 1212Sk tractors 1/4"-20, G5

8шт.

24

K951540

TRUNNION

plain, used with 1210Q, 1212Q, 1210Sk and 1212Sk tractors, no longer available

2шт.

25

K951539

TRUNNION

1/4 inch NC, used with 1210Q, 1212Q, 1210Sk and 1212Sk tractors

2шт.

26

K602744

BOLT

hex, 1/4 NC x 3-1/4 inch, used with 1210Q, 1212Q, 1210Sk and 1212Sk tractors, no longer used

2шт.

RK953479

TAPE

STRIP bulk, 590 inch (15 meters) long

1шт.

Выбрано товаров: 46