Запчасти Case IH 1210 (6-28) - GEARBOX ASSEMBLIES, HOUSING AND SELECTOR MECHANISM, 1210, 1210 4WD, 1210G AND 1210G 4WD TRACTORS (06) - POWER TRAIN

Схема запчастей Case IH 1210 - (6-28) - GEARBOX ASSEMBLIES, HOUSING AND SELECTOR MECHANISM, 1210, 1210 4WD, 1210G AND 1210G 4WD TRACTORS (06) - POWER TRAIN
10
9
18
25
19
24
29
20
21
28
21
8
7
23
2
5
12
15
30
6
16
3
22
4
1
27
17
32
13
26
14
21
31
11
FIT
1:1
100%

Артикул

Название

Примечание

Количество

K941115

GEARBOX

complete, 12 speed synchromesh, used with 1210 tractors

1шт.

K941116

BOX

GEARBOX complete, 12 speed synchromesh, used with 1210 four-wheel drive tractors, no longer available

1шт.

K941117

BOX

GEARBOX complete, 12 speed synchromesh, used with 1210G tractors, no longer available

1шт.

K941118

BOX

GEARBOX complete, 12 speed synchromesh, used with 1210G four-wheel drive tractors, no longer available

1шт.

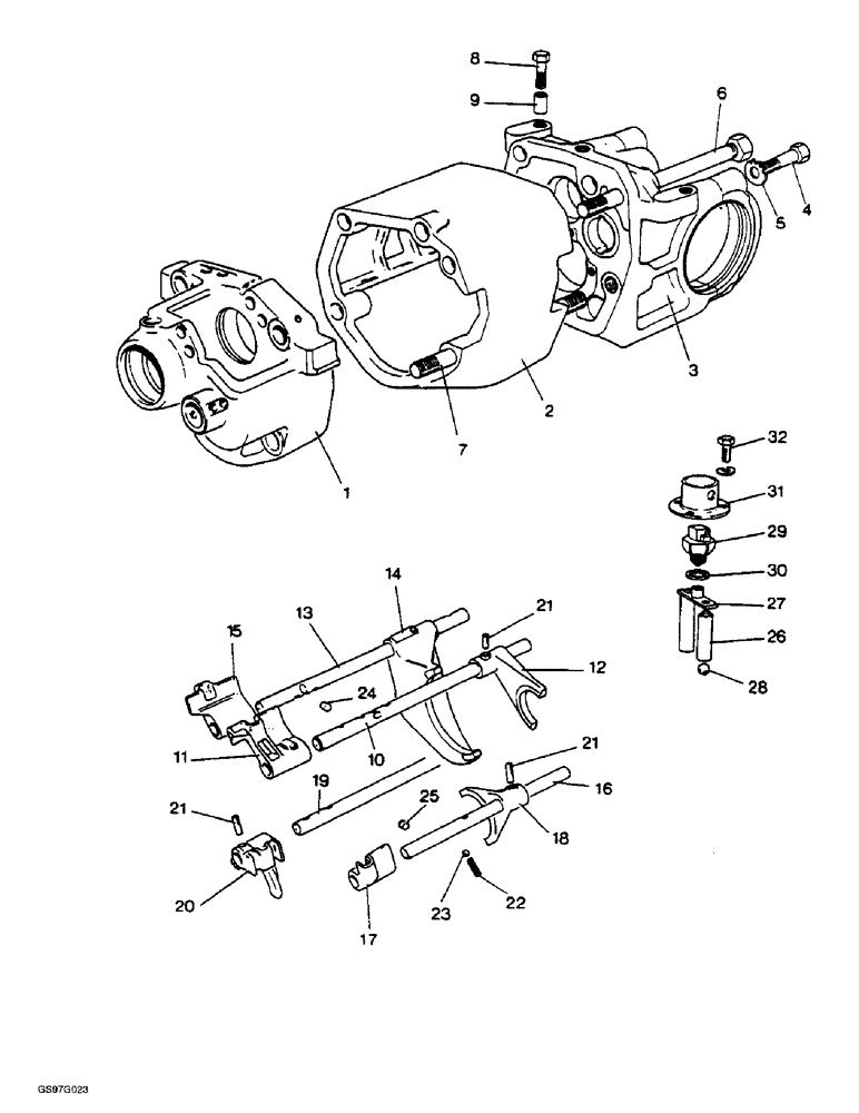
1

K917726

PLATE

end, front, housing and selector mechanism

1шт.

2

K949893

BUSHING

SPACER end plates, housing and selector mechanism

1шт.

3

K964779

PLATE

ASSEMBLY rear, includes bearing caps, used with 1210 and 1210 four-wheel drive tractors, no longer available, order Ref. 33 - 35 on Figure 6-28, housing and selector mechanism, Includes: Ref. 4 and 5

1шт.

3

K922866

SUPPORT

PLATE ASSEMBLY rear, includes brake housing, used with 1210G and 1210G four-wheel drive tractors, no longer available, selector mechanism, Includes: Ref. 4 and 5

1шт.

4

26-1060

BOLT,Hex, 5/8" - 11 x 3-3/4", Gr 8

hex, 5/8 NC x 3-3/4 inch, used with 1210 and 1210 four-wheel drive tractors (Replaces bolt K601242), housing and selector mechanism

4шт.

4

K608609

STUD

5/8 NC x 6-3/8 inch, used with 1210G and 1210G four-wheel drive tractors, no longer available, housing and selector mechanism

4шт.

129-107

NUT,5/8"-11, G5

Used with 1210G and 1210G four-wheel drive tractors (Replaces nut K607006), housing and selector mechanism 5/8"-11, G5

4шт.

5

K626389

BEARING WASHER

WASHER tab, housing and selector mechanism

4шт.

6

K940990

STUD

BOLT hex, 5/8 NC x 14-1/4 inch, housing and selector mechanism

2шт.

7

K940991

STUD

5/8 NC x 14-1/4 inch, housing and selector mechanism

2шт.

K607331

NUT

hex, self-locking, 5/8 inch NC, housing and selector mechanism

4шт.

8

K601306

BOLT

special, gearbox mounting, 5/8 NC x 2-1/2 inch, no longer available, housing and selector mechanism

2шт.

9

K920656

BUSHING

BUSHING gearbox mounting, housing and selector mechanism

2шт.

K626239

SHIM,.010" Thk

Gearbox mounting, Housing and selector mechanism .010" Thk

1шт.

10

K949137

SELECTOR

ROD, first and reverse (Replaces rod K943845), housing and selector mechanism

1шт.

11

K915496

SELECTOR

JAW, first and reverse, housing and selector mechanism

1шт.

12

K942472

SELECTOR

FORK, first and reverse, housing and selector mechanism

1шт.

13

K943846

SELECTOR

ROD, second and third, housing and selector mechanism

1шт.

14

K940986

SHIFTER FORK

selector, second and third, housing and selector mechanism

1шт.

15

K915497

SELECTOR

JAW, second and third, housing and selector mechanism

1шт.

16

K943848

SELECTOR

ROD, high-low, housing and selector mechanism

1шт.

17

K915498

SELECTOR

JAW, high-low, housing and selector mechanism

1шт.

18

K915501

SELECTOR

FORK, high-low, housing and selector mechanism

1шт.

19

K917734

SELECTOR

ROD, slow-normal, housing and selector mechanism

1шт.

20

K915491

SELECTOR

FORK, slow-normal, housing and selector mechanism

1шт.

21

K623887

PIN,5.21mm OD x 25.4mm L

3/16 x 1-1/8 inch (Replaces pin K623748), housing and selector mechanism

7шт.

22

K13507

SPRING

selector rod, housing mechanism

4шт.

23

211-1012

BALL,3/8" Dia

chrome alloy steel, 3/8 inch, grade 24 (Replaces ball K13506), housing and selector mechanism

4шт.

24

K30430

LOCKING DEVICE

gear, first, second, third and reverse, housing and selector mechanism

1шт.

25

K915492

DOWEL

LOCK gear, high-low, housing and selector mechanism

1шт.

26

K945208

PLUNGER

safety switch, no longer available, housing and selector mechanism

1шт.

27

K945204

PLUNGER

PLATE, housing and selector mechanism

1шт.

28

211-1012

BALL,3/8" Dia

chrome alloy steel, 3/8 inch, grade 24 (Replaces ball K13506), housing and selector mechanism

2шт.

29

K262714

SWITCH

safety, starter (Replaces switches K940288 and K200652), housing and selector mechanism

1шт.

30

K626895

SHIM,.002" Thk

Housing and selector mechanism .002" Thk

1шт.

30

K626858

SHIM,.005" Thk

Housing and selector mechanism .005" Thk

1шт.

30

K626894

SHIM,.010" Thk

Housing and selector mechanism .010" Thk

1шт.

31

K940284

COVER

safety switch, housing and selector mechanism

1шт.

32

413-48

BOLT,Hex, 1/4" - 20 x 1/2", Gr 5

(Replaces setscrew K602734), housing and selector mechanism Hex, 1/4"-20 x 1/2", G5, Full Thd

3шт.

492-11025

LOCK WASHER,1/4"

WASHER, LOCK, (Replaces washer K626341), housing and selector mechanism 1/4"

3шт.

33

K200516

PLATE

end, rear, with bearing caps, not shown, housing and selector mechanism

1шт.

34

K620158

TAPERED BEARING

tapered roller, not shown, housing and selector mechanism

1шт.

35

K626983

SHIM,.002" Thk

Bevel pinion, Not shown, Housing and selector mechanism .002" Thk

1шт.

36

K626984

SHIM,.005" Thk

Bevel pinion, Not shown, Housing and selector mechanism .005" Thk

1шт.

37

K626985

SHIM

bevel pinion, 0.015 inch thick, not shown, housing and selector mechanism

1шт.

38

K626986

SHIM,.030" Thk

Bevel pinion, Not shown, Housing and selector mechanism .030" Thk

1шт.

Выбрано товаров: 50