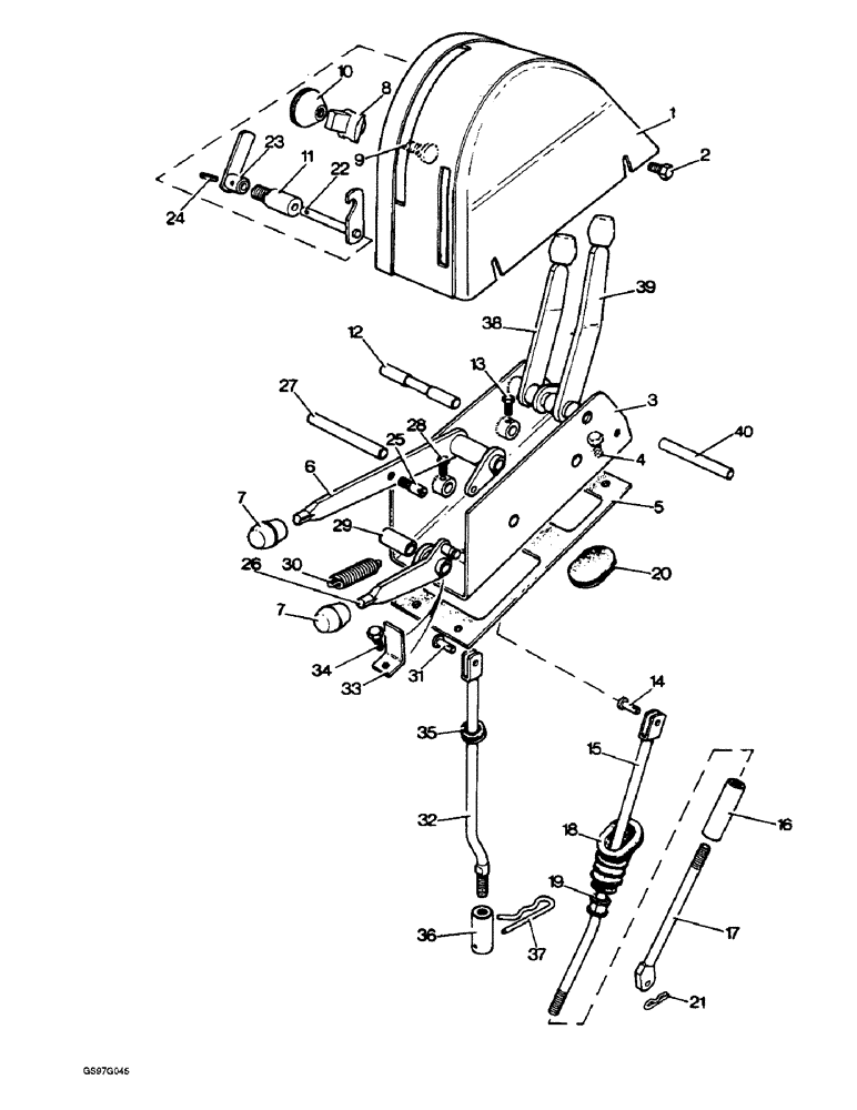
Запчасти Case IH 1210 (8-16) - CONTROL LEVERS AND QUADRANT, 1210Q, 1212Q, 1210SK AND 1212SK TRACTORS FOR EUROPE ONLY (08) - HYDRAULICS

Схема запчастей Case IH 1210 - (8-16) - CONTROL LEVERS AND QUADRANT, 1210Q, 1212Q, 1210SK AND 1212SK TRACTORS FOR EUROPE ONLY (08) - HYDRAULICS
22
26
5
20
7
33
37
25
21
28
23
11
16
7
9
10
4
17
18
35
24
1
8
29
3
36
30
27
13
40
31
19
39
12
38
32
34
14
15
6
2
FIT
1:1
100%

Артикул

Название

Примечание

Количество

1

K950732

PANEL

QUADRANT control lever, no longer available

1шт.

2

K602846

SCREW,5/16" - 18 x 5/8", Gr S

set, quadrant to housing, 5/16 NC x 5/8 inch

4шт.

K626682

WASHER

flat, quadrant to housing, 5/16 inch

4шт.

3

K950733

LEVER

HOUSING control levers, no longer available

1шт.

4

K602846

SCREW,5/16" - 18 x 5/8", Gr S

set, housing to cab floor, 5/16 NC x 5/8 inch

4шт.

492-11031

LOCK WASHER,5/16"

WASHER, LOCK, , housing to cab floor (Replaces washer K19481) 5/16"

4шт.

5

K950882

MAT

rubber, housing to cab floor, no longer available

1шт.

6

K950758

LEVER

control, hydraulic system, no longer available

1шт.

7

K950493

KNOB

control levers

2шт.

8

K947403

BRACKET

GUIDE finger, used with tractor serial numbers, Serial Range: prior-11158600

2шт.

8

K951430

HOSE

GUIDE finger, used with tractor serial number 11158600 and after, no longer available

2шт.

9

K909577

STUD

special, 5/16 inch NF

2шт.

10

K921826

SERRATED NUT

hand, 5/16 inch NF

2шт.

11

K952324

STOP

control lever, no longer available

1шт.

K626314

WASHER

flat, stop to quadrant, 7/16 inch (Replaces washer K19473)

1шт.

492-11044

LOCK WASHER,7/16"

WASHER, LOCK, , Stop to quadrant (Replaces washer K19483) 7/16"

1шт.

B88348

NUT

hex, 7/16 inch NF (Replaces nut K616983)

1шт.

12

K950862

SHAFT

control lever

1шт.

13

K619204

SCREW

set, No. 10 NF x 1/2 inch, no longer available

1шт.

14

K950866

LARGE PIN

clevis, 1/4 x 13/16 inch

1шт.

132-328

COTTER PIN,1/16" x 1/2"

PIN, SPLIT (COTTER), (Replaces pin K623605) 1/16" x 1/2"

1шт.

15

K950843

ROD

control, long, no longer available

1шт.

B88347

3/8 inch NF (Replaces nut K616982)

1шт.

16

K950846

NUT

SLEEVE adjusting, 3/8 inch NF

1шт.

129-289

JAM NUT,Jam, 3/8"-24, G5, LH

(Replaces nut K622808) Jam, 3/8"-24, G5, LH

1шт.

17

K951295

ROD

control, short

1шт.

18

K950691

SEAL

GAITER control rod, no longer available

1шт.

19

K950871

BUSHING

nylon, two halves, no longer available

2шт.

20

K627734

GROMMET

control rod, no longer available

2шт.

21

K950865

CLIP

spring, control rod

1шт.

K626662

WASHER

flat, 1/4 inch (Replaces washer K19470)

1шт.

22

K952325

CATCH

control lever, no longer available

1шт.

23

K952328

CATCH

LEVER control, if used

1шт.

24

138-38

LOCK PIN,3/32" x 9/16", Slotted

roll, 3/32 x 5/8 inch, if used (Replaces pin K623973)

1шт.

25

K952336

STOP

STUD special, 1/4 inch NC, if used

1шт.

492-11025

LOCK WASHER,1/4"

WASHER, LOCK, , If used (Replaces washer K19480) 1/4"

1шт.

425-104

NUT,1/4"-20, Cl 5

If used (Replaces nut K607043) 1/4"-20, G5

1шт.

26

K950769

LEVER

control, dump valve

1шт.

27

K950863

SHAFT

dump lever

1шт.

28

K614021

SET SCREW,#10 - 32 x 1/2"

set, No. 10 NF x 1/2 inch (Replaces screw K613984)

1шт.

29

K950898

BUSHING

SPACER control lever

1шт.

30

K624922

SPRING

return

1шт.

31

K950866

LARGE PIN

clevis, 1/4 x 13/16 inch

1шт.

432-48

COTTER PIN,1/16" x 1/2"

PIN, SPLIT (COTTER), (Replaces pin K623605) 1/16" x 1/2"

1шт.

32

K951301

VALVE

ROD connecting, dump valve, no longer available

1шт.

33

K952523

BRACKET

LEVER stop bracket, no longer available

1шт.

34

K602846

SCREW,5/16" - 18 x 5/8", Gr S

set, bracket to cab floor, 51/6 NC x 5/8 inch

1шт.

492-11031

LOCK WASHER,5/16"

WASHER, LOCK, , bracket to cab floor (Replaces washer K19481) 5/16"

1шт.

35

K950867

GROMMET

connecting rod, no longer available

1шт.

36

K950894

CONNECTOR, ELEC

SLEEVE, no longer available

2шт.

K616891

WASHER

NUT hex, 1/4 inch NF, no longer available

2шт.

37

K624874

SPRING

CLIP

1шт.

38

K950762

LEVER

hand, live take-off valve, no longer available

1шт.

39

K950766

LEVER

hand, live take-off valve, no longer available

1шт.

40

K950863

SHAFT

hand levers

1шт.

Выбрано товаров: 55