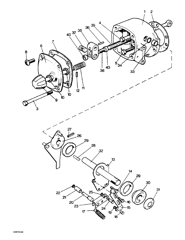
Запчасти Case IH 1210 (8-20) - LOWERING CONTROL, 1210Q, 1212Q, 1210SK AND 1212SK TRACTORS FOR EUROPE ONLY (08) - HYDRAULICS

Схема запчастей Case IH 1210 - (8-20) - LOWERING CONTROL, 1210Q, 1212Q, 1210SK AND 1212SK TRACTORS FOR EUROPE ONLY (08) - HYDRAULICS
33
38
24
20
8
31
11
32
2
35
16
10
17
26
19
27
37
22
4
14
29
5
15
10
21
1
34
3
18
12
25
40
40
39
13
9
7
36
28
29
6
23
30
FIT
1:1
100%

Артикул

Название

Примечание

Количество

1

K949656

HOUSING

lowering control, no longer available

1шт.

2

K903026

GASKET

housing to rear axle housing

1шт.

3

K600224

BOLT

hex, housing to rear axle housing, 5/16 NC x 4-3/4 inch, no longer available

1шт.

4

413-524

BOLT,Hex, 5/16" - 18 x 1-1/2", Gr 5

hex, housing to rear axle housing, 5/16 NC x 1-1/2 inch (Replaces bolt K600205)

1шт.

5

413-516

BOLT,Hex, 5/16" - 18 x 1", Gr 5

hex, housing to rear axle housing, 5/16 NC x 1 inch

1шт.

492-11031

LOCK WASHER,5/16"

WASHER, LOCK, , housing to rear axle housing 5/16"

3шт.

6

K951091

COVER

lowering control housing, no longer available

1шт.

7

K949658

GASKET

housing cover

1шт.

8

413-510

BOLT,Hex, 5/16" - 18 x 5/8", Gr 5

Cover to housing (Replaces setscrew K602802) Hex, 5/16"-18 x 5/8", G5, Full Thd

3шт.

492-11031

LOCK WASHER,5/16"

WASHER, LOCK, , cover to housing (Replaces washer K19481) 5/16"

3шт.

9

K950970

CASTING

KNOB lowering control, no longer available

1шт.

10

K909573

DISC

friction

2шт.

11

K24887

SPRING

lowering control knob

1шт.

K19472

WASHER

flat, 3/8 inch

2шт.

12

38-1812

LOCK PIN,1/8" x 3/4", Slotted

Pin, (replaces pin K623930) 1/8" x 3/4", Slotted

1шт.

13

K950555

BRACKET

PLATE friction, no longer available

1шт.

14

K602846

SCREW,5/16" - 18 x 5/8", Gr S

set, plate to housing, 5/16 NC x 5/8 inch

2шт.

492-11031

LOCK WASHER,5/16"

WASHER, LOCK, , plate to housing (Replaces washer K19481) 5/16"

2шт.

15

K949541

SPRING

CARRIER

1шт.

16

413-48

BOLT,Hex, 1/4" - 20 x 1/2", Gr 5

Carrier to plate (Replaces setscrew K602734) Hex, 1/4"-20 x 1/2", G5, Full Thd

2шт.

492-11025

LOCK WASHER,1/4"

WASHER, LOCK, , Carrier to plate (Replaces washer K19480) 1/4"

2шт.

17

K950773

SPRING

tension

1шт.

18

K949554

PIN

clevis

1шт.

19

K621482

RING, SNAP

5/16 inch

1шт.

20

K949543

PIN

return lever

1шт.

21

K949544

ROLLER

return lever

1шт.

22

100-1125

SNAP RING,#25, Ext

Ring, Snap, (Replaces ring K24568) #25, Ext

1шт.

23

K949542

SPRING

LEVER return

1шт.

24

K949545

PIN

pivot, 1/4 x 3/4 inch

2шт.

25

100-1125

SNAP RING,#25, Ext

Ring, Snap, (Replaces ring K24568) #25, Ext

2шт.

26

K950836

LEVER

friction

1шт.

27

38-11020

LOCK PIN,5/32" x 1 1/4", Slotted

Pin, (Replaces pin K623942) 5/32" x 1 1/4", Slotted

1шт.

28

37-1316

DOWEL,3/16" x 1"

PIN (Replaces pin K621811)

2шт.

29

K262715

WASHER

friction (Replaces washer K909582)

2шт.

30

K950864

PLATE

friction

1шт.

31

K626740

WASHER

Belleville, 5/8 inch

2шт.

K626686

WASHER

flat, 1/2 inch

1шт.

425-148

JAM NUT,Jam, 1/2"-13, G5

(Replaces nut K607084) Jam, 1/2"-13, G5

1шт.

K607804

NUT

hex, 1/2 inch NC

1шт.

32

K949266

SHAFT

friction lever

1шт.

33

K627068

BUSHING

SLEEVE plastic

1шт.

34

K623424

RING

sealing, 1/2 inch

1шт.

35

K909584

FORK

connecting rod

1шт.

36

38-31016

PIN,5/32" x 1", Coiled

(Replaces pin K623940) 5/32" x 1", Coiled

1шт.

37

K903370

PIN

fork

1шт.

38

K909585

ROD

connecting

1шт.

39

K625161

SPRING

connecting rod

1шт.

40

K903367

COLLAR

connecting rod

2шт.

K964098

NUT

hex, self-locking, 5/16 inch NC (Replaces nut K607326)

1шт.

Выбрано товаров: 0