Запчасти Case IH 1210 (E34) - SELECTAMATIC HYDRAULIC SYSTEM, SINGLE RATE SENSING UNIT, 885, 990, 995, 996 AND 1210 TRACTORS (07) - HYDRAULIC SYSTEM

Схема запчастей Case IH 1210 - (E34) - SELECTAMATIC HYDRAULIC SYSTEM, SINGLE RATE SENSING UNIT, 885, 990, 995, 996 AND 1210 TRACTORS (07) - HYDRAULIC SYSTEM
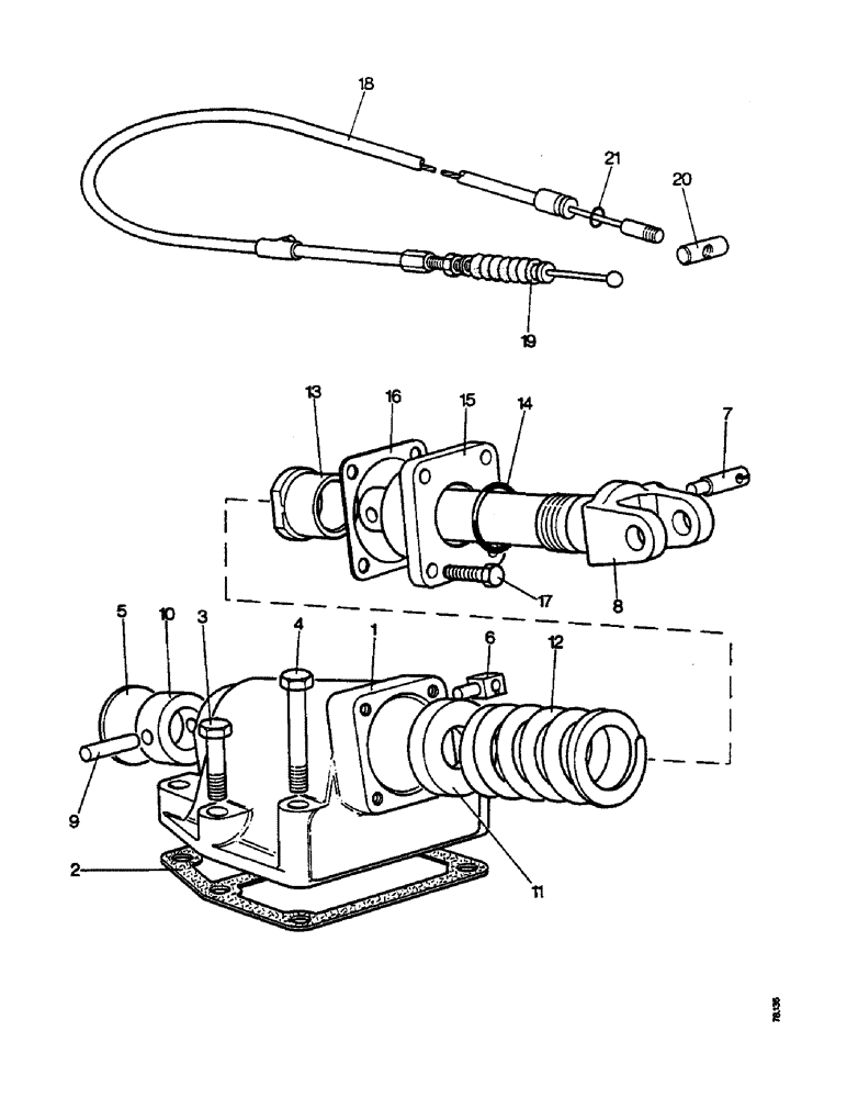
3
12
4
13
8
21
16
17
20
14
15
9
5
1
10
6
11
7
18
2
19
FIT
1:1
100%

Артикул

Название

Примечание

Количество

1

K915092

SPRING

HOUSING

1шт.

219-8

LUBE NIPPLE,1/4" - 28 NPTF

NIPPLE, LUBE, , ANF 1/4"-28 NPT x .54" lg

1шт.

2

K926451

GASKET,0.56mm Thk

1шт.

3

K600805

BOLT

1/2 UNC x 1-7/8 in

4шт.

4

K600815

BOLT

1/2 UNC x 3-1/4 in

2шт.

K19484

LOCK WASHER

SPRING WASHER, 1/2 in

6шт.

5

K623813

PLUG

WELCH PLUG, 2-3/8 in dia.

1шт.

6

K912371

CABLE

SUPPORT, outer

1шт.

7

K913852

LARGE PIN

CABLE SUPPORT, inner

1шт.

8a

K919726

SHAFT

(except 885)

1шт.

8b

K915258

SHAFT

(885)

1шт.

9

K915117

PIN

RETAINING PIN

1шт.

10

K915266

COLLAR

1шт.

11a

K915101

WASHER

THRUST WASHER, 0.375 in, alternatives

1шт.

11b

K915112

WASHER

THRUST WASHER, 0.355 in, alternatives

1шт.

11c

K915113

WASHER

THRUST WASHER, 0.365 in, alternatives

1шт.

11d

K915114

WASHER

THRUST WASHER, 0.385 in, alternatives

1шт.

11e

K915115

WASHER

THRUST WASHER, 0.395 in, alternatives

1шт.

11f

K915116

WASHER

THRUST WASHER, 0.405 in, alternatives

1шт.

12a

K915103

SPRING

(except 885)

1шт.

12b

K915263

SPRING

(885)

1шт.

13a

K915259

SLEEVE

(except 885)

1шт.

13b

K915262

SLEEVE

(885)

1шт.

14

K623556

O-RING,0.139" Thk x 1.859" ID, -225, Cl 5, 75 Duro

'O' RING, 1-7/8 in internal dia.

1шт.

15

K915261

FLANGE

END PLATE

1шт.

16

K915096

SHIM,.005" Thk

1шт.

K915097

SHIM,.010" Thk

1шт.

K915098

SHIM,.030" Thk

1шт.

17

413-618

BOLT,Hex, 3/8" - 16 x 1-1/8", Gr 5

SETSCREW, 3/8 UNC x 1-1/8 in

4шт.

K19482

SPRING WASHER

SPRING WASHER, 3/8 in

4шт.

18a

K963417

LINK

CABLE, with dirt excluder (except 885)

1шт.

18b

K962896

LINK

CABLE, with dirt excluder (885)

1шт.

19

K911970

BOOT

DIRT EXCLUDER

1шт.

219-8

LUBE NIPPLE,1/4" - 28 NPTF

NIPPLE, LUBE, , ANF 1/4"-28 NPT x .54" lg

1шт.

20

K915053

FITTING

(except 885)

1шт.

K617080

NUT

No. 10 UNF (except 885)

2шт.

21

K690702

O-RING,1.59mm Thk x 6.75mm ID, 80 Duro

'O' RING, 1/4 in internal dia.

1шт.

Выбрано товаров: 37