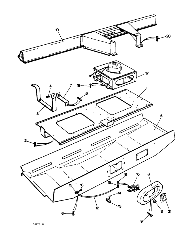
Запчасти Case IH 1212 (9-098) - CAB HEATER, 1210Q AND 1212Q TRACTORS FOR EUROPE WITH SERIAL NUMBER 11158600 AND AFTER (09) - CHASSIS/ATTACHMENTS

Схема запчастей Case IH 1212 - (9-098) - CAB HEATER, 1210Q AND 1212Q TRACTORS FOR EUROPE WITH SERIAL NUMBER 11158600 AND AFTER (09) - CHASSIS/ATTACHMENTS
6
15
7
14
19
12
18
17
20
9
6
16
15
13
11
4
3
21
2
8
1
5
10
16
FIT
1:1
100%

Артикул

Название

Примечание

Количество

1

K951420

BASE

PLATE cab heater, no longer available

1шт.

2

K602845

BOLT,Hex Hd, 5/16"-18 x 3/4"

set, baseplate to supports 5/16 NC x 3/4 inch

6шт.

492-11031

LOCK WASHER,5/16"

WASHER, LOCK, , baseplate to supports (Replaces washer K19481) 5/16"

6шт.

3

K952504

SUPPORT

BRACKET baseplate, no longer available

3шт.

4

K602845

BOLT,Hex Hd, 5/16"-18 x 3/4"

set, support brackets to cab, 5/16 NC x 3/4 inch

6шт.

492-11031

LOCK WASHER,5/16"

WASHER, LOCK, , support brackets to cab (Replaces washer K19481) 5/16"

6шт.

425-105

NUT,5/16"-18, G5

- hex, support brackets to cab 5/16 inch NC (Replaces nut K607044)

6шт.

5

K953373

COVER

cab heater, no longer available

1шт.

6

K624528

SCREW

self-tapping, No. 6 x 5/8 inch, no longer available

14шт.

K626760

WASHER

cup, No. 6, no longer available

14шт.

7

K953390

SUPPORT

BRACKET heater cover, no longer available

2шт.

8

K953372

PANEL

control, no longer available

1шт.

9

K624529

PAN

SCREW self-tapping, No. 6 x 7/8 inch, no longer available

4шт.

10

K952101

VALVE, CONTROL

water no longer available

1шт.

11

K952783

KNOB

water control, no longer available

1шт.

12

K952103

CABLE

flexible, inner and outer, no longer available

1шт.

13

K621681

CLIP

cable to radiator flange

1шт.

14

413-58

BOLT,Hex, 5/16" - 18 x 1/2", Gr 5

hex, cable to radiator flange, 5/16 NC x 1/2 inch (Replaces setscrew K602840)

1шт.

492-11031

LOCK WASHER,5/16"

WASHER, LOCK, , cable to radiator flange (Replaces washer K19481) 5/16"

1шт.

425-105

NUT,5/16"-18, G5

- hex, cable to radiator flange, 5/16 inch NC (Replaces nut K607044)

1шт.

15

K952104

TRUNNION

inner cable

2шт.

16

70-1086

SCREW,Slotted Pan Hd, #8-32 x 3/8"

set, trunnion, No. 8 NC x 3/8 inch (Replaces screw K605578)

2шт.

17

K953872

FAN

ASSEMBLY cab heater, no longer available, Includes: Plate and Screw

1шт.

K951514

PLATE

blanking, no longer available

1шт.

K624524

SCREW

self-tapping, No. 6 x 3/8 inch, no longer available

4шт.

18

413-48

BOLT,Hex, 1/4" - 20 x 1/2", Gr 5

Fan unit to baseplate (Replaces setscrew K602734) Hex, 1/4"-20 x 1/2", G5, Full Thd

4шт.

492-11025

LOCK WASHER,1/4"

WASHER, LOCK, , Fan, unit to baseplate (Replaces washer K626341) 1/4"

4шт.

425-104

NUT,1/4"-20, Cl 5

Fan unit to baseplate (Replaces nut K607043) 1/4"-20, G5

4шт.

19

K951440

DUCT

demister, no longer available

1шт.

20

K624528

SCREW

self-tapping, No. 6 x 5/8 inch

14шт.

K952699

SEALING STRIP

STRIP sealing, 6 x 20 mm x 11-3/8 inch (289 mm) long, no longer available

2шт.

K952700

TAPE

STRIP sealing, 6 x 20 mm x 8 inch (203 mm) long, no longer available

2шт.

K952701

TAPE

STRIP sealing, 6 x 20 mm x 2 inch (51 mm) long, no longer available

3шт.

K952706

TAPE

STRIP sealing, 6 x 12 mm x 9-1/2 inch (241 mm) long, no longer available

2шт.

K952705

TAPE

STRIP sealing, 6 x 12 mm x 25-3/4 inch (654 mm) long, no longer available

2шт.

21

K953351

SWITCH

heater fan, Lucas 5430620, no longer available

1шт.

Выбрано товаров: 0