Запчасти Case IH 1212 (5-26) - STUB AXLE AND FRONT HUBS (05) - STEERING

Схема запчастей Case IH 1212 - (5-26) - STUB AXLE AND FRONT HUBS (05) - STEERING
24
22
4
6
1
12
23
11
5
9
18
20
9
19
21
13
8
3
16
7
8
15
25
2
14
10
3
17
FIT
1:1
100%

Артикул

Название

Примечание

Количество

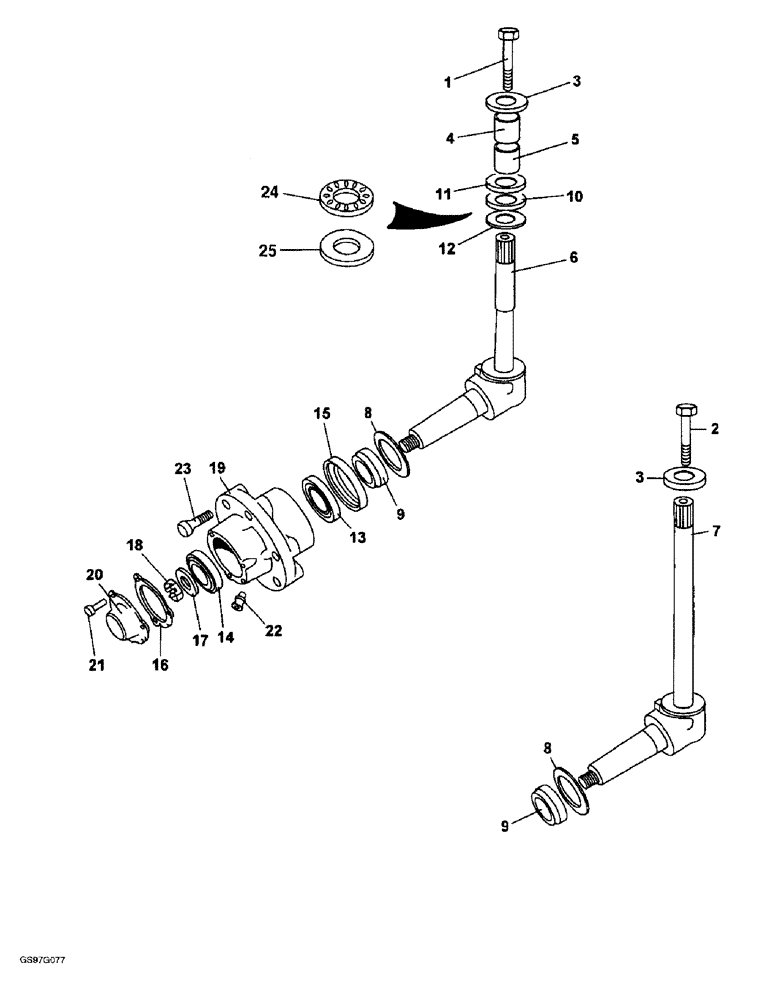
1

K601213

BOLT

hex, 5/8 NC x 3-1/4 inch, standard clearance, used with 1210, 1212, 1210Q, 1212Q, 1210Sk and 1212Sk tractors

2шт.

1

K601327

BOLT

hex, 5/8 NC x 3-1/4 inch, special, used with 1210G and 1212G tractors, no longer available

2шт.

2

413-1048

BOLT,Hex, 5/8" - 11 x 3", Gr 5

high clearance, used with 1210, 1212, 1210Q, 1212Q, 1210Sk and 1212Sk tractors (Replaces bolt K601212) Hex, 5/8"-11 x 3", G5

2шт.

3

K15595

WASHER

special, 5/8 inch

2шт.

492-11062

BEARING WASHER,5/8"

WASHER, LOCK, (Replaces washer K19485) 5/8"

2шт.

4

K262775

COMPOSITE RING

BUSHING upper, beam extension

2шт.

5

K621367

BUSHING

lower, beam extension

2шт.

6

K962019

STEERING KNUCKLE

AXLE ASSEMBLY stub, standard clearance, used with 1210, 1212, 1210Q, 1212Q, 1210Sk and 1212Sk tractors, Includes: Ref. 8 and 9

2шт.

6

K962455

DIFFERENTIAL

AXLE ASSEMBLY stub, used with 1210G and 1212G tractors, no longer available, Includes: Ref. 8 and 9

2шт.

7

K962974

SHAFT

AXLE ASSEMBLY stub, high clearance, used with 1210, 1212, 1210Q, 1212Q, 1210Sk and 1212Sk tractors, Includes: Ref. 8 and 9

2шт.

8

K910429

SPACER

EXCLUDER dirt

1шт.

9

K910428

RING RACE

SLEEVE oil seal

1шт.

10

K962325

SHAFT

BEARING thrust, stub axle, no longer available, order thrust bearing A54022 and cup K626859, Ref. 24 and 25 (Replaces bearing K620180)

2шт.

11

K626859

BEARING WASHER,44.5mm ID x 63.25mm OD x 1.6mm Thk

WASHER thrust bearing (Replaces washer K626692)

4шт.

12

K24764

O-RING

2-5/8 inch ID

2шт.

A27130

OIL SEAL

KIT bearing and seal (Replaces kit K962986), Includes: Ref. 13 - 16 and Pin

2шт.

13

ST2118

TAPERED BEARING,1.75" ID x 3.27" OD x 0.9375"

tapered roller, inner (Replaces bearing K19186)

1шт.

14

K19085

TAPERED BEARING,38.1mm ID x 72.02mm OD x 17.02mm W

tapered roller, outer

1шт.

15

B17220

CUP,83.06mm OD x 19.11mm W

SEAL oil, axle (Replaces seal K623419)

1шт.

16

K15344

GASKET,0.25mm Thk

hub cap

1шт.

432-1024

COTTER PIN,5/32" x 1 1/2"

(Replaces pin K623603) 5/32" x 1 1/2"

1шт.

17

K626321

WASHER

special, 3/4 inch

2шт.

18

25-1912

SLOTTED NUT,3/4"-16, G5, Thk

slotted, 3/4 inch NF (Replaces nut K617157)

2шт.

19

K916377

HUB

front

2шт.

20

K908913

CAP

hub

2шт.

21

413-510

BOLT,Hex, 5/16" - 18 x 5/8", Gr 5

(Replaces setscrew K602802) Hex, 5/16"-18 x 5/8", G5, Full Thd

6шт.

492-11031

LOCK WASHER,5/16"

WASHER, LOCK, (Replaces washer K19481) 5/16"

6шт.

22

219-8

LUBE NIPPLE,1/4" - 28 NPTF

NIPPLE, LUBE, , straight, taper (Replaces fitting K13176) 1/4"-28 NPT x .54" lg

2шт.

23

K600875

BOLT

wheel, 1/2 NC x 1-7/8 inch

12шт.

24

A54022

THRUST BEARING,44.56mm ID x 63.13mm OD x 1.98mm W

thrust

2шт.

25

K626859

BEARING WASHER,44.5mm ID x 63.25mm OD x 1.6mm Thk

CUP thrust bearing

2шт.

Выбрано товаров: 31