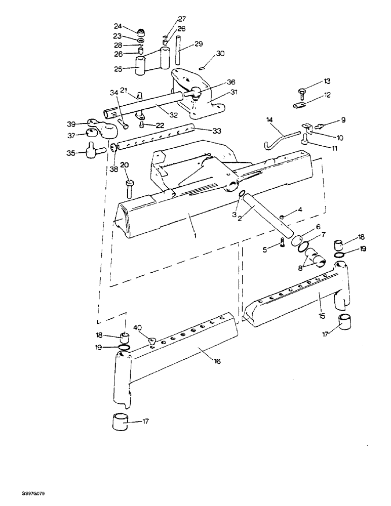
Запчасти Case IH 1212 (5-30) - FRONT AXLE BEAM, TRANSVERSE MOUNTED CYLINDER (05) - STEERING

Схема запчастей Case IH 1212 - (5-30) - FRONT AXLE BEAM, TRANSVERSE MOUNTED CYLINDER (05) - STEERING
28
11
17
16
24
18
26
27
1
10
26
5
23
2
31
36
19
13
35
4
25
34
39
8
7
38
32
20
29
19
33
22
3
17
15
18
9
37
21
40
6
14
12
30
FIT
1:1
100%

Артикул

Название

Примечание

Количество

1

K948568

SHAFT

BEAM center

1шт.

2

K947516

TRUNNION

PIN

1шт.

3

K15596

RING,3.63mm Thk x 31.34mm ID

O-RING, 1-1/4 inch ID

1шт.

4

K913092

NUT

BUSHING threaded

1шт.

5

K600505

BOLT

hex, 3/8 NC x 2-3/4 inch

1шт.

492-11038

LOCK WASHER,3/8"

(Replaces washer K19482) 3/8"

1шт.

6

K915421

WASHER

thrust

2шт.

7

K15265

O-RING,0.21" Thk x 2.1" ID, -330, Cl 5, 75 Duro

2-1/8 inch ID

2шт.

8

K15597

BUSHING

main frame

4шт.

219-8

LUBE NIPPLE,1/4" - 28 NPTF

NIPPLE, LUBE, , straight, taper (Replaces fitting K13176) 1/4"-28 NPT x .54" lg

1шт.

9

K622255

FITTING

grease, special, 1/8 BSP

1шт.

10

K948809

BRACKET

support, grease fitting

1шт.

11

413-510

BOLT,Hex, 5/16" - 18 x 5/8", Gr 5

(Replaces screw K602802) Hex, 5/16"-18 x 5/8", G5, Full Thd

1шт.

492-11031

LOCK WASHER,5/16"

WASHER, LOCK, (Replaces washer K19481) 5/16"

1шт.

12

K952592

PLATE

used with 1210Q, 1212Q, 1210Sk and 1212Sk tractors

1шт.

13

413-514

BOLT,Hex, 5/16" - 18 x 7/8", Gr 5

Hex, 5/16"-18 x 7/8", G5, Used with 1210Q, 1212Q, 1210Sk and 1212Sk tractors (Replaces setscrew K602804)

1шт.

492-11031

LOCK WASHER,5/16"

WASHER, LOCK, , used with 1210Q, 1212Q, 1210Sk and 1212Sk tractors (Replaces washer K19481) 5/16"

1шт.

425-105

NUT,5/16"-18, G5

- hex, 5/16 inch NC, used with 1210Q, 1212Q, 1210Sk and 1212Sk tractors (Replaces nut K607001)

1шт.

14

K948808

TUBE

grease fitting

1шт.

15

K962815

BEAM

EXTENSION ASSEMBLY, left-hand, Includes: Ref. 17 and 18

1шт.

16

K962816

BEAM

EXTENSION ASSEMBLY, right-hand, Includes: Ref. 17 and 18

1шт.

17

K621367

BUSHING

lower

1шт.

18

K621331

BUSHING

- upper

1шт.

219-8

LUBE NIPPLE,1/4" - 28 NPTF

NIPPLE, LUBE, , straight, taper (Replaces fitting K13176) 1/4"-28 NPT x .54" lg

2шт.

19

238-5227

O-RING,0.139" Thk x 2.109" ID, -227, Cl 5, 75 Duro

(Replaces O-ring K623524) -227, 70 Duro, 2.109" ID x .139" Thk

2шт.

20

K601661

BOLT

hex, 7/8 NC x 3-1/4 inch

4шт.

B88363

WASHER

lock, 7/8 inch (Replaces washer K626350)

4шт.

21

K948543

PIN

pivot

1шт.

22

9627874

BOLT,Hex, 5/16" - 18 x 5/8", Gr 5, Full Thd

set, 5/16 NC x 5/8 inch

1шт.

492-11031

LOCK WASHER,5/16"

WASHER, LOCK, (Replaces washer K19481) 5/16"

1шт.

23

K626921

WASHER

special, 5/8 inch

2шт.

24

231-2448

LOCK NUT,1/2"-20, GB

special, 1/2 inch NF, no longer available, order bushing K205429 and nut 231-2448

1шт.

K205429

BUSHING

pivot anchor

1шт.

231-2448

LOCK NUT,1/2"-20, GB

light hex, self-locking, 1/2 inch NF

1шт.

32-822

COTTER PIN,1/8" x 1 3/8"

(Replaces pin K19537) 1/8" x 1 3/8"

1шт.

25

K948540

LINK

ASSEMBLY pivot, Includes: Ref. 26

1шт.

26

K628741

BUSHING

link

4шт.

27

218-6114

O-RING, 5/8 ID x 3/32 inch wide (Replaces O-ring K24676)

2шт.

28

238-5016

O-RING,0.07" Thk x 0.614" ID, -16, Cl 5, 75 Duro

-016, 70 Duro, .614" ID x .070" Thk (Replaces O-ring K623540)

4шт.

29

K948542

PIVOT PIN

pivot

1шт.

30

K690732

SPRING

PIN, 3/16 x 1-3/4 inch

1шт.

31

K948584

FORK

front axle beam

1шт.

32

K945876

TUBE,25.8 mm ID x 16.25 " L

spacer, track rod

2шт.

33

K945878

ROD

track

2шт.

34

413-636

BOLT,Hex, 3/8" - 16 x 2-1/4", Gr 5

- hex, 3/8 NC x 2-1/4 inch (Replaces bolt K600563)

2шт.

492-11038

LOCK WASHER,3/8"

(Replaces washer K19482) 3/8"

2шт.

425-106

NUT,3/8"-16, Cl 5

(Replaces nut K607045) 3/8"-16, G5

2шт.

35

K207722

BALL JOINT

SOCKET ASSEMBLY track rod (Replaces socket assembly K915962), Includes: Ref. 37 - 38 and Nut

2шт.

36

K207721

BALL JOINT

SOCKET ASSEMBLY track rod (Replaces socket assembly K923766), Includes: Ref. 37 - 38 and Nut

2шт.

37

K962155

CAP

EXCLUDER dirt

1шт.

38

K622500

LOCK NUT

lock, special, 3/4 inch

1шт.

131-377

LOCK NUT,5/8"-11, GC

light hex, self-locking, 5/8 inch NF (Replaces nut K617306)

1шт.

39

K942943

LEVER

steering

2шт.

40

353-18

PLUG,Cap, .974" OD

CAPLUG, No. 12, beam extension holes (Replaces plug K628089)

12шт.

K963606

CONVERSION KIT

KIT conversion, high clearance

1шт.

Выбрано товаров: 55