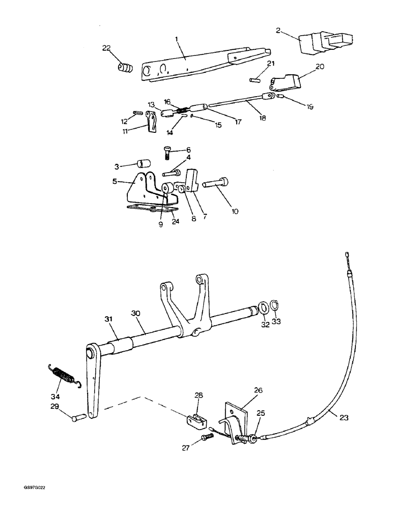
Запчасти Case IH 1212 (6-26) - HAND LEVER FOR POWER TAKE-OFF CLUTCH, 1210Q, 1212Q, 1210SK, 1212SK, 1210SKG AND 1212SKG TRACTORS (06) - POWER TRAIN

Схема запчастей Case IH 1212 - (6-26) - HAND LEVER FOR POWER TAKE-OFF CLUTCH, 1210Q, 1212Q, 1210SK, 1212SK, 1210SKG AND 1212SKG TRACTORS (06) - POWER TRAIN
22
13
27
32
8
25
34
21
4
31
9
23
20
33
30
5
28
18
17
3
29
19
15
26
12
6
14
2
1
10
7
16
11
24
FIT
1:1
100%

Артикул

Название

Примечание

Количество

1

K950579

LEVER

hand, PTO clutch, no longer available

1шт.

2

K956014

GRIP

hand lever

1шт.

3

K627052

BUSHING

SPACER support bracket

1шт.

4

113-2256

SCREW

BOLT hex, 3/8 NC x 1-7/8 inch (Replaces bolt K600526)

1шт.

492-11038

LOCK WASHER,3/8"

(Replaces washer K19482) 3/8"

1шт.

425-106

NUT,3/8"-16, Cl 5

(Replaces nut K607045) 3/8"-16, G5

1шт.

5

K955244

BRACKET

support, hand lever

1шт.

6

413-516

BOLT,Hex, 5/16" - 18 x 1", Gr 5

hex bracket to cab floor, 5/16 inch, (Replaces screw K602847)

2шт.

492-11031

LOCK WASHER,5/16"

WASHER, LOCK, , bracket to cab floor 5/16"

2шт.

425-105

NUT,5/16"-18, G5

- hex, bracket to cab floor, 5/16 inch NC (Replaces nut K607044)

2шт.

7

K955645

RATCHET

support bracket

1шт.

8

K627110

BUSHING

SPACER ratchet

1шт.

9

K627109

BUSHING

SPACER ratchet

1шт.

10

413-528

BOLT,Hex, 5/16" - 18 x 1-3/4", Gr 5

(Replaces bolt K600369) Hex, 5/16"-18 x 1 3/4", G5

2шт.

492-11031

LOCK WASHER,5/16"

WASHER, LOCK, , bracket to cab floor (Replaces washer K19481) 5/16"

2шт.

425-105

NUT,5/16"-18, G5

- hex, bracket to cab floor, 5/16 inch NC (Replaces nut K607044)

2шт.

11

K200038

PAWL

pull rod, no longer available

1шт.

12

38-11614

LOCK PIN,1/4" x 7/8", Slotted

1/4" x 7/8". Slotted (Replaces pin K623924)

1шт.

13

K950033

ROD

pull, short

1шт.

14

K949499

PIN

grooved, 3/16 x 1/2 inch

1шт.

15

K621572

RING, SNAP

3/16 inch

1шт.

16

K625099

SPRING

pull rod

1шт.

17

K617286

NUT

SLEEVE adjusting, No. 10 NF, no longer available, order pull rod K950033, Ref. 13 and nut K617297

1шт.

225-14210

NUT,#10-32

(Replaces nut K617080) #10-32

1шт.

17

K617297

NUT

long, spherical, 10-32 NF

1шт.

18

K950577

ROD

pull, long

1шт.

19

K949498

PIN

3/16 x 1/2 inch

1шт.

20

K950026

LEVER

release

1шт.

21

138-2067

PIN,3/16" x 1", Coiled

(Replaces pin K623773) 3/16" x 1", Coiled

1шт.

22

K955644

RETAINER

PIN connecting, Serial Range: cable-lever

1шт.

23

K955672

CABLE

inner and outer, no longer available

1шт.

24

K955245

CABLE

PLATE anchor, no longer available

1шт.

25

K949629

ADJUSTER

SCREW adjusting, 5/8 NC

1шт.

231-1446

NUT,3/8" - 16, Gr 5

NUT, LOCK, , Hex, self-locking (Replaces nut K607056) 3/8"-16, GB

1шт.

26

K950885

BRACKET

anchor, cable, no longer available

1шт.

27

413-716

BOLT,Hex, 7/16" - 14 x 1", Gr 5

(Replaces K603003) Hex, 7/16"-14 x 1", G5, Full Thd

2шт.

492-11044

LOCK WASHER,7/16"

WASHER, LOCK, (Replaces washer K19483) 7/16"

2шт.

28

K622207

FORK

END, cable

1шт.

29

K69984

SPLIT PIN/SAFETY PIN

clevis, 3/8 x 1-5/16 inch, no longer available, order ring K621562 and pin K950269 below

1шт.

K19472

WASHER

flat, 3/8 inch

1шт.

132-380

COTTER PIN,3/32" x 3/4"

Pin, Split (Cotter), (Replaces pin K623607) 3/32" x 3/4"

1шт.

K621562

RING, SNAP

1шт.

K950269

PIN

pivot

1шт.

30

K950889

CLUTCH

SHAFT AND LEVER cross, no longer available

1шт.

31

K627171

BUSHING

SPACER cross-shaft

1шт.

32

K626749

WASHER

Belleville, 1 inch

1шт.

33

K11128

CIRCLIP

1 inch

1шт.

34

K24953

SPRING return, cross-shaft

1шт.

Выбрано товаров: 48