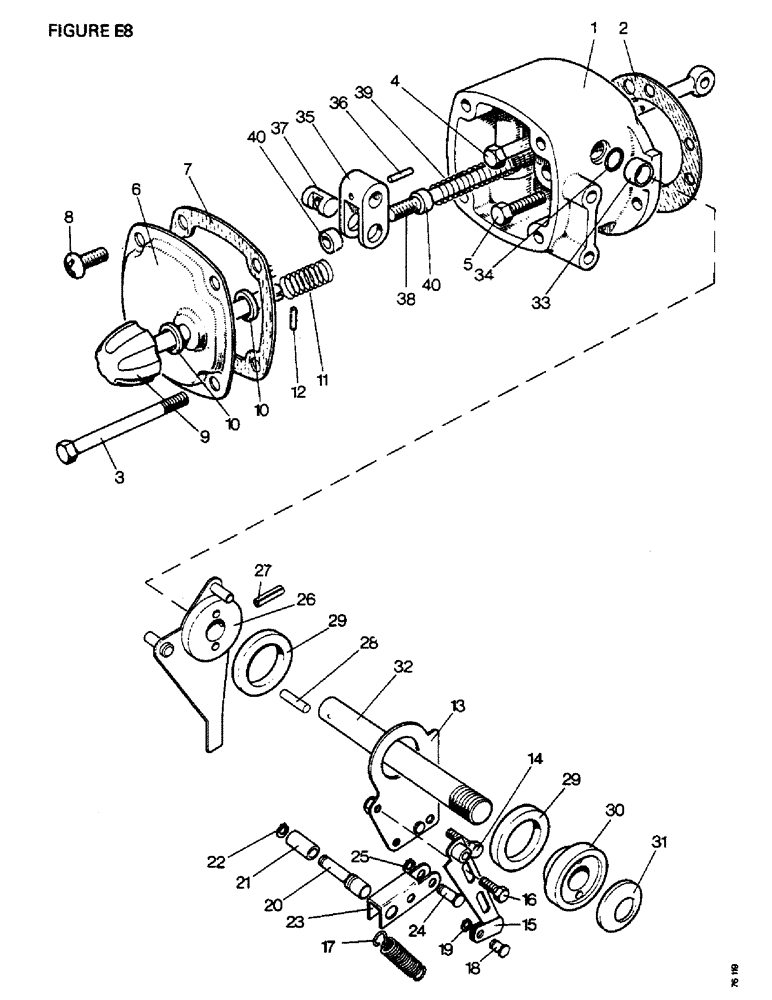
Запчасти Case IH 1410 (E08-1) - SELECTAMATIC HYDRAULIC SYSTEM, CONTROL HOUSING, 1410Q, 1410SK, 1412Q, 1412SK (07) - HYDRAULIC SYSTEM

Схема запчастей Case IH 1410 - (E08-1) - SELECTAMATIC HYDRAULIC SYSTEM, CONTROL HOUSING, 1410Q, 1410SK, 1412Q, 1412SK (07) - HYDRAULIC SYSTEM
20
23
14
38
39
26
32
40
37
8
13
27
21
25
22
7
31
36
1
28
10
11
2
19
35
24
15
6
3
30
12
9
4
34
29
10
40
33
17
5
29
18
16
FIT
1:1
100%

Артикул

Название

Примечание

Количество

1

K949656

HOUSING

1шт.

2

K903026

GASKET

(housing to rear axle case)

1шт.

3

K600224

BOLT

5/16 UNC x 4 3/4 in (housing to rear axle case)

1шт.

4

K600205

BOLT

5/16 UNC x 1 1/2 in (housing to rear axle case)

1шт.

5

9635884

BOLT,Hex, 5/16" - 18 1", Full Thd, Gr 5

SETSCREW, 5/16 UNC x 1 in (housing to rear axle case)

1шт.

K19481

SPRING WASHER

SPRING WASHER, 5/16 in (housing to rear axle case)

3шт.

6

K951091

COVER

1шт.

7

K949658

GASKET

, Serial Range: (cover-housing)

1шт.

8

9627874

BOLT,Hex, 5/16" - 18 x 5/8", Gr 5, Full Thd

SETSCREW, 5/16 UNC x 5/8 in (cover to housing)

3шт.

K19481

SPRING WASHER

SPRING WASHER, 5/16 in, Serial Range: (cover-housing)

3шт.

9

K950970

CASTING

KNOB LOWERING CONTROL

1шт.

10

K909573

DISC

FRICTION DISC

2шт.

11

K24887

SPRING

1шт.

K19472

WASHER

3/8 in

2шт.

12

K623930

SPRING

PIN, 1/8 x 3/4 in

1шт.

13

K950555

BRACKET

FRICTION PLATE

1шт.

14

K602846

SCREW,5/16" - 18 x 5/8", Gr S

SETSCREW, 5/16 UNC x 5/8 in, Serial Range: (plate-housing)

2шт.

K19481

SPRING WASHER

SPRING WASHER, 5/16 in, Serial Range: (plate-housing)

2шт.

15

K949541

SPRING

CARRIER

1шт.

16

88542

BOLT,Hex, 1/4"-20 x 1/2", Gr 5

SETSCREW, 1/4 UNC x 1/2 in (carrier to plate)

2шт.

K19470

WASHER

1/4 in, Serial Range: (carrier-plate)

2шт.

17

K950773

SPRING

TENSION SPRING

1шт.

18

K949554

PIN

CLEVIS PIN

1шт.

19

K621482

RING, SNAP

CIRCLIP, 5/16 in diameter, external

1шт.

20

K949543

PIN

1шт.

21

K949544

ROLLER

1шт.

22

K24568

SNAP RING,#25, Ext

Ring, Snap, #25, Ext

1шт.

23

K949542

SPRING

RETURN LEVER, spring

1шт.

24

K949545

PIN

PIVOT PIN, 1/4 x 3/4 in

2шт.

25

K24568

SNAP RING,#25, Ext

Ring, Snap, #25, Ext

2шт.

26

K950836

LEVER

FRICTION LEVER

1шт.

27

K623942

PIN

SPRING PIN, 5/32 x 1 1/4 in

1шт.

28

K621811

PIN

DOWEL

2шт.

29

K909582

WASHER

FRICTION WASHER

2шт.

30

K950864

PLATE

FRICTION PLATE

1шт.

31

K626740

WASHER

BELLEVILLE WASHER, 5/8 in

2шт.

K626686

WASHER

1/2 in

1шт.

86632558

JAM NUT,Jam, 1/2"-13, G5

LOCKNUT, 1/2 in UNC

1шт.

K607804

NUT

PHILIDAS NUT, 1/2 in UNC

1шт.

32

K949266

SHAFT

1шт.

33

K627068

BUSHING

PLASTIC SLEEVE

1шт.

34

K623424

RING

NU-LIP RING, 1/2 in internal diameter

1шт.

35

K909584

FORK

1шт.

36

K623940

PIN

SPRING PIN

1шт.

37

K903370

PIN

1шт.

38

K909585

ROD

CONNECTING ROD

1шт.

39

K625161

SPRING

1шт.

40

K903367

COLLAR

2шт.

607326

NYLOC NUT, 5/16 UNC

1шт.

Выбрано товаров: 49