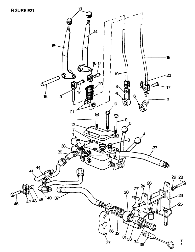
Запчасти Case IH 1410 (E21-1) - SELECTAMATIC HYD. SYSTEM, TWIN LIVE TAKE OFF VALVES, [A]1410Q,1410SK,1412Q,1412SK [B]1410,1412,1412G (07) - HYDRAULIC SYSTEM

Схема запчастей Case IH 1410 - (E21-1) - SELECTAMATIC HYD. SYSTEM, TWIN LIVE TAKE OFF VALVES, [A]1410Q,1410SK,1412Q,1412SK [B]1410,1412,1412G (07) - HYDRAULIC SYSTEM
37
1
36
22
40
46
8
27
35
32
6
7
42
19
16
17
43
17
21
27
44
4
30
5
41
19
24
9
23
28
18
29
15
31
34
45
2
10
26
37
6
38
13
20
3
33
17
18
14
25
39
12
FIT
1:1
100%

Артикул

Название

Примечание

Количество

K964530

CYLINDER

VALVE AND HAND CONTROLS (single pump)

1шт.

1410Q, 1410SK, 1412Q, 1412SK

1шт.

K931866

SPARE PART

HAND CONTROLS, U1916 (single pump)

1шт.

1410Q, 1410SK, 1412Q, 1412SK

1шт.

K964528

CONTROL VALVE

VALVE AND HAND CONTROLS (tandem pump)

1шт.

1410Q, 1410SK, 1412Q, 1412SK

1шт.

K931871

SPARE PART

HAND CONTROLS, U1922 (tandem pump)

1шт.

1410Q, 1410SK, 1412Q, 1412SK

1шт.

K918184

SPARE PART

TWIN LIVE TAKE-OFF VALVE, U949

1шт.

1410, 1412, 1412G

1шт.

K925979

NO LONGER SERVICED

CONVERSION KIT, U1338, single to twin valve

1шт.

1410, 1412, 1412G

1шт.

K930231

NO LONGER SERVICED

PIPES AND COUPLINGS FOR TWIN VALVE, U1401

1шт.

1

K943825

VALVE

TAKE-OFF VALVE ASSEMBLY

2шт.

2

K950851

LEVER

cranked (not parts of U1816 or U1922)

1шт.

1410Q, 1410SK, 1412Q, 1412SK

1шт.

3

K950854

LEVER

straight (not parts of U1816 or U1922)

1шт.

1410Q, 1410SK, 1412Q, 1412SK

1шт.

4

K946382

LEVER

HAND LEVER, cranked

1шт.

1410, 1412, 1412G

1шт.

5

K946383

LEVER

HAND LEVER, straight

1шт.

1410, 1412, 1412G

1шт.

K622382

KEY

Woodruff No. 403

2шт.

6

K606322

SCREW

GRUBSCREW, 5/16 UNC x 3/8 in

2шт.

7

K623588

O-RING,2.69mm Thk x 29.97mm ID, 75 Duro

'O' RING, 1 3/16 in internal diameter

2шт.

8

K24852

O-RING,0.103" Thk x 0.674" ID, -115, Cl 6, 90 Duro

'O' RING, 11/16 in internal diameter

10шт.

9a

K600519

BOLT

3/8 UNC x 6 3/4 in (single pump)

2шт.

10a

K600520

BOLT

3/8 UNC x 7 1/4 in (tandem pump)

2шт.

10b

K600521

BOLT

3/8 UNC x 7 3/4 in (tandem pump)

1шт.

11

K600512

BOLT

3/8 UNC x 4 1/2 in

2шт.

K19482

SPRING WASHER

SPRING WASHER, 3/8 in

5шт.

12

K919242

COVER

1шт.

13

K950493

KNOB

2шт.

1410Q, 1410SK, 1412Q, 1412SK

1шт.

14

K950762

LEVER

HAND LEVER

1шт.

1410Q, 1410SK, 1412Q, 1412SK

1шт.

15

K950766

LEVER

HAND LEVER

1шт.

1410Q, 1410SK, 1412Q, 1412SK

1шт.

K613984

SCREW

No. 10 UNF x 1/2 in

2шт.

1410Q, 1410SK, 1412Q, 1412SK

1шт.

16

K950863

SHAFT

1шт.

1410Q, 1410SK, 1412Q, 1412SK

1шт.

17

K950866

LARGE PIN

CLEVIS PIN, 1/4 x 13/16 in

4шт.

1410Q, 1410SK, 1412Q, 1412SK

1шт.

K623605

PIN

SPLIT PIN, 1/16 x 1/2 in

2шт.

1410Q, 1410SK, 1412Q, 1412SK

1шт.

18a

K951297

ROD

CONNECTING ROD (single pump)

1шт.

1410Q, 1410SK, 1412Q, 1412SK

1шт.

19a

K951299

ROD

CONNECTING ROD (single pump)

1шт.

1410Q, 1410SK, 1412Q, 1412SK

1шт.

18b

K951354

ROD

CONNECTING ROD (tandem pump)

1шт.

1410Q, 1410SK, 1412Q, 1412SK

1шт.

19b

K951356

ROD

CONNECTING ROD (tandem pump)

1шт.

1410Q, 1410SK, 1412Q, 1412SK

1шт.

20

K950691

SEAL

GAITER

2шт.

1410Q, 1410SK, 1412Q, 1412SK

1шт.

21

K950861

BUSHING

BUSH, halves

4шт.

1410Q, 1410SK, 1412Q, 1412SK

1шт.

22

K950865

CLIP

RETAINING CLIP

2шт.

1410Q, 1410SK, 1412Q, 1412SK

1шт.

23

K940752

MOUNTING PARTS

SUPPORT BRACKET, right-hand

1шт.

24

K940753

MOUNTING PARTS

SUPPORT BRACKET, left-hand

1шт.

25

K600896

BOLT

1/2 UNC x 3 1/2 in

4шт.

26

K627074

BUSHING

DISTANCE PIECE

2шт.

27

K924286

MOUNTING PARTS

MOUNTING FRAME

4шт.

K19474

HARDWARE

WASHER, 1/2 in

1шт.

28

K600703

BOLT

7/16 UNC x 3 in

1шт.

29

K627056

BUSHING

DISTANCE PIECE

1шт.

K626344

WASHER, LOCK

SPRING WASHER, 7/16 in

2шт.

280717

NUT,7/16"-14, G5

2шт.

30

K924284

RING

GIMBAL RING

4шт.

31

K924285

RING

RETAINING RING

4шт.

32

K625249

SPRING

4шт.

K921216

COUPLING, BREAK AWAY

QUICK-RELEASE COUPLING, Aeroquip B5600/8/10, Includes: Ref. 33 and 34

4шт.

33

K929247

BREAKER POINTS

QUICK-RELEASE COUPLING, tractor half, Aeroquip

1шт.

34

K921982

BREAKER POINTS

QUICK-RELEASE COUPLING, hose half, Aeroquip

1шт.

35

K921217

PLUG

DUST PLUG, coupling

4шт.

36

K626794

WASHER

special

4шт.

37

K924710

HOSE

FLEXIBLE PIPE, 1/2 BSP - 3/4 UNF x 16 1/4 in

4шт.

38

K622114

FITTING

ELBOW, 3/4 UNF

2шт.

39

K622119

FITTING

ELBOW, 3/4 UNF - 7/8 UNF

2шт.

40

K924713

PIPE

lower

1шт.

41

K924712

PIPE

upper

1шт.

42

K916899

BRACKET

CLAMP

2шт.

43

K940758

PACKING

2шт.

44

K65701

BUSHING

DISTANCE PIECE, 1/2 in

1шт.

45

K627026

BUSHING

DISTANCE PIECE, 1 1/8 in

1шт.

46

K600316

BOLT

5/16 UNC x 2 1/4 in

1шт.

K19481

SPRING WASHER

SPRING WASHER, 5/16 in

1шт.

9635082

NUT,5/16" - 18, Gr 5

5/16 UNC

1шт.

Выбрано товаров: 90