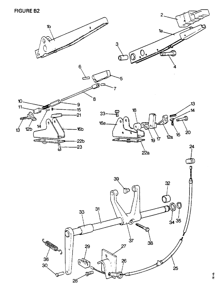
Запчасти Case IH 1410 (B2-1) - CLUTCH, HAND LEVER FOR PTO CLUTCH (03.1) - CLUTCH

Схема запчастей Case IH 1410 - (B2-1) - CLUTCH, HAND LEVER FOR PTO CLUTCH (03.1) - CLUTCH
2
36
16b
25
6
13
14
35
4
24
29
31
8
1b
13
23
9
17
15
1a
18
12a
27
26
23
3
28
37
32
11
7
16a
5
39
38
22b
15
30
12b
19
21
20
34
10
35
14
22a
FIT
1:1
100%

Артикул

Название

Примечание

Количество

1a

K950579

LEVER

HAND LEVER, PTO clutch

1шт.

1410Q, 1412Q (EFF. S/N NOTE A)

1шт.

1b

K955643

LEVER

HAND LEVER, PTO clutch

1шт.

1410SK, 1412SK, 1410SKG, 1412SKG (EFF. S/N NOTE A)

1шт.

1c

K951557

LEVER

HAND LEVER, PTO clutch

1шт.

1410Q, 1412Q, 1410SK, 1412SK (UP TO S/N NOTE A)

1шт.

2

K956014

GRIP

hand lever

1шт.

1410Q, 1412Q (EFF. S/N NOTE A)

1шт.

1410SK, 1412SK, 1410SKG, 1412SKG (EFF. S/N NOTE A)

1шт.

3

K627052

BUSHING

DISTANCE PIECE, lever pivot

1шт.

4

K600526

BOLT

3/8 UNC x 1 7/8 in, lever pivot

1шт.

5

K950026

LEVER

RELEASE LEVER

1шт.

6

K623773

PIN

3/16 x 7/8 in

1шт.

7

K949498

PIN

3/16 x 1/2 in

1шт.

8a

K950577

ROD

PULL ROD, long

1шт.

1410Q, 1412Q (EFF. S/N NOTE A)

1шт.

1410SK, 1412SK, 1410SKG, 1412SKG (EFF. S/N NOTE A)

1шт.

8b

K950031

ROD

PULL ROD, long

1шт.

1410Q, 1410SK

1шт.

9

K617286

NUT

ADJUSTING SLEEVE, No. 10 UNF

1шт.

K617080

NUT

No. 10 UNF

1шт.

10

K625099

SPRING

pull rod

1шт.

11

K950033

ROD

PULL ROD, short

1шт.

12a

K200038

PAWL

1шт.

1410Q, 1412Q (EFF. S/N NOTE A)

1шт.

1410SK, 1412SK, 1410SKG, 1412SKG (EFF. S/N NOTE A)

1шт.

12b

K949500

PAWL

1шт.

1410Q, 1412Q, 1410SK, 1412SK (UP TO S/N NOTE A)

1шт.

13

K623924

SPRING

PIN, 1/4 x 7/8 in, replaces K623772 (pawl to hand lever)

1шт.

K623941

SPRING

PIN, 5/32 x 7/8 in, fits inside K623924 (pawl to hand lever)

1шт.

14

K949499

PIN

grooved, 3/16 x 1/2 in, pawl to pull rod

1шт.

15

K621572

RING, SNAP

CIRCLIP, 3/16 in external

1шт.

16a

K955244

BRACKET

SUPPORT BRACKET, hand lever

1шт.

1410Q, 1412Q (EFF. S/N NOTE A)

1шт.

1410SK, 1412SK, 1410SKG, 1412SKG (EFF. S/N NOTE A)

1шт.

16b

K951560

BRACKET

SUPPORT BRACKET, hand lever

1шт.

1410Q, 1412Q, 1410SK, 1412SK (UP TO S/N NOTE A)

1шт.

17

K955645

RATCHET

1шт.

1410Q, 1412Q (EFF. S/N NOTE A)

1шт.

1410SK, 1412SK, 1410SKG, 1412SKG (EFF. S/N NOTE A)

1шт.

18

K627109

BUSHING

DISTANCE PIECE (ratchet to support bracket)

1шт.

1410Q, 1412Q (EFF. S/N NOTE A)

1шт.

1410SK, 1412SK, 1410SKG, 1412SKG (EFF. S/N NOTE A)

1шт.

19

K627110

BUSHING

DISTANCE PIECE (ratchet to support bracket)

1шт.

1410Q, 1412Q (EFF. S/N NOTE A)

1шт.

1410SK, 1412SK, 1410SKG, 1412SKG (EFF. S/N NOTE A)

1шт.

20

K600369

BOLT

3/8 UNC (ratchet to support bracket)

2шт.

1410Q, 1412Q (EFF. S/N NOTE A)

1шт.

1410SK, 1412SK, 1410SKG, 1412SKG (EFF. S/N NOTE A)

1шт.

K19481

SPRING WASHER

SPRING WASHER, 3/8 in (ratchet to support bracket)

2шт.

1410Q, 1412Q (EFF. S/N NOTE A)

1шт.

1410SK, 1412SK, 1410SKG, 1412SKG (EFF. S/N NOTE A)

1шт.

9635082

NUT,5/16" - 18, Gr 5

3/8 UNC (ratchet to support bracket)

2шт.

1410Q, 1412Q (EFF. S/N NOTE A)

1шт.

1410SK, 1412SK, 1410SKG, 1412SKG (EFF. S/N NOTE A)

1шт.

21

K951561

BLOCK

RETAINING BLOCK

1шт.

1410Q, 1412Q, 1410SK, 1412SK (UP TO S/N NOTE A)

1шт.

22a

K955245

CABLE

ANCHOR PLATE, cable

1шт.

1410Q, 1412Q (EFF. S/N NOTE A)

1шт.

1410SK, 1412SK, 1410SKG, 1412SKG (EFF. S/N NOTE A)

1шт.

22b

K951562

CABLE

ANCHOR PLATE, cable

1шт.

1410Q, 1412Q, 1410SK, 1412SK (UP TO S/N NOTE A)

1шт.

23

9635884

BOLT,Hex, 5/16" - 18 1", Full Thd, Gr 5

SETSCREW, 5/16 UNC x 1 in (support bracket and anchor plate to cab floor cable to hand lever)

2шт.

K19481

SPRING WASHER

SPRING WASHER, 5/16 in (support bracket and anchor plate to cab floor cable to hand lever)

2шт.

9635082

NUT,5/16" - 18, Gr 5

5/16 UNC (support bracket and anchor plate to cab floor cable to hand lever)

2шт.

1410Q, 1412Q (EFF. S/N NOTE A)

1шт.

1410SK, 1412SK, 1410SKG, 1412SKG (EFF. S/N NOTE A)

1шт.

9635082

NUT,5/16" - 18, Gr 5

5/16 UNC (support bracket and anchor plate to cab floor cable to hand lever)

1шт.

1410Q, 1412Q, 1410SK, 1412SK (UP TO S/N NOTE A)

1шт.

24a

K955644

RETAINER

CONNECTING PIN (support bracket and anchor plate to cab floor cable to hand lever)

1шт.

1410Q, 1412Q (EFF. S/N NOTE A)

1шт.

1410SK, 1412SK, 1410SKG, 1412SKG (EFF. S/N NOTE A)

1шт.

24b

K200089

PIN

CONNECTING PIN, replaces K950029 (support bracket and anchor plate to cab floor cable to hand lever)

1шт.

1410Q, 1412Q, 1410SK, 1412SK (UP TO S/N NOTE A)

1шт.

25a

K955671

CABLE

inner and outer

1шт.

1410Q, 1412Q (EFF. S/N NOTE A)

1шт.

1410SK, 1412SK, 1410SKG, 1412SKG (EFF. S/N NOTE A)

1шт.

25b

K951569

CABLE

inner and outer

1шт.

1410Q, 1412Q, 1410SK, 1412SK (UP TO S/N NOTE A)

1шт.

26

K949629

ADJUSTER

SCREW, 5/8 UNC

1шт.

425-1410

JAM NUT,Jam, 5/8"-11, G5

LOCKNUT, 5/8 UNC

1шт.

27

K949628

BRACKET

ANCHOR BRACKET, cable

1шт.

28

K603003

SCREW

SETSCREW, 7/16 UNC x 1 in, Serial Range: (bracket-frame)

2шт.

K19483

SPRING WASHER

SPRING WASHER, 7/16 in, Serial Range: (bracket-frame)

2шт.

29

K622207

FORK

END

1шт.

30

K69984

SPLIT PIN/SAFETY PIN

CLEVIS PIN, 3/8 x 1 5/16 in

1шт.

K19472

WASHER

3/8 in

1шт.

K623607

PIN

SPLIT PIN, 3/32 x 3/4 in

1шт.

31

K949630

SHAFT

CROSS SHAFT AND LEVER

1шт.

32

K628753

BUSHING

BUSH, main frame

2шт.

33

K944008

BUSHING

SPACER, cross shaft

1шт.

34

K626749

WASHER

BELLEVILLE WASHER, 1 in

1шт.

35

K11128

CIRCLIP

1 in, external

1шт.

36

K624927

SPRING

RETURN SPRING, cross shaft

1шт.

37

K915832

CLUTCH FORK

FORK, PTO clutch

1шт.

K19162

KEY, Woodruff No. 608

2шт.

38

K600406

BOLT

3/8 UNC x 1 3/4 in

1шт.

280136

NUT,3/8"-16, G8

1шт.

K19482

SPRING WASHER

SPRING WASHER, 3/8 in

1шт.

39

K84748

TRUNNION

PIN

1шт.

Выбрано товаров: 100