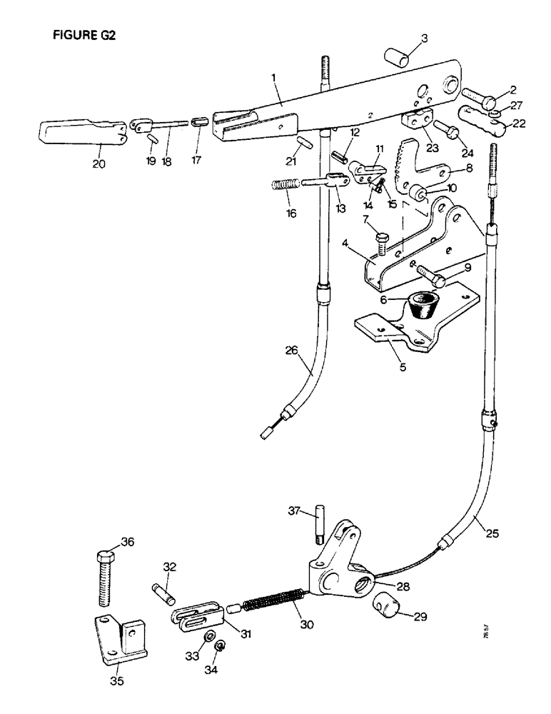
Запчасти Case IH 1410 (G2-1) - BRAKES, HAND BRAKE LINKAGE, [A] 1410Q, 1412Q, [B] 1410Q 4WD [C]1410SK,1412SK (5.1) - BRAKES

Схема запчастей Case IH 1410 - (G2-1) - BRAKES, HAND BRAKE LINKAGE, [A] 1410Q, 1412Q, [B] 1410Q 4WD [C]1410SK,1412SK (5.1) - BRAKES
30
23
11
13
34
15
35
21
7
1
37
18
17
36
16
24
27
12
6
28
25
10
5
20
26
29
9
3
8
22
4
32
12
2
31
19
33
FIT
1:1
100%

Артикул

Название

Примечание

Количество

1a

K955643

LEVER

HAND LEVER (eff. S/N Note A)

1шт.

1410Q, 1410Q 4WD, 1410SK, 1412Q, 1412SK-11203600

1шт.

1b

K950579

LEVER

HAND LEVER (hand lever to bracket) (up to S/N Note A)

1шт.

1410Q, 1410Q 4WD, 1410SK, 1412Q, 1412SK-11203600

1шт.

2

K600526

BOLT

3/8 UNC x 1 7/8 in (hand, Serial Range: lever-bracket)

1шт.

3

K627052

BUSHING

DISTANCE PIECE (hand, Serial Range: lever-bracket)

1шт.

K19482

SPRING WASHER

SPRING WASHER, 3/8 in (hand, Serial Range: lever-bracket)

1шт.

280136

NUT,3/8"-16, G8

(Hand lever to bracket) 3/8"-16, G8

1шт.

4a

K955244

BRACKET

SUPPORT BRACKET, hand lever (eff. S/N Note A)

1шт.

1410Q, 1410Q 4WD, 1410SK, 1412Q, 1412SK-11203600

1шт.

4b

K951560

BRACKET

SUPPORT BRACKET, hand lever (up to S/N Note A)

1шт.

1410Q, 1410Q 4WD, 1410SK, 1412Q, 1412SK-11203600

1шт.

5

K949506

SHIM

RETAINING PLATE

1шт.

6

K949507

SEAL

RUBBER SEAL, Serial Range: (bracket-plate)

2шт.

7

K602845

BOLT,Hex Hd, 5/16"-18 x 3/4"

SETSCREW, 5/16 UNC x 3/4 in (bracket to plate)

2шт.

K19481

SPRING WASHER

SPRING WASHER, 5/16 in, Serial Range: (bracket-plate)

2шт.

8

K949487

RATCHET

2шт.

9

K600369

BOLT

5/16 UNC x 1 3/4 in special (ratchet to support bracket)

2шт.

10

K627084

BUSHING

DISTANCE PIECE (ratchet to support bracket)

4шт.

K19481

SPRING WASHER

SPRING WASHER, 5/16 in (ratchet to support bracket)

2шт.

9635082

NUT,5/16" - 18, Gr 5

5/16 UNC (ratchet to support bracket)

2шт.

11

K200038

PAWL

replaces K949500

1шт.

1410Q, 1410Q 4WD, 1410SK, 1412Q, 1412SK-11203600

1шт.

12

K623924

SPRING

PIN, 1/4 x 7/8 in, replaces K623772

1шт.

1410Q, 1410Q 4WD, 1410SK, 1412Q, 1412SK-11203600

1шт.

13

K950033

ROD

PULL ROD, short

1шт.

14

K949499

PIN

grooved

1шт.

15

K621572

RING, SNAP

SPRING CLIP

1шт.

16

K625099

SPRING

replaces K625108

1шт.

K617080

NUT

No. 10 UNF

1шт.

17

K617286

NUT

ADJUSTING SLEEVE, No. 10 UNF

1шт.

18

K950577

ROD

PULL ROD, long

1шт.

19

K949498

PIN

plain

1шт.

20

K950026

LEVER

RELEASE LEVER

1шт.

21

K623773

PIN

3/16 x 7/8 in

1шт.

22

K949501

BAR

BALANCE BAR

1шт.

23

K949502

SUPPORT

BLOCK

1шт.

24

K602739

SCREW

SETSCREW, 1/4 UNC x 1 1/8 in (block to hand lever)

2шт.

K19480

SPRING WASHER

SPRING WASHER, 1/4 in (block to hand lever)

2шт.

K607043

NUT

1/4 UNC (block to hand lever)

2шт.

25a

K950221

BRAKE

CABLE, inner and outer, left-hand

1шт.

1410SK, 1412SK

1шт.

1410Q, 1412Q

1шт.

25b

K953948

CABLE

inner and outer, left-hand

1шт.

1410Q, 4WD

1шт.

26a

K950220

BRAKE

CABLE, inner and outer, right-hand

1шт.

1410SK, 1412SK

1шт.

1410Q, 1412Q

1шт.

26b

K953949

CABLE

inner and outer, right-hand

1шт.

1410Q, 4WD

1шт.

27

K949503

WASHER

SPHERICAL WASHER, 5/16 in

2шт.

K617285

SPECIAL NUT

5/16 UNF, special

2шт.

K622807

NUT

LOCKNUT, 5/16 UNF

2шт.

28

K952948

LEVER

OPERATING LEVER

2шт.

29

K951250

CABLE

PIN

2шт.

30a

K625292

SPRING

RETURN SPRING, cables

2шт.

1410SK, 1412SK

1шт.

1410Q, 1412Q

1шт.

30b

K625259

SPRING

RETURN SPRING, cables

2шт.

1410Q, 4WD

1шт.

31

K949523

FORK

END

2шт.

32

K949552

PIN

grooved

2шт.

33

K626682

WASHER

15/16 in

4шт.

34

K621482

RING, SNAP

CIRCLIP, 15/16 in external

4шт.

35

K951251

CABLE

ANCHOR BRACKET, left-hand cable

1шт.

K951252

CLIP

ANCHOR BRACKET, right-hand cable

1шт.

36

K600812

BOLT

1/2 UNC x 2 3/4 in

4шт.

K19484

LOCK WASHER

SPRING WASHER, 1/2 in

4шт.

37

K609425

LARGE PIN

COTTER PIN, 3/8 UNC

2шт.

K19472

WASHER

3/8 in

2шт.

K19482

SPRING WASHER

SPRING WASHER, 3/8 in

2шт.

280136

NUT,3/8"-16, G8

2шт.

Выбрано товаров: 72