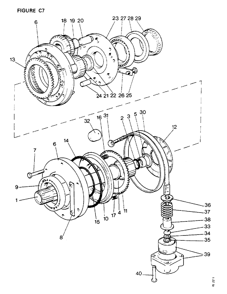
Запчасти Case IH 1410 (C07-1) - GEARBOX, FRONT PLANETARY UNIT, 1412, 1412Q, 1412G, 1412SK Gearbox

Схема запчастей Case IH 1410 - (C07-1) - GEARBOX, FRONT PLANETARY UNIT, 1412, 1412Q, 1412G, 1412SK Gearbox
37
36
33
8
32
20
25
16
29
30
11
10
27
28
5
17
22
7
23
39
4
19
31
14
15
6
9
1
38
24
34
12
40
2
6
13
26
35
3
18
21
FIT
1:1
100%

Артикул

Название

Примечание

Количество

1

K928517

CLUTCH

DRIVESHAFT

1шт.

2

K628123

RING

NU-LIP RING, replaces K623634

1шт.

3

K917184

BUSHING

BUSH, driveshaft

1шт.

4

K908509

WASHER

THRUST WASHER, front

1шт.

5

K917185

WASHER

THRUST WASHER, inner

1шт.

6

K917828

CARRIER

AND CYLINDER, Includes: Ref. 7 and 8

1шт.

7

K600207

BOLT

5/16 UNC x 1 3/4 in

6шт.

8

K626386

WASHER

TABWASHER

3шт.

9

K620082

BEARING, BALL

BALL BEARING

1шт.

10

K929781

PISTON

1шт.

K963593

CLUTCH

PLATE PACK, selective assembly, Includes: Ref. 11 - 13

1шт.

11

CLUTCH PLATE, steel

2шт.

12

CLUTCH PLATE, grooved bronze faces

2шт.

13

BACKING PLATE, 0-184 in (alternatives)

1шт.

BACKING PLATE, 0-192 in (alternatives)

1шт.

14

K623576

O-RING,6.975" ID x 7.525" OD x 0.275"

'O' RING, 7 in internal diameter (piston)

1шт.

15

K623575

O-RING,0.21" Thk x 3.975" ID, -345, Cl 5, 75 Duro

'O' RING, 4 in internal diameter (piston)

1шт.

16

K929779

SPRING

inner

6шт.

17

K13507

SPRING

outer

18шт.

18

K963526

GEAR

PLANET GEAR, 41-30 teeth, set of 3

1шт.

19

K620274

ROLLER CAGE BEARING

NEEDLE ROLLER BEARING

6шт.

20

K940289

PIN

BEARING PIN

3шт.

21

K916872

GEAR

SUN GEAR

1шт.

22

K917186

WASHER

THRUST WASHER, rear

1шт.

23

K917831

CARRIER

END COVER, carrier

1шт.

24

K621808

PIN

DOWEL, 5/8 x 1 1/4 in

3шт.

Position of dowel hole moved on later carriers, so all three holes might not line up. When this occurs remove the one dowel that does not line up & use 2 dowels.

1шт.

25

13-616

BOLT,Hex, 3/8" - 16 x 1", Gr 5, Full Thd

SETSCREW, 3/8 UNC x 1 in (Replaces K602904)

6шт.

26

K626388

WASHER

TABWASHER

3шт.

27

K19177

BALL BEARING,76.2mm ID x 114.3mm OD x 19.05mm W

1шт.

28

K917834

PLATE

ABUTMENT PLATE

1шт.

29

K917835

BEARING

FREEWHEEL

1шт.

30

K943409

BRAKE BAND

1шт.

31

K940064

WASHER

CONICAL WASHER, 3/8 in

1шт.

K607377

LOCK NUT

3/8 UNC

1шт.

32

K623831

PLUG

1 in BSP, band stop

1шт.

K628083

PLUG,Cap, 1.282" OD

PLASTIC PLUG, 1 1/4 in

1шт.

33

K917590

WASHER

SPHERICAL WASHER, 3/8 in

1шт.

131-52

NUT,3/8"-16, GC

NYLOC NUT, 3/8 UNC (Replaces K607302)

1шт.

34

K626314

WASHER

7/16 in

1шт.

35

D28157

SNAP RING,0.875", Int, #87

Ring, Snap, (replaces K621761) 0.875", Int, #87

1шт.

36

K940346

STOP

1шт.

37

K625256

SPRING

1шт.

38

K917591

SLEEVE

1шт.

39

K963538

BRAKE

PISTON AND CYLINDER

1шт.

40

K600209

BOLT

5/16 UNC x 2 in

4шт.

K19481

SPRING WASHER

SPRING WASHER, 5/16 in

4шт.

K626682

WASHER

5/16 in

1шт.

Выбрано товаров: 48