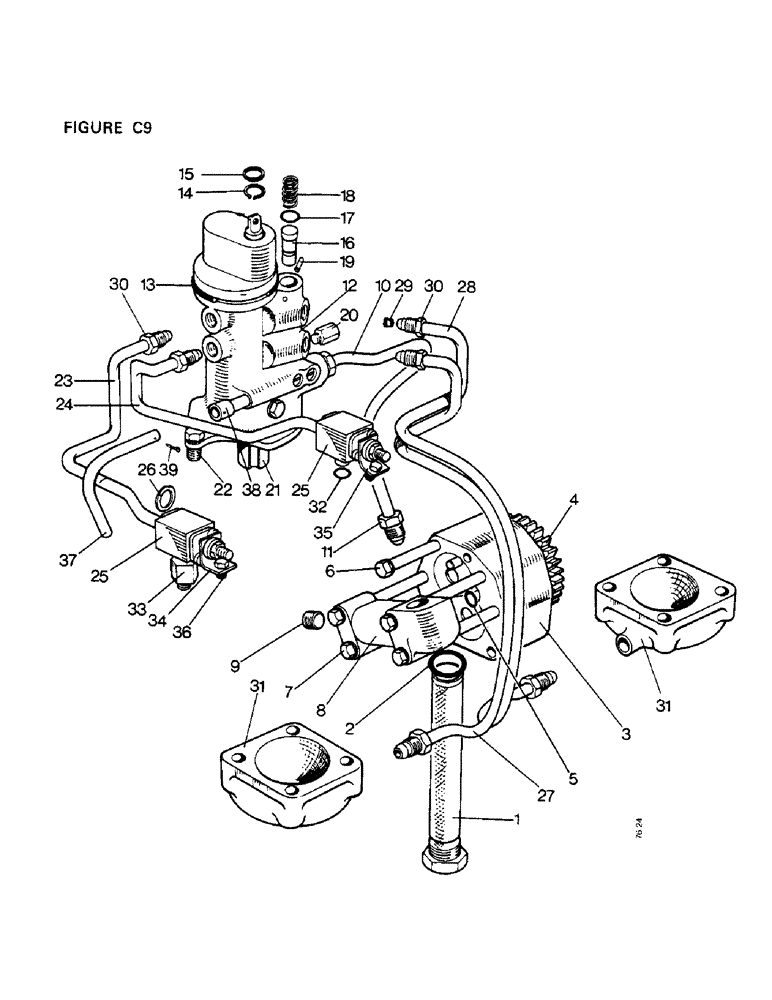
Запчасти Case IH 1410 (C09-1) - GEARBOX, CONTROL VALVES AND PIPES, 1412, 1412Q, 1412G, 1412SK Gearbox

Схема запчастей Case IH 1410 - (C09-1) - GEARBOX, CONTROL VALVES AND PIPES, 1412, 1412Q, 1412G, 1412SK Gearbox
9
15
7
18
37
23
16
1
20
13
12
24
29
30
26
27
6
19
30
3
22
25
36
31
31
28
35
8
2
34
5
38
14
33
39
11
32
21
10
25
17
4
FIT
1:1
100%

Артикул

Название

Примечание

Количество

1

K942039

FILTER

pump inlet

1шт.

2

K24555

O-RING,0.737" ID x 0.943" OD x 0.103"

'O' RING, 3/4 in internal diameter, filter

1шт.

K11120

SEALING WASHER

SEALING WASHER, 1 in

1шт.

3

K963524

PUMP

ASSEMBLY, complete

1шт.

K962993

SEALING RING

'O' RING PACK, pump

1шт.

K962992

ROTOR

AND BEARING PACK, pump

1шт.

4

K928670

GEAR

pump

1шт.

K19604

KEY

Woodruff, No. 405

1шт.

K617303

LOCK NUT

NYLOC NUT, 7/16 UNF

1шт.

5

K623714

O-RING,0.612" ID x 0.818" OD x 0.103"

'O' RING, 5/8 in internal diameter (pump to gearbox)

3шт.

6

K600218

BOLT

5/16 UNC x 3 1/4 in, Serial Range: (pump-gearbox)

2шт.

7

K600223

BOLT

5/16 UNC x 4 1/2 in, Serial Range: (pump-gearbox)

4шт.

K19481

SPRING WASHER

SPRING WASHER, 5/16 in, Serial Range: (pump-gearbox)

6шт.

8

K923653

CONNECTOR, ELEC

CONNECTOR, pump outlet

1шт.

9

K619539

PLUG

3/4 UNF x 5/16 in

1шт.

10

K923660

PIPE

, Serial Range: connector-valve

1шт.

K11904

FERRULE

OLIVE, 1/2 in

2шт.

11

K617953

TUBE NUT

TUBING NUT, 3/4 UNF

2шт.

12

K923151

VALVE

CONTROL VALVE ASSEMBLY, complete, used with lever part No. K952467 will service K923150 (eff. S/N Note A), Includes: Ref. 13 - 19

1шт.

1412, 1412Q, 1412G, 1412SK-11200321

1шт.

K954260

PLUG

3/8 x 3/8 in (eff. S/N Note A)

1шт.

1412, 1412Q, 1412G, 1412SK-11200321

1шт.

13

K86503

O-RING,0.21" Thk x 2.35" ID, -332, Cl 5, 75 Duro

'O' RING, 2 5/16 in internal diameter, valve body

1шт.

14

K86503

O-RING,0.21" Thk x 2.35" ID, -332, Cl 5, 75 Duro

CIRCLIP, 7/8 in internal

1шт.

15

K623443

OIL SEAL

OIL SEAL, 1/2 x 7/8 x 3/16 in

2шт.

16a

K953222

PISTON

(eff. S/N Note A)

1шт.

1412, 1412Q, 1412G, 1412SK-11200321

1шт.

16b

K918743

PISTON

(relief valve) (up to S/N Note A)

1шт.

1412, 1412Q, 1412G, 1412SK-11200321

1шт.

17

K625400

O-RING,0.07" Thk x 0.239" ID

'O' RING, 1/4 in internal diameter (relief valve) (up to S/N Note A)

1шт.

1412, 1412Q, 1412G, 1412SK-11200321

1шт.

18

K625206

SPRING

(relief valve)

1шт.

K626743

SHIM

0.002 in (relief valve)

1шт.

K19470

WASHER

1/4 in (relief valve)

1шт.

19

K15439

PIN

MILLS PIN, 3/16 x 1 1/8 in (relief valve)

1шт.

20

K623847

PLUG

special 1/8 BSP

1шт.

K16732

WASHER

COPPER WASHER, 3/8 in

1шт.

21

K918741

SPOOL

STOP, spool

1шт.

22

K602903

SCREW

SETSCREW, 3/8 UNC x 7/8 in, Serial Range: (valve-gearbox)

2шт.

K19482

SPRING WASHER

SPRING WASHER, 3/8 in, Serial Range: (valve-gearbox)

2шт.

23

K929696

CONNECTOR, ELEC

PIPE, front sequence valve

1шт.

24

K929697

CONNECTOR, ELEC

PIPE, rear sequence valve

1шт.

25

K963539

VALVE

SEQUENCE VALVE ASSEMBLY, less pipe

2шт.

26

K626460

SEALING WASHER

WASHER, sequence valve

4шт.

27

K929855

PIPE

front brake band cylinder

1шт.

28

K929856

PIPE

rear brake band cylinder

1шт.

29

K943460

PLUG

RESTRICTOR PLUG, brake pipes

2шт.

K622401

RING

OLIVE, 5/16 in

6шт.

30

K617951

TUBE NUT

TUBING NUT, 1/2 UNF

6шт.

31

K963538

BRAKE

CYLINDER AND PISTON, brake bands

2шт.

32

K24554

O-RING

'O' RING, 3/8 in internal diameter, sequence valves

2шт.

33

K929690

ADAPTER

ADAPTOR, 7/16 UNF, front sequence valve (up to S/N Note B)

1шт.

1412, 1412Q, 1412G, 1412SK-11202882

1шт.

K626522

SEALING WASHER

SEALING WASHER, 7/16 in (up to S/N Note B)

1шт.

1412, 1412Q, 1412G, 1412SK-11202882

1шт.

Ref. 33 & 33A ARE ELIMINATED WHEN K954258 END PLATED IS USED S/N 11202882.

1шт.

34

K940535

PLATE

RETAINING PLATE, front sequence valve

1шт.

35

K940534

PLATE

RETAINING PLATE, rear sequence valve

1шт.

36

K602700

SCREW,1/4" - 20 x 3/8"

SETSCREW, 1/4 UNC x 3/8 in

2шт.

K19480

SPRING WASHER

SPRING WASHER, 1/4 in

2шт.

37

K928687

PIPE

front unit lubrication

1шт.

38

K942700

PIPE,0.375" OD x 2.25" L

CONNECTOR, valve to pipe

1шт.

39

K19523

PIN

SPLIT PIN, 1/16 x 3/4 in

1шт.

Выбрано товаров: 63