Запчасти Case IH 1410 (A02-1) - ENGINE, CYLINDER BLOCK AND COVERS, 1410, 1410Q, 1410SK, 1412, 1412Q, 1412G, 1412SK (01) - ENGINE

Схема запчастей Case IH 1410 - (A02-1) - ENGINE, CYLINDER BLOCK AND COVERS, 1410, 1410Q, 1410SK, 1412, 1412Q, 1412G, 1412SK (01) - ENGINE
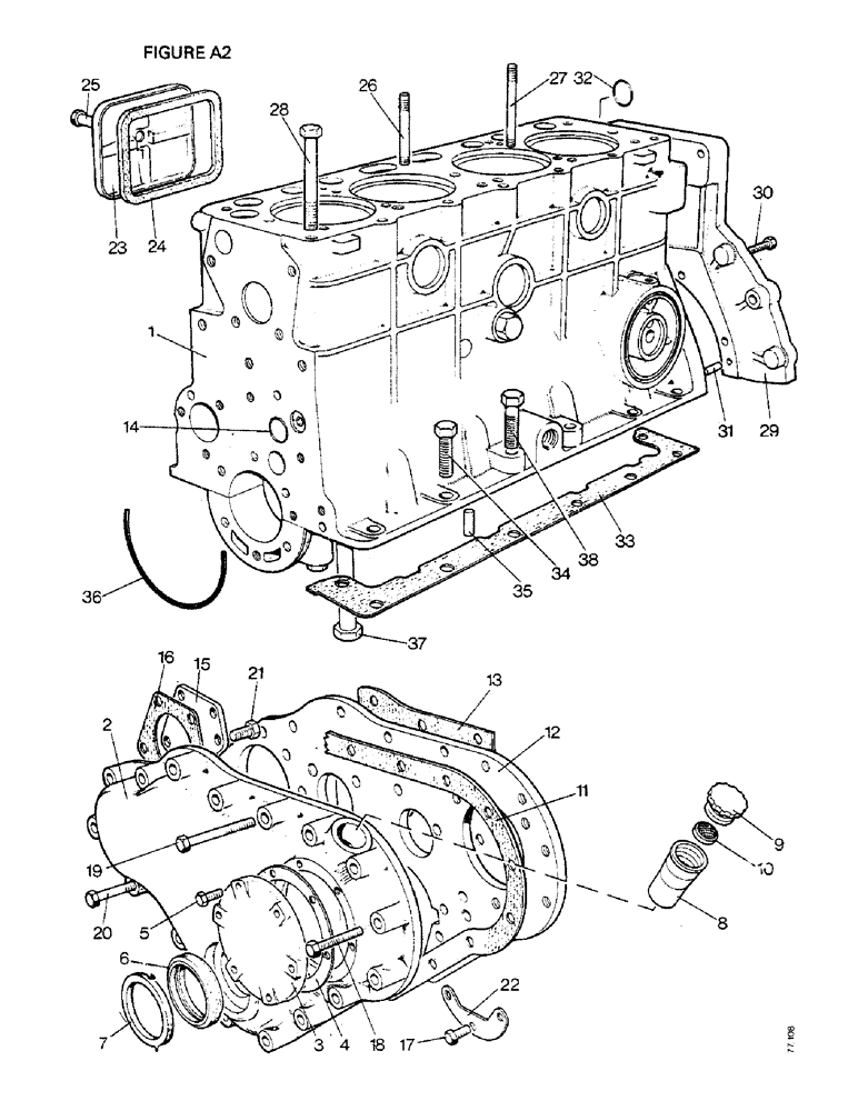
9
11
29
36
34
32
35
7
30
28
18
4
2
6
14
19
13
1
23
26
22
27
25
20
8
31
16
21
5
3
17
37
10
15
33
38
24
12
FIT
1:1
100%

Артикул

Название

Примечание

Количество

1

K963410

BLOCK

CYLINDER BLOCK ASSEMBLY, see Figure A1S, Includes: Ref. 2 - 10

1шт.

K80062

COVER

TIMING COVER ASSEMBLYS, Includes: Ref. 2 - 10

1шт.

2

K944347

COVER

timing gears

1шт.

3

K924397

COVER

PLATE, inspection

1шт.

4

K924398

FLEXIBLE JOINT

GASKET

1шт.

5

280345

BOLT,Hex, 5/16" - 18 x 7/8", Gr 5, Full Thd

SETSCREW, 5/16 UNC x 7/8 in

6шт.

K19481

SPRING WASHER

SPRING WASHER, 5/16 in

6шт.

6

K623448

SEAL

OIL SEAL, 2 1/8 x 2 7/8 x 3/8 in

1шт.

7

K623454

FELT SEAL,54.77mm ID x 73.82mm OD x 3.17mm Thk

FELT SEAL

1шт.

K964748

TUBE

FILLER TUBE AND CAP ASSEMBLYS, Includes: Ref. 8 and 9

1шт.

8

K950287

NECK FILLER

TUBE, oil filler

1шт.

9

K948427

CAP

FILLER CAP

1шт.

10

K921678

FILTER

SCREEN

1шт.

K905217

PLUG

TAPER PLUG, oil cleaner mounting boss

1шт.

11

K920794

GASKET

cover to carrier plate

1шт.

12

K940802

CARRIER

PLATE, Simms pump

1шт.

13

K902031

GASKET

, Serial Range: plate-block

1шт.

14

K24556

O-RING,0.734" ID x 1.012" OD x 0.139"

'O' RING, 3/4 in internal diameter

1шт.

15

K915158

PLATE

BLANKING PLATE, steering pump aperture

1шт.

16

K915157

GASKET

blanking plate to carrier plate

1шт.

17

K602883

SCREW,5/16" - 18 x 3/4", Gr V

SETSCREW, 5/16 UNC x 3/4 in

4шт.

18

9635884

BOLT,Hex, 5/16" - 18 1", Full Thd, Gr 5

SETSCREW, 5/16 UNC x 1 in

9шт.

19

K600209

BOLT

5/16 UNC x 2 in

1шт.

20

K600205

BOLT

5/16 UNC x 1 1/2 in

6шт.

21

9627874

BOLT,Hex, 5/16" - 18 x 5/8", Gr 5, Full Thd

SETSCREW, 5/16 UNC x 5/8 in

1шт.

K19481

SPRING WASHER

SPRING WASHER, 5/16 in

21шт.

9635082

NUT,5/16" - 18, Gr 5

5/16 UNC

3шт.

22

K902036

GASKET

BAFFLE PLATE

1шт.

23

K10029

COVER

tappets

2шт.

24

K10030

GASKET

tappet cover

2шт.

25

K600408

BOLT,3/8" x 2"

3/8 UNC x 2 in, Serial Range: (cover-block)

2шт.

K19504

WASHER,9.92mm ID x 14.29mm OD x 2mm Thk

FIBRE WASHER, 3/8 in, Serial Range: (cover-block)

2шт.

26

K906538

STUD

1/2 UNC - UNF x 4 7/8 in (cylinder, Serial Range: head-block)

10шт.

27

K608505

STUD,1/2" x 7/16"

STUD, 1/2 UNC - UNF x 5 5/16 in (cylinder, Serial Range: head-block)

2шт.

28

K600870

BOLT

1/2 UNC x 4 1/2 in, special (cylinder, Serial Range: head-block)

7шт.

29

K947028

SUPPORT

PLATE, starter

1шт.

30

K602906

SCREW

SETSCREW, 3/8 UNC x 1 1/4 in

6шт.

K19482

SPRING WASHER

SPRING WASHER, 3/8 in

6шт.

31

K12258

PIN

DOWEL, 5/16 x 3/4 in

2шт.

32

K623523

O-RING,1.802" OD x 0.143" Width

'O' RING, 1 13/16 in internal diameter, camshaft rear bearing

1шт.

33

K902044

GASKET

left-hand (cylinder, Serial Range: block-frame)

1шт.

K902045

GASKET

right-hand (cylinder, Serial Range: block-frame)

1шт.

34

K602906

SCREW

SETSCREW, 3/8 UNC x 1 1/4 in (cylinder, Serial Range: block-frame)

10шт.

35

K621834

PIN

DOWEL, 7/16 x 1 1/4 in

2шт.

36

K902046

SEAL

bearing caps

2шт.

37

K600467

BOLT

3/8 UNC x 8 3/4 in special

4шт.

38

K600406

BOLT

3/8 UNC x 1 3/4 in special

2шт.

K19482

SPRING WASHER

SPRING WASHER, 3/4 in

16шт.

Выбрано товаров: 48