Запчасти Case IH 1410 (E01-1) - SELECTAMATIC HYDRAULIC SYSTEM, SUCTION STRAINER AND LOW PRESSURE PIPES (EFF S/N NOTE A) (07) - HYDRAULIC SYSTEM

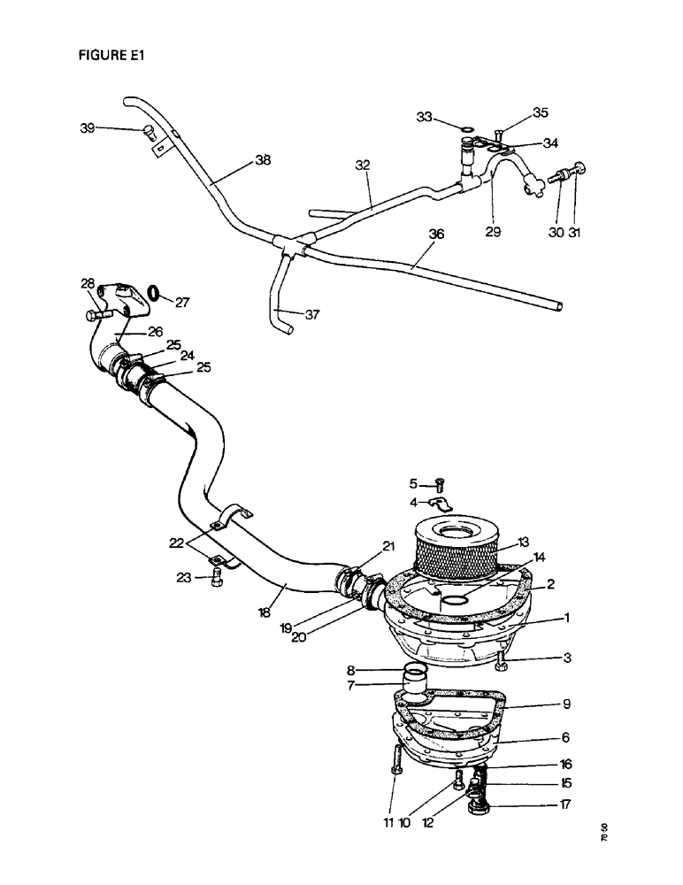
Схема запчастей Case IH 1410 - (E01-1) - SELECTAMATIC HYDRAULIC SYSTEM, SUCTION STRAINER AND LOW PRESSURE PIPES (EFF S/N NOTE A) (07) - HYDRAULIC SYSTEM
34
12
24
14
4
39
2
25
32
9
10
3
20
11
5
22
30
35
21
6
18
15
17
33
28
16
36
13
28
25
37
29
1
23
27
31
19
8
7
38
FIT
1:1
100%

Артикул

Название

Примечание

Количество

1

K940382

HOUSING

suction strainer

1шт.

K609691

PLUG

TAPER PLUG, 1/8 N.P.T.F.

1шт.

2

K940407

GASKET

1шт.

3

K602806

BOLT

SCREW, 5/16 UNC x 1 1/8 in

10шт.

K19481

SPRING WASHER

SPRING WASHER, 5/16 in

10шт.

4

K953845

RETAINER

PLATE, suction strainer

1шт.

5

K613984

SCREW

No. 10 UNF x 1/2 in

1шт.

K19488

SPRING WASHER

SPRING WASHER, 3/16 in

1шт.

6

K940399

COVER

gearbox sump

1шт.

7

K921882

SEAL

INSERT, sump cover

1шт.

8

K15533

O-RING,0.139" Thk x 1.734" ID, -224, Cl 6, 90 Duro

'O' RING, 1 3/4 in internal diameter (sump cover to housing)

1шт.

9

K940408

GASKET

(sump, Serial Range: cover-housing)

1шт.

10

K600211

BOLT

5/16 UNC x 2 1/4 in (sump, Serial Range: cover-housing)

9шт.

11

K600226

BOLT

5/16 UNC x 5 1/4 in (sump, Serial Range: cover-housing)

1шт.

K19481

SPRING WASHER

SPRING WASHER, 5/16 in (sump, Serial Range: cover-housing)

10шт.

12

K623842

PLUG

DRAIN PLUG, 5/8 UNC

1шт.

K14573

O-RING,0.07" Thk x 0.301" ID, -11, Cl 6, 90 Duro

'O' RING, 5/16 in internal diameter, drain plug

1шт.

K626795

WASHER

SEALING WASHER, 5/8 in

1шт.

13

K946089

STRAINER ELEMENT

SUCTION STRAINER

1шт.

14

K15279

O-RING,0.139" Thk x 1.359" ID, -220, Cl 5, 75 Duro

'O' RING, 1 3/4 in internal diameter

1шт.

15

K942039

FILTER

INLET FILTER, gearbox sump

1шт.

1412, 1412Q, 1412SK

1шт.

1412G

1шт.

16

K24555

O-RING,0.737" ID x 0.943" OD x 0.103"

'O' RING, 3/4 in internal diameter

1шт.

1412, 1412Q, 1412SK

1шт.

1412G

1шт.

K623830

PLUG

1 in BSP

1шт.

1412Q, 1412SK

1шт.

1410

1шт.

17

K11120

SEALING WASHER

SEALING WASHER

1шт.

18

K945282

PIPE

INLET PIPE

1шт.

19

K924378

HOSE

CONNECTION (pipe to suction strainer housing)

1шт.

20

K11806

HOSE

CLIP, 2 1/2 in (pipe to suction strainer housing)

1шт.

21

K621960

HOSE

CLIP, 2 1/4 in (pipe to suction strainer housing)

1шт.

22

K916897

SHIM

BRACKET (pipe to main frame)

4шт.

23

K602803

BOLT

SETSCREW, 5/16 UNC x 3/4 in (pipe to main frame)

2шт.

K608128

STUD

5/16 UNC x 1 3/8 in (pipe to main frame)

2шт.

1412, 1412Q, 1412SK

1шт.

1410

1шт.

1412G

1шт.

9635082

NUT,5/16" - 18, Gr 5

5/16 UNC (pipe to main frame)

2шт.

1410Q, 1410SK

1шт.

1410

1шт.

1412G

1шт.

K19471

WASHER

5/16 in (pipe to main frame)

1шт.

K19481

SPRING WASHER

SPRING WASHER, 5/16 in (pipe to main frame)

4шт.

24

K917126

HOSE

CONNECTION

1шт.

25

K621960

HOSE

CLIP, 2 1/4 in

2шт.

26a

K945283

X

ELBOW, pump inlet

1шт.

1412, 1412Q, 1412SK

1шт.

1412G

1шт.

26b

K950129

FITTING

ELBOW, pump inlet

1шт.

1410Q, 1410SK

1шт.

1410

1шт.

27

K623561

O-RING,0.139" Thk x 0.859" ID, -212, Cl 5, 75 Duro

'O' RING, 1 in internal diameter (elbow to pump)

1шт.

28

K600211

BOLT

5/16 unc x 2 1/4 in, Serial Range: (elbow-pump)

2шт.

K19481

SPRING WASHER

SPRING WASHER, 5/16 in, Serial Range: (elbow-pump)

2шт.

29

K915339

TUBE

PIPE, control, Serial Range: valve-tee-piece

1шт.

30

K912269

BUSHING

SCREWED BUSH, 1/2-5/16 UNC

1шт.

K626577

WASHER

SEALING WASHER, 1/2 in

1шт.

86632558

JAM NUT,Jam, 1/2"-13, G5

LOCKNUT, 1/2 UNC

1шт.

31

K600363

BOLT

5/16 UNC x 2 1/2 in

1шт.

K607081

LOCK NUT

LOCKNUT, 5/16 UNC

1шт.

32

K916891

PIPE

distribution, Serial Range: block-cross-piece

1шт.

33

K623557

O-RING

'O' RING, 9/16 in internal diameter

1шт.

34

K915344

WASHER

LOCATING PLATE

1шт.

35

K603662

SCREW

1/4 UNC x 5/8 in

2шт.

36a

K945396

PIPE

PTO lubrication, single speed

1шт.

1412, 1412Q, 1412SK

1шт.

36b

K950514

PIPE

PTO lubrication, two-speed reversible shaft

1шт.

1410Q, 1410SK

1шт.

1412, 1412Q, 1412SK

1шт.

1410

1шт.

36c

K919662

PIPE

PTO lubrication, multi-speed

1шт.

1410Q, 1410SK

1шт.

1412, 1412Q, 1412SK

1шт.

1410

1шт.

36d

K923462

PIPE

PTO lubrication, multi-speed

1шт.

1412G

1шт.

37

K913785

PIPE,0.5" OD

ram cylinder lubrication

1шт.

K625009

SPRING

CLIP, for pipe K913785

1шт.

38a

K942372

PIPE

gearbox lubrication

1шт.

1412, 1412Q, 1412SK

1шт.

1412G

1шт.

38b

K951641

PIPE

gearbox lubrication

1шт.

1410Q, 1410SK

1шт.

38c

K951641

PIPE

gearbox lubrication (eff. S/N Note B)

1шт.

1410-1 Sept. 76

1шт.

1410

1шт.

38d

K940995

PIPE

gearbox lubrication (up to S/N Note B)

1шт.

1410-1 Sept. 76

1шт.

1410

1шт.

39

K602701

BOLT

SETSCREW, 1/4 UNC x 1/2 in

1шт.

K19480

SPRING WASHER

SPRING WASHER, 1/4 in

1шт.

Выбрано товаров: 94