Запчасти Case IH 1412 (L07-1) - CHASSIS, BONNET, FENDERS, SAFETY FRAME AND CAB, CHASSIS BALLAST WEIGHTS (12) - CHASSIS

Схема запчастей Case IH 1412 - (L07-1) - CHASSIS, BONNET, FENDERS, SAFETY FRAME AND CAB, CHASSIS BALLAST WEIGHTS (12) - CHASSIS
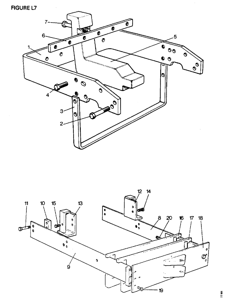
18
11
15
13
2
9
14
6
12
4
8
20
1
5
7
17
16
10
3
19
FIT
1:1
100%

Артикул

Название

Примечание

Количество

K931600

SPARE PART

FRONT BALLAST WEIGHTS, U1865, Includes: Ref. 1 - 7

1шт.

1

K916699

SUPPORT

FRAME

1шт.

2

K603276

SCREW

BOLT, 5/8 UNC x 1 3/4 in (frame to front extension)

6шт.

K19475

WASHER

5/8 in (frame to front extension)

6шт.

K19485

WASHER

SPRING WASHER (frame to front extension)

6шт.

3

K915386

BRACKET

STIRRUP

1шт.

4

K603279

SCREW

SETSCREW, 5/8 UNC x 1 3/8 in (stirrup to support frame)

4шт.

K19485

WASHER

SPRING WASHER, 5/8 in (stirrup to support frame)

4шт.

5

K916700

WEIGHT

BALLAST WEIGHT, 30 kg (67 lb)

6шт.

6

K915388

BAR

LOCKING BAR

1шт.

7

K601366

BOLT

5/8 UNC x 3 1/2 in (weights to locking bar)

6шт.

K19485

WASHER

SPRING WASHER, 5/8 in (weights to locking bar)

6шт.

K931469

SPARE PART

FRONT CHASSIS BALLAST WEIGHTS, U1848, Includes: Ref. 8 - 15

1шт.

1410 4WD

1шт.

K932169

FRAME

U2030

1шт.

1410 4WD

1шт.

1412G

1шт.

8

K949315

LACING, BELT

SIDE FRAME, left-hand

1шт.

1410 4WD

1шт.

1412G

1шт.

9

K949316

LACING, BELT

SIDE FRAME, right-hand

1шт.

1410 4WD

1шт.

1412G

1шт.

10

K949318

BUSHING

SPACER (side frames to front extension)

2шт.

1410 4WD

1шт.

1412G

1шт.

11

K601336

BOLT

5/8 UNC x 3 1/4 in (side frames to front extension)

4шт.

1410 4WD

1шт.

1412G

1шт.

K19485

WASHER

SPRING WASHER, 5/8 in (side frames to front extension)

4шт.

1410 4WD

1шт.

1412G

1шт.

12

K949319

SUPPORT

BRACKET, left-hand

1шт.

1410 4WD

1шт.

1412G

1шт.

13

K949322

SUPPORT

BRACKET, right-hand

1шт.

1410 4WD

1шт.

1412G

1шт.

14

K603278

SCREW

BOLT, 5/8 UNC x 2 in (support brackets to front extension)

4шт.

1410 4WD

1шт.

1412G

1шт.

K19485

WASHER

SPRING WASHER, 5/8 in (support brackets to front extension)

4шт.

1410 4WD

1шт.

1412G

1шт.

15

K603276

SCREW

BOLT, 5/8 UNC x 1 3/4 in (support brackets to side frames)

2шт.

1410 4WD

1шт.

1412G

1шт.

K19485

WASHER

SPRING WASHER, 5/8 in (support brackets to side frames)

2шт.

1410 4WD

1шт.

1412G

1шт.

16

K949672

WEIGHT

36 kg (80 lb)

1шт.

1410 4WD

1шт.

17

K949673

WEIGHT

36 kg (80 lb), Includes: Ref. 18 and 19

10шт.

1410 4WD

1шт.

18

K950322

FRAME

FRONT FRAME

1шт.

1410 4WD

1шт.

1412G

1шт.

19

K601362

BOLT

5/8 UNC x 2 3/4 in (front frame to side frames)

6шт.

1410 4WD

1шт.

1412G

1шт.

K19485

WASHER

SPRING WASHER, 5/8 in (front frame to side frames)

6шт.

1410 4WD

1шт.

1412G

1шт.

20

K600900

BOLT

1/2 UNC x 15 1/2 in (weights to front frame)

2шт.

1410 4WD

1шт.

K626345

LOCK WASHER

SPRING WASHER, 1/2 in (weights to front frame)

2шт.

1410 4WD

1шт.

K607407

NUT

1/2 UNC (weights to front frame)

2шт.

1410 4WD

1шт.

K600903

BOLT

1/2 UNC x 12 in (U2030 only)

1шт.

1410 4WD

1шт.

1412G

1шт.

K626345

LOCK WASHER

SPRING WASHER, 1/2 in (U2030 only)

1шт.

1410 4WD

1шт.

1412G

1шт.

K607522

TUBE

NUT, 1/2 UNC, special (U2030 only)

1шт.

1410 4WD

1шт.

1412G

1шт.

Выбрано товаров: 78