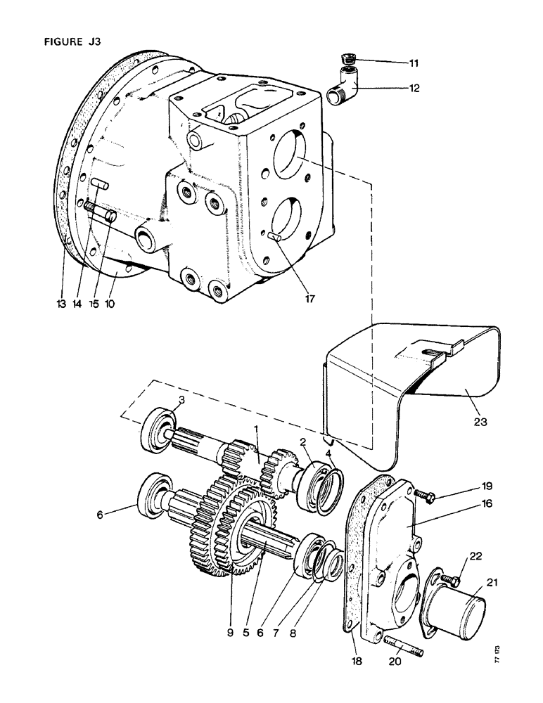
Запчасти Case IH 1412 (J3-1) - POWER TAKE OFF UNIT, MULTI SPEED PTO,TO S/N NOTE A, [A]1410Q,1410SK,1412Q,1412SK[B]1410,1412[C]1412G Auxiliary Drive Units

Схема запчастей Case IH 1412 - (J3-1) - POWER TAKE OFF UNIT, MULTI SPEED PTO,TO S/N NOTE A, [A]1410Q,1410SK,1412Q,1412SK[B]1410,1412[C]1412G Auxiliary Drive Units
7
14
18
4
6
11
3
1
9
10
22
8
13
20
2
5
19
17
16
15
23
6
21
12
FIT
1:1
100%

Артикул

Название

Примечание

Количество

K964741

SHAFT

PTO UNIT, complete, less operating lever

1шт.

1410Q, 1412SK, 1412Q, 1412SK

1шт.

1410, 1412

1шт.

K964696

PTO

UNIT, complete, less operating lever and arm

1шт.

1412G

1шт.

1

K950123

SHAFT

DRIVESHAFT, multi-speed PTO

1шт.

2

K690766

TAPERED BEARING

TAPER ROLLER BEARING

1шт.

3

K620046

BEARING

TAPER ROLLER BEARING

1шт.

4

K962848

SHIM,.003" Thk

1шт.

K962849

SHIM,.005" Thk

1шт.

K962850

SHIM,.007" Thk

1шт.

K962851

SHIM,.010" Thk

1шт.

K962852

SHIM,.025" Thk

1шт.

1410, 1410Q, 1410SK, 1412, 1412Q, 1412G, 1412SK-11202433

1шт.

5

K950122

SHAFT

DRIVEN SHAFT, multi-speed PTO

1шт.

6

K620046

BEARING

TAPER ROLLER BEARING

2шт.

7

K915557

SHIM,53.98mm ID x 64.29mm OD x 0.05mm Thk

(.002") 0.05mm Thk

1шт.

K915558

SHIM,53.98mm ID x 64.29mm OD x 0.08mm Thk

(0.003") 0.076mm Thk

1шт.

K915559

SHIM,53.98mm ID x 64.29mm OD x 0.13mm Thk

(0.005") 0.127mm Thk

1шт.

K915560

SHIM

0.010 in

1шт.

K915561

SHIM

0.028

1шт.

8

K15177

OIL SEAL

OIL SEAL, 1 3/8 x 2 1/8 x 3/8 in

1шт.

9

K950124

GEAR

(38-44 teeth)

1шт.

10

K952697

CASE

SG Iron, multi-speed PTO

1шт.

K623789

PLUG

CORE PLUG, 1 in diameter

1шт.

1410Q, 1410SK, 1412Q, 1412SK

1шт.

1410, 1412

1шт.

11

K12362

PLUG

TAPER PLUG, 1 in BSP

1шт.

12

K622127

FITTING

ELBOW, oil filler

1шт.

1410Q, 1410SK, 1412Q, 1412SK

1шт.

13

K922591

GASKET

1шт.

14

K61412

PIN

DOWEL, 7/16 x 1 1/4 in

1шт.

15

K603006

SCREW

BOLT, 7/16 UNC x 1 3/8 in

12шт.

K19483

SPRING WASHER

SPRING WASHER, 7/16 in

12шт.

16

K915595

COVER

END COVER

1шт.

17

K14577

DOWEL

1/4 x 9/16 in

2шт.

18

K924217

GASKET

1шт.

19

9635884

BOLT,Hex, 5/16" - 18 1", Full Thd, Gr 5

SETSCREW, 5/16 UNC x 1 in

2шт.

K19481

SPRING WASHER

SPRING WASHER, 5/16 in

2шт.

20a

K608311

STUD

7/16 UNC x 2 5/16 in

4шт.

1410Q, 1410SK, 1412Q, 1412SK

1шт.

1410, 1412

1шт.

K19483

SPRING WASHER

SPRING WASHER, 7/16 in

4шт.

1410Q, 1410SK, 1412Q, 1412SK

1шт.

1410, 1412

1шт.

280717

NUT,7/16"-14, G5

4шт.

1410Q, 1410SK, 1412Q, 1412SK

1шт.

1410, 1412

1шт.

20b

K907546

STUD

7/16 UNC x 3 3/8 in special

4шт.

1412G

1шт.

K627060

BUSHING

DISTANCE PIECE

4шт.

1412G

1шт.

K626344

WASHER, LOCK

SPRING WASHER, 7/16 in

4шт.

1412G

1шт.

280717

NUT,7/16"-14, G5

4шт.

21

K909111

COVER

PTO shaft

1шт.

22

K602840

SCREW

SETSCREW, 5/16 UNC x 1/2 in

2шт.

K626682

WASHER

5/16 in

2шт.

23

K906893

GUARD

PTO GUARD, U378

1шт.

Выбрано товаров: 59