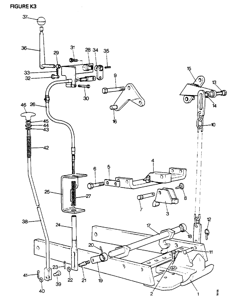
Запчасти Case IH 1412 (K3-1) - DRAWBARS AND HITCHES, PICK UP HITCH Drawbars & Hitches

Схема запчастей Case IH 1412 - (K3-1) - DRAWBARS AND HITCHES, PICK UP HITCH Drawbars & Hitches
42
6
9
2
41
43
20
26
40
13
27
44
22
11
8
21
37
46
32
14
25
33
45
28
8
16
39
17
18
3
31
3
19
23
12
29
30
36
24
34
38
4
10
15
7
1
FIT
1:1
100%

Артикул

Название

Примечание

Количество

PICK-UP HITCH, U4041

1шт.

1410Q, 1410SK, 1412Q, 1412SK Effective with S/N 11203600

1шт.

PICK-UP HITCH, U2003 Up to S/N 11203600

1шт.

1410Q, 1410SK, 1412Q, 1412SK Up to S/N 11203600

1шт.

PICK-UP HITCH, U4042

1шт.

1410Q 4WD

1шт.

1

K940590

HOOK

TOWING HOOK

1шт.

2

K610208

BOLT (SPREADER)

BOLT, 5/8 UNC x 2 1/2 in (hook plate to hitch plates)

2шт.

K19485

WASHER

SPRING WASHER, 5/8 in (hook plate to hitch plates)

2шт.

K607006

NUT

5/8 UNC (hook plate to hitch plates)

2шт.

3

K947179

STOP

1шт.

4

K947176

PLATE

BRIDGE PLATE

1шт.

S/B K11569

1шт.

5

K947200

SHIM

1/16 in (bridge plate to hitch plates)

1шт.

K947201

SHIM

1/32 in (bridge plate to hitch plates)

1шт.

6

K601208

BOLT

5/8 UNC x 2 1/2 in (bridge plate to hitch plates)

4шт.

K19485

WASHER

SPRING WASHER, 5/8 in (bridge plate to hitch plates)

4шт.

K607006

NUT

5/8 UNC (bridge plate to hitch plates)

4шт.

7

K919725

PIN,19.05mm OD x 111.13mm L

LINK PIN

1шт.

8

K66408

PIN

LINCH PIN AND RING

1шт.

9

K948767

PIN

PIVOT PIN, 7/8 UNC

2шт.

REPLACED BY 113-600

1шт.

425-1414

JAM NUT,Jam, 7/8"-9, G5

7/8 UNC

2шт.

10

K947427

CHAIN (AG)

CHAIN AND LINK ASSEMBLY

2шт.

1410Q, 1410SK, 1412Q, 1412SK Effective with S/N 11203600

1шт.

1410Q, 1410SK, 1412Q, 1412SK Up to S/N 11203600

1шт.

10

K954468

CHAIN (AG)

CHAIN AND LINK ASSEMBLY

2шт.

1410Q 4WD

1шт.

11

K909503

PIN

2шт.

12

K920359

PIN

LINCH PIN AND RING

2шт.

13

K942612

PIN

PIVOT PIN, 5/8 UNC

2шт.

14

K942611

WASHER

SERRATED WASHER, 5/8 in

2шт.

K19475

WASHER

5/8 in

2шт.

K607331

NUT

NYLOC NUT, 5/8 UNC

2шт.

15

K947423

ARM

LIFT ARM, right hand

1шт.

16

K947422

ARM

LIFT ARM, left hand

1шт.

17

K940094

LATCH

1шт.

18

K940098

COLLAR

1шт.

19

K940097

LEVER

1шт.

20

K690732

SPRING

PIN, 3/16 x 3/4 in

2шт.

21

K953533

PIN

3/8 UNC

1шт.

1410Q, 1410SK, 1412Q, 1412SK Up to S/N 11203600

1шт.

K19482

SPRING WASHER

SPRING WASHER, 3/8 in

1шт.

1410Q, 1410SK, 1412Q, 1412SK Up to S/N 11203600

1шт.

280136

NUT,3/8"-16, G8

1шт.

1410Q, 1410SK, 1412Q, 1412SK Up to S/N 11203600

1шт.

22

K19472

WASHER

3/8 in

2шт.

1410Q, 1410SK, 1412Q, 1412SK Up to S/N 11203600

1шт.

23

K19528

PIN

SPLIT PIN, 3/32 x 3/4 in

1шт.

1410Q, 1410SK, 1412Q, 1412SK Up to S/N 11203600

1шт.

24

K953186

LATCH

ROD

1шт.

1410Q, 1410SK, 1412Q, 1412SK Up to S/N 11203600

1шт.

25

K953226

BRACKET

ANCHOR BRACKET

1шт.

1410Q, 1410SK, 1412Q, 1412SK Up to S/N 11203600

1шт.

26

K953170

CABLE

inner and outer

1шт.

1410Q, 1410SK, 1412Q, 1412SK Up to S/N 11203600

1шт.

K617051

NUT

LOCKNUT, 5/16 UNF

1шт.

1410Q, 1410SK, 1412Q, 1412SK Up to S/N 11203600

1шт.

27

K625296

SPRING

RETURN SPRING

1шт.

1410Q, 1410SK, 1412Q, 1412SK Up to S/N 11203600

1шт.

28

K952255

BRACKET

PIVOT BRACKET

1шт.

1410Q, 1410SK, 1412Q, 1412SK Up to S/N 11203600

1шт.

29

K628759

BUSHING

BUSH, pivot bracket

2шт.

1410Q, 1410SK, 1412Q, 1412SK Up to S/N 11203600

1шт.

30

K600154

BOLT

1/4 UNC x 1 3/4 in special

1шт.

1410Q, 1410SK, 1412Q, 1412SK Up to S/N 11203600

1шт.

K626341

SPRING WASHER

SPRING WASHER, 1/4 in

1шт.

1410Q, 1410SK, 1412Q, 1412SK Up to S/N 11203600

1шт.

K607043

NUT

1/4 UNC

1шт.

1410Q, 1410SK, 1412Q, 1412SK Up to S/N 11203600

1шт.

31

K602845

BOLT,Hex Hd, 5/16"-18 x 3/4"

SETSCREW, 5/16 UNC x 3/4 in

2шт.

1410Q, 1410SK, 1412Q, 1412SK Up to S/N 11203600

1шт.

K19481

SPRING WASHER

SPRING WASHER, 5/16 in

2шт.

1410Q, 1410SK, 1412Q, 1412SK Up to S/N 11203600

1шт.

32

K625941

PIN

CLEVIS PIN, 5/16 x 7/8 in

1шт.

1410Q, 1410SK, 1412Q, 1412SK Up to S/N 11203600

1шт.

33

K19528

PIN

SPLIT PIN, 3/32 x 3/4 in

1шт.

1410Q, 1410SK, 1412Q, 1412SK Up to S/N 11203600

1шт.

34

K952260

LEVER

OPERATING LEVER

1шт.

1410Q, 1410SK, 1412Q, 1412SK Up to S/N 11203600

1шт.

35

K623740

SPLIT PIN/SAFETY PIN

SPRING PIN, 3/16 x 7/8 in

1шт.

1410Q, 1410SK, 1412Q, 1412SK Up to S/N 11203600

1шт.

36

K952515

LEVER

HAND LEVER

1шт.

1410Q, 1410SK, 1412Q, 1412SK Up to S/N 11203600

1шт.

37

K950493

KNOB

1шт.

1410Q, 1410SK, 1412Q, 1412SK Up to S/N 11203600

1шт.

38

K955949

ROD

OPERATING ROD

1шт.

1410Q, 1410SK, 1412Q, 1412SK Effective with S/N 11203600

1шт.

1410Q 4WD

1шт.

39

K955947

PIN

HEADED PIN

1шт.

1410Q, 1410SK, 1412Q, 1412SK Effective with S/N 11203600

1шт.

1410Q 4WD

1шт.

40

K19472

WASHER

3/8 in

1шт.

1410Q, 1410SK, 1412Q, 1412SK Effective with S/N 11203600

1шт.

1410Q 4WD

1шт.

41

K19528

PIN

SPLIT PIN

1шт.

1410Q, 1410SK, 1412Q, 1412SK Effective with S/N 11203600

1шт.

1410Q 4WD

1шт.

42

K625251

SPRING

RETURN SPRING

1шт.

1410Q, 1410SK, 1412Q, 1412SK Effective with S/N 11203600

1шт.

1410Q 4WD

1шт.

43

K626884

WASHER

3/8 in special

1шт.

1410Q, 1410SK, 1412Q, 1412SK Effective with S/N 11203600

1шт.

1410Q 4WD

1шт.

44

K627795

GROMMET

1шт.

1410Q, 1410SK, 1412Q, 1412SK Effective with S/N 11203600

1шт.

1410Q 4WD

1шт.

45

280136

NUT,3/8"-16, G8

1шт.

1410Q, 1410SK, 1412Q, 1412SK Effective with S/N 11203600

1шт.

1410Q 4WD

1шт.

46

K955948

KNOB

1шт.

1410Q, 1410SK, 1412Q, 1412SK Effective with S/N 11203600

1шт.

1410Q 4WD

1шт.

Выбрано товаров: 113