Запчасти Case IH 880A (019) - MANIFOLDS (01) - ENGINE

Схема запчастей Case IH 880A - (019) - MANIFOLDS (01) - ENGINE
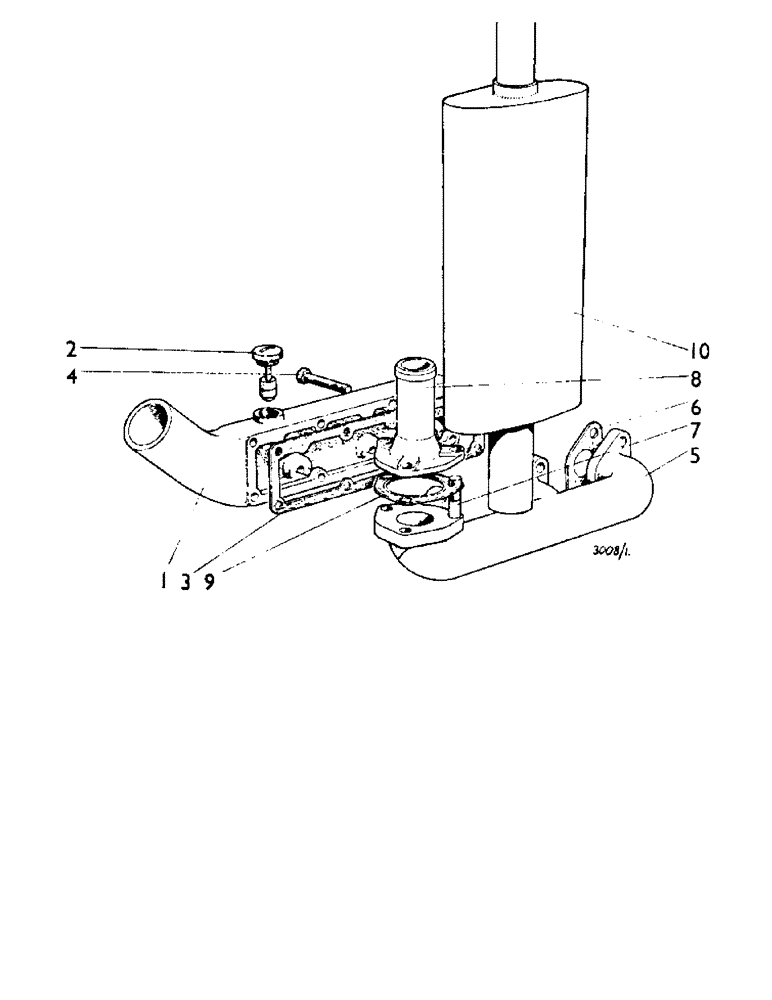
7
8
5
9
2
4
6
1
3
10
FIT
1:1
100%

Артикул

Название

Примечание

Количество

1

K914000

MANIFOLD

- air inlet

1шт.

2

K906039

PLUG

- ether

1шт.

K623850

PLUG

- 7/8 BSF alternatives

1шт.

K619528

PLUG

- 7/8 UNF alternatives

1шт.

K626784

WASHER,23.24mm ID x 33.34mm OD x 2.34mm Thk

- sealing, 7/8 in. (replaces 626783)

1шт.

3

K907911

GASKET

1шт.

4

K600324

BOLT

- 5/16 UNC x 2 in. (replaces 600209)

8шт.

K19481

SPRING WASHER

WASHER - lock, spring, 5/16 in.

8шт.

5

K907910

MANIFOLD

- vertical exhaust

1шт.

K917465

NO LONGER SERVICED

PIPE - exhaust manifold drain

1шт.

K617950

NIPPLE, LUBE

NIPPLE - lube, tubing nut exhaust manifold drain

1шт.

K622402

FERRULE

- olive exhaust manifold drain

1шт.

K914087

MANIFOLD ASSY

- downswept exhaust

1шт.

6

K900771

NO LONGER SERVICED

GASKET

3шт.

280136

NUT,3/8"-16, G8

9шт.

7

K608203

STUD

- 3/8 UNC x 1 7/16 in.

3шт.

8

K928274

FLANGE

- exhaust (replaces 912440)

1шт.

9

K912441

GASKET

1шт.

10

K926834

MUFFLER

- silencer (replaces 914137)

1шт.

Выбрано товаров: 19