Запчасти Case IH 880B (069) - FRONT TOWING HOOK, U803, OPTIONAL EQUIPMENT Drawbars & Hitches

Схема запчастей Case IH 880B - (069) - FRONT TOWING HOOK, U803, OPTIONAL EQUIPMENT Drawbars & Hitches
3
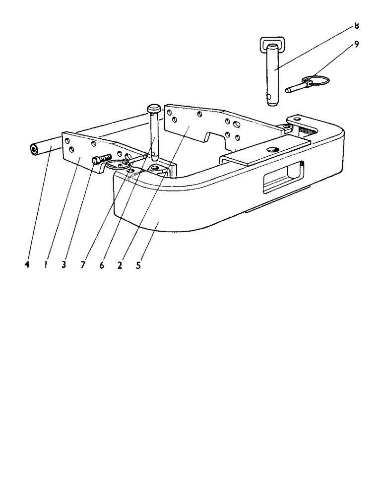
6
5
2
1
8
7
9
4
FIT
1:1
100%

Артикул

Название

Примечание

Количество

1

K916848

SUPPORT - right-hand supports to main frame

1шт.

2

K916849

SUPPORT - left-hand supports to main frame

1шт.

3

K601203

BOLT

- 5/8 UNC x 1 7/8 in. supports to main frame

6шт.

K19485

WASHER

- spring, 5/8 in. supports to main frame

6шт.

K19475

WASHER

- 5/8 in. supports to main frame

16шт.

K626910

WASHER

- distance, 5/8 in. supports to main frame

8шт.

4

K916586

BUSHING

- spacer bar supports to main frame

1шт.

5

K916852

CROSS - member

1шт.

6

K916853

PIN - anchor

2шт.

7

K66408

PIN

- linch ring

2шт.

8

K917724

SPARE PART

PIN - towing

1шт.

9

K900139

PIN

- linch ring

1шт.

K914476

PLATE - number

1шт.

K602845

BOLT,Hex Hd, 5/16"-18 x 3/4"

SETSCREW - 5/16 UNC x 3/4 in. number plate to cross-member

4шт.

K19481

SPRING WASHER

WASHER - lock, spring, 5/16 in. number, Serial Range: plate-cross-member

4шт.

K11907

WASHER - 5/16 in.

4шт.

Выбрано товаров: 16