Запчасти Case IH 880B (048) - CONTROL VALVE (07) - HYDRAULIC SYSTEM

Схема запчастей Case IH 880B - (048) - CONTROL VALVE (07) - HYDRAULIC SYSTEM
20
24
15
28
8
32
7
2
3
25
8
6a
5
10
29
19
30
4
11
26
14
16
17
12
6
18
27
1
13
31
23
9
22
21
2a
FIT
1:1
100%

Артикул

Название

Примечание

Количество

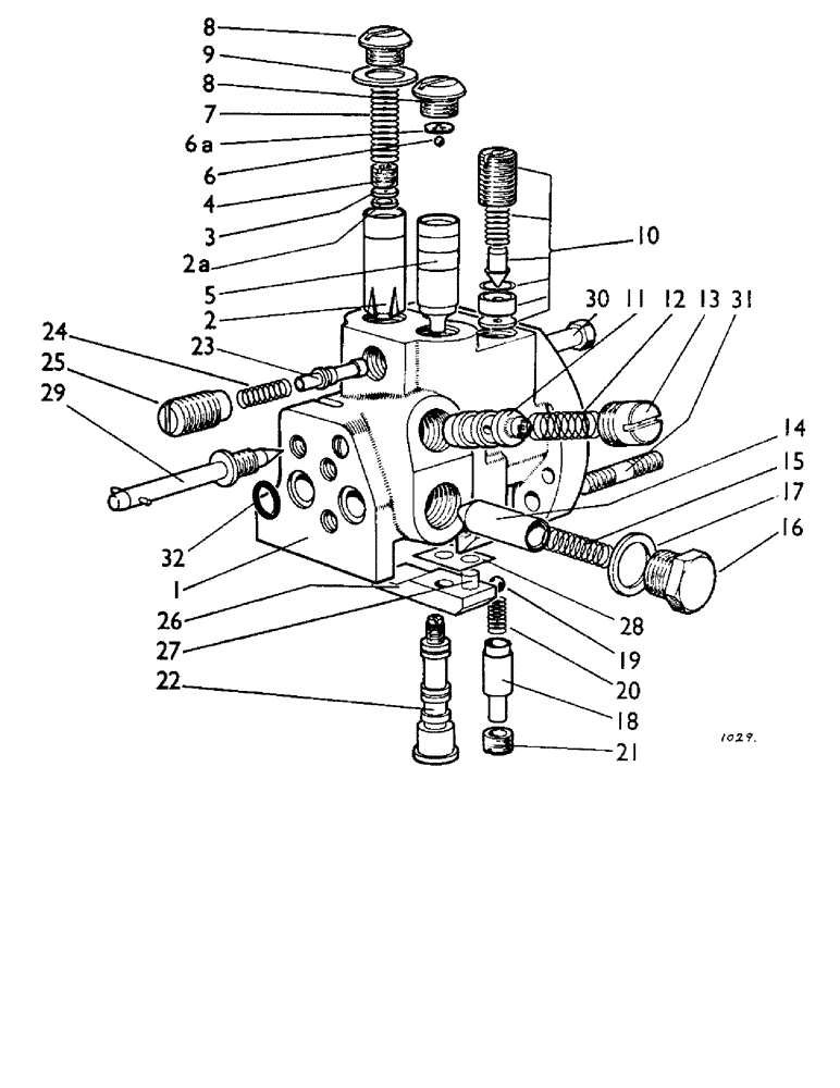
1

K961894

NO LONGER SERVICED

VALVE - control assembly (complete)

1шт.

2

NSS

NOT SOLD SEPARAT

PLUNGER - by-pass valve (not supplied separately), 961894

1шт.

2a

K921154

FILTER

- by-pass plunger 961894

1шт.

3

K913621

WASHER

- restrictor 961894

1шт.

4

K919634

PLUG

- 3/8 UNF, special (supersedes 913550), 961894

1шт.

5

NSS

NOT SOLD SEPARAT

PLUNGER - hold valve (not supplied separately), 961894

1шт.

6

K11548

BALL

- steel, 1/8 in. 961894

1шт.

6a

K920136

SHIM

- retainer--ball 961894

1шт.

7

K24832

SPRING

- 961894

2шт.

8

K913242

PLUG

- 5/8 UNF, special 961894

2шт.

9

K623515

SEAL,16.38mm ID x 25.53mm OD x 3.2mm Thk

- washer, 5/8 in. 961894

2шт.

10

K961794

VALVE

- relief (pre-set assembly) 961894

1шт.

11

K913221

NO LONGER SERVICED

SPOOL - rate of lowering valve 961894

1шт.

12

K625108

SPRING

- 961894

1шт.

13

K909397

SPRING

- plug, 3/8 BSP, special 961894

1шт.

14

K916395

PLUNGER

- non-return valve 961894

1шт.

15

K625167

SPRING

- 961894

1шт.

16

K916397

PLUG

- 3/4 UNF, special 961894

1шт.

17

K623530

SEAL

- washer, 3/4 in. 961894

1шт.

18

NSS

NOT SOLD SEPARAT

PLUNGER - TCU valve (not supplied separately), 961894

1шт.

19

K17063

BALL

- steel, 1/4 in. 961894

1шт.

K626843

WASHER

- special 961894

1шт.

20

K625190

SPRING

- 961894

1шт.

21

K909398

CAP

- ferrule, 1/4 BSP 961894

1шт.

22

NSS

NOT SOLD SEPARAT

VALVE - spool (not supplied separately), 961894

1шт.

23

NSS

NOT SOLD SEPARAT

PLUNGER - latching valve (not supplied separately), 961894

1шт.

24

K625180

SPRING

- 961894

1шт.

25

K913971

PLUG

- 9/16 UNF, special 961894

1шт.

26

K912464

WASHER

- abutment plate 961894

1шт.

27

K24853

PIN

- dowel abutment plate to valve body

1шт.

K606803

SCREW

- Wedglock, 1/4 UNC abutment plate to valve body

1шт.

29

K920132

NEEDLE

- valve (supersedes 912528)

1шт.

30

K600211

BOLT

- 5/16 UNC x 2 1/4 in. valve to ramshaft bracket

1шт.

31

K608143

STUD

- 5/16 UNC valve to ramshaft bracket (supersedes 608120)

2шт.

9635082

NUT,5/16" - 18, Gr 5

- 5/16 UNC valve to ramshaft bracket

2шт.

K19481

SPRING WASHER

WASHER - lock, spring, 5/16 in. valve to ramshaft bracket

3шт.

32

K24779

O-RING,0.103" Thk x 0.424" ID, -11, Cl 6, 90 Duro

- 7/16 in. int. dia. valve to ramshaft bracket

2шт.

K962813

GASKET

KIT - gasket, seal pack--control valve

1шт.

Выбрано товаров: 0