Запчасти Case IH 880B (109) - FRONT BALLAST WEIGHTS, U731, OPTIONAL EQUIPMENT (12) - CHASSIS

Схема запчастей Case IH 880B - (109) - FRONT BALLAST WEIGHTS, U731, OPTIONAL EQUIPMENT (12) - CHASSIS
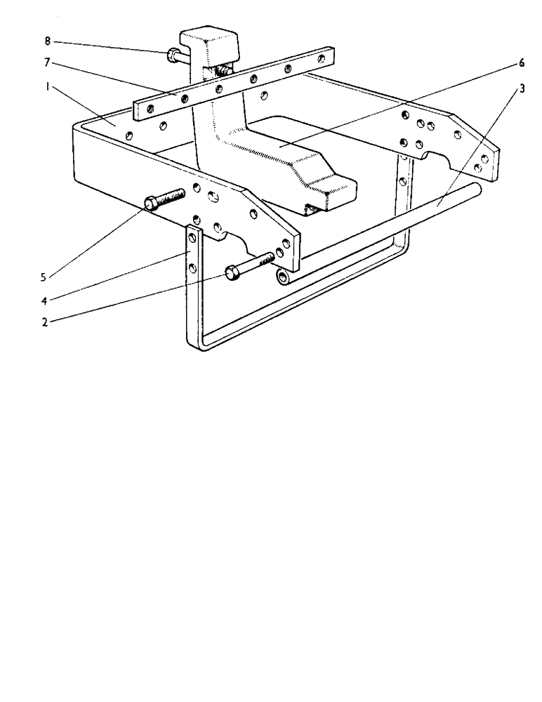
5
2
8
7
6
4
3
1
FIT
1:1
100%

Артикул

Название

Примечание

Количество

1

K916699

SUPPORT

- frame

1шт.

2

K601355

BOLT

- 5/8 UNC x 1 7/8 in. frame to front extension (replaces 601203)

6шт.

K19475

WASHER

- 5/8 in. frame to front extension

16шт.

K19485

WASHER

- spring, 5/8 in. frame to front extension

6шт.

3

K916586

BUSHING

- spacer bar frame to front extension

1шт.

4

K915386

BRACKET

- stirrup

1шт.

5

K603305

BOLT

- setscrew, 5/8 UNC x 1 3/8 in., Serial Range: stirrup-extension

4шт.

K19485

WASHER

- spring, 5/8 in., Serial Range: stirrup-extension

4шт.

6

K916700

WEIGHT

- ballast

6шт.

7

K915388

BAR

- locking

1шт.

8

K601366

BOLT

- 5/8 UNC x 3 1/2 in. weights to locking bar (replaces 601214)

6шт.

K19485

WASHER

- spring, 5/8 in. weights to locking bar

6шт.

Выбрано товаров: 12