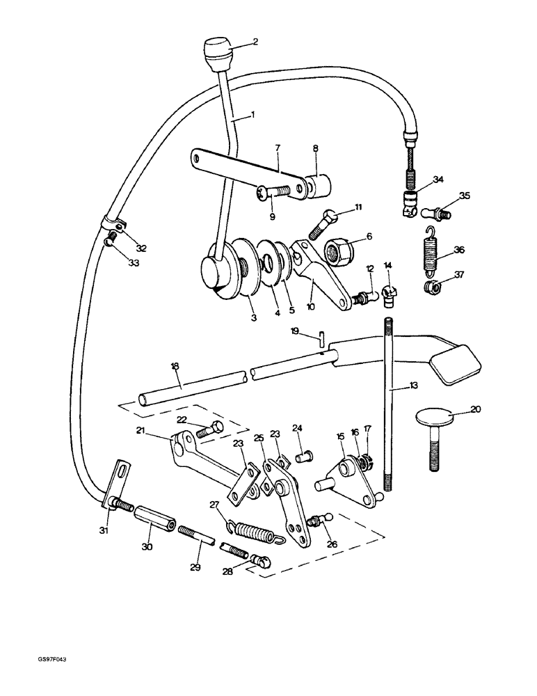
Запчасти Case IH 885 (3-08) - ENGINE THROTTLE CONTROLS, 885LP, 885Q, 885QH AND 885SK TRACTORS (03) - FUEL SYSTEM

Схема запчастей Case IH 885 - (3-08) - ENGINE THROTTLE CONTROLS, 885LP, 885Q, 885QH AND 885SK TRACTORS (03) - FUEL SYSTEM
18
10
37
12
3
36
13
30
27
25
6
26
29
9
32
23
14
28
35
4
21
33
16
15
24
7
11
22
20
2
34
1
23
31
8
17
5
FIT
1:1
100%

Артикул

Название

Примечание

Количество

1

K956110

THROTTLE

LEVER - hand, throttle control, tractor serial number 11015524 and after, no longer available

1шт.

1

K951915

LEVER

- hand, throttle control, tractor serial numbers prior to 11015524, no longer available

1шт.

2

K950493

KNOB

- throttle control

1шт.

3

K950724

DISC

- friction

1шт.

4

K626740

WASHER

- Belleville, 5/8 inch

1шт.

5

K626855

WASHER

- flat, 5/8 inch, tractor serial numbers, Serial Range: prior-11015524

1шт.

6

131-377

LOCK NUT,5/8"-11, GC

NUT - Nyloc, 5/8 inch NF, tractor serial numbers prior to 11015524

1шт.

7

K950723

STRIP

- guide, no longer available

1шт.

8

K950722

BUSHING

SPACER - throttle control, no longer available

2шт.

9

K603929

SCREW

- hex, 1/4 NC x 1-1/4 inch, no longer available

2шт.

492-11025

LOCK WASHER,1/4"

WASHER, LOCK, (Replaces washer K626341) 1/4"

2шт.

10

K950714

LEVER

- throttle control, tractor serial numbers prior to 11015524, no longer available

1шт.

492-11025

LOCK WASHER,1/4"

WASHER, LOCK, , Tractor S/N's prior to 11015524 1/4"

1шт.

425-104

NUT,1/4"-20, Cl 5

- hex, 1/4 inch NC, tractor serial numbers prior to 11015524

1шт.

12

K621904

BALL JOINT

BALL - end

1шт.

492-11025

LOCK WASHER,1/4"

WASHER, LOCK, (Replaces washer K626341) 1/4"

1шт.

425-114

NUT,1/4"-28, G5

(Replaces nut K616980) 1/4"-28, G5

1шт.

13

K950725

ROD

- throttle control, no longer available

1шт.

14

K621903

BALL JOINT

SOCKET - end

2шт.

425-114

NUT,1/4"-28, G5

(Replaces nut K616980) 1/4"-28, G5

2шт.

15

K950715

LEVER

- override, no longer available

1шт.

16

K626922

SHIM,.030" Thk

- throttle control, 0.039 inch, no longer available

1шт.

17

K621562

RING, SNAP

CIRCLIP - external, 3/8 inch diameter

1шт.

18

K951977

PEDAL

- accelerator, includes cross shaft, used with 885Q, 885QH and 885Sk tractors, no longer available

1шт.

18

K201672

PEDAL

- accelerator, used with 885LP tractor, no longer available

1шт.

K626686

WASHER

- flat, 1/2 inch, cross shaft, used with 885Q, 885QH and 885Sk tractors

1шт.

19

138-43

LOCK PIN,3/32" x 7/8", Slotted

PIN, , Cross shaft, used with 885Q, 885QH and 885Sk tractors (Replaces pin K623943) 3/32" x 7/8", Slotted

1шт.

K201744

PEDAL

BAR - pedal, used with 885LP tractors, no longer available

1шт.

K201673

SHAFT

- cross, used with 885LP tractors, no longer available

1шт.

K602846

SCREW,5/16" - 18 x 5/8", Gr S

- hex, 5/16 NC x 5/8 inch, pedal to pedal bar, used with 885LP tractors

2шт.

492-11031

LOCK WASHER,5/16"

WASHER, LOCK, , pedal to pedal bar, used with 885LP tractors 5/16"

2шт.

38-11014

LOCK PIN,5/32" x 7/8", Slotted

Pin, , with 885LP tractors (Replaces pin K623941) 5/32" x 7/8", Slotted

1шт.

K624960

SPRING

- throttle control, used with 885LP tractors, no longer available

1шт.

K950730

SPRING - anchor, used with 885LP tractors, no longer available

1шт.

20

K952111

STOP

- pedal, with 885Q, 885QH and 885Sk tractors, no longer available

1шт.

B90395

NUT - hex, 1/4 inch NC, used with 885Q, 885QH and 885Sk tractors, no longer available

1шт.

21

K954122

LEVER

- throttle control, no longer available

1шт.

126-11

WOODRUFF KEY,#5, 1/8" x 5/8"

Tractor S/N 11005148 and after (Replaces key K19604) #5, 1/8" x 5/8"

1шт.

492-11025

LOCK WASHER,1/4"

WASHER, LOCK, , Lever to cross shaft (Replaces washer K626341) 1/4"

1шт.

425-104

NUT,1/4"-20, Cl 5

- hex, 1/4 inch NC, lever to cross shaft (Replaces nut K607043)

1шт.

23

K954498

LINK

- throttle control, lever to intermediate lever, no longer available

2шт.

24

K913180

PIN

- clevis, 1/4 x 1/2 inch, lever to intermediate lever

2шт.

K626662

WASHER

- flat, 1/4 inch, lever to intermediate lever (Replaces washer K19470)

1шт.

432-48

COTTER PIN,1/16" x 1/2"

PIN, SPLIT (COTTER), , Lever to intermediate lever (Replaces pin K623605) 1/16" x 1/2"

2шт.

25

K949051

LEVER

- intermediate, no longer available

1шт.

26

K621905

BALL

- end

1шт.

492-11025

LOCK WASHER,1/4"

WASHER, LOCK, , Lever to cross shaft (Replaces washer K626341) 1/4"

1шт.

K19401

NUT

- hex, 1/4 BSF

1шт.

27

K624960

SPRING

- return

1шт.

28

K621903

BALL JOINT

SOCKET - end

1шт.

425-114

NUT,1/4"-28, G5

(Replaces nut K616980) 1/4"-28, G5

1шт.

29

K950721

ROD

- lever to adjusting sleeve

1шт.

K617593

NUT

- hex, 1/4 inch NF, left-hand

1шт.

30

K949065

SLEEVE

- adjusting, 1/4 inch NF

1шт.

425-114

NUT,1/4"-28, G5

(Replaces nut K616980) 1/4"-28, G5

1шт.

31

K950872

CABLE

- inner and outer, no longer available

1шт.

32

K621715

CLIP

- throttle control, cable to manifold, no longer available

1шт.

425-106

NUT,3/8"-16, Cl 5

Cable to manifold (Replaces nut K607045) 3/8"-16, G5

1шт.

33

K12189

SCREW

- hex, 2 BA x 1/2 inch, cable to pump bracket

1шт.

492-11010

LOCK WASHER,#10

WASHER, LOCK, , Cable to pump bracket (Replaces washer K626340) #10

1шт.

K11109

NUT

- hex, 2 BA, cable to pump bracket

1шт.

34

K621901

BALL JOINT

SOCKET - end

1шт.

225-14210

NUT,#10-32

(Replaces nut K617080) #10-32

1шт.

35

K621904

BALL JOINT

BALL - end

1шт.

492-11025

LOCK WASHER,1/4"

WASHER, LOCK, , Lever to cross shaft (Replaces washer K626341) 1/4"

1шт.

425-114

NUT,1/4"-28, G5

(Replaces nut K616980) 1/4"-28, G5

1шт.

36

K624938

SPRING

- return

1шт.

37

K617500

NUT

- hex, special, 1/4 inch NF, spring anchor, no longer available

1шт.

11

413-420

BOLT,Hex, 1/4" - 20 x 1-1/4", Gr 5

Tractor S/N's prior to 11015524 (Replaces bolt K600153) Hex, 1/4"-20 x 1 1/4", G5

1шт.

22

413-420

BOLT,Hex, 1/4" - 20 x 1-1/4", Gr 5

Lever to cross shaft Hex, 1/4"-20 x 1 1/4", G5

1шт.

Выбрано товаров: 70