Запчасти Case IH 885 (A68) - ENGINE, MANIFOLDS AND SILENCER, 885 GASOLINE TRACTORS (01) - ENGINE

Схема запчастей Case IH 885 - (A68) - ENGINE, MANIFOLDS AND SILENCER, 885 GASOLINE TRACTORS (01) - ENGINE
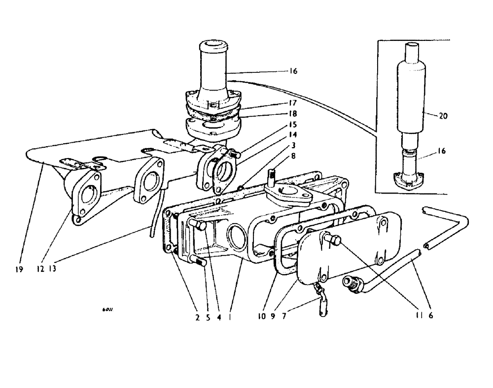
13
10
3
16
8
2
20
6
9
16
11
1
19
18
4
7
15
17
12
5
14
FIT
1:1
100%

Артикул

Название

Примечание

Количество

1

K962365

MANIFOLD

inlet

1шт.

K17197

PLUG

CORE PLUG, 1-5/8 in. dia.

2шт.

2

K923841

MANIFOLD GASKET

manifold to cylinder head

1шт.

3

K900380

O-RING,0.487" ID x 0.693" OD x 0.103"

'O' RING, 1/2 in. internal dia., manifold to cylinder head

1шт.

4

K600203

BOLT,Hex, 5/16" - 18 x 1 1/4", Gr 5

5/16 UNC x 1-1/4 in., manifold to cylinder head

3шт.

5

K608142

STUD

5/16 UNC x 2-3/16 in., manifold to cylinder head

1шт.

K19471

WASHER

5/16 in., manifold to cylinder head

4шт.

9635082

NUT,5/16" - 18, Gr 5

5/16 UNC, manifold to cylinder head

1шт.

6

K924488

PIPE

manifold to water pump

1шт.

7

K926479

PIPE

inlet manifold drain

1шт.

K621682

CLIP

drain pipe

1шт.

8

K608122

STUD

5/16 UNC x 1-5/8 in., Serial Range: manifold-carburettor

2шт.

9

K942657

COVER

PLATE

1шт.

10

K924209

GASKET

, Serial Range: cover-manifold

1шт.

11

K600220

BOLT

5/16 UNC x 3-3/4 in., Serial Range: cover-manifold

4шт.

K14988

WASHER

5/16 in., Serial Range: cover-manifold

4шт.

12a

K907910

MANIFOLD

vertical exhaust

1шт.

13

K917523

PIPE

exhaust manifold drain

1шт.

12b

K914087

MANIFOLD ASSY

MANIFOLD, downswept exhaust

1шт.

14

K907344

MANIFOLD GASKET

manifold to cylinder head

3шт.

15

K608203

STUD

3/8 UNC x 1-7/16 in., manifold to cylinder head

6шт.

280136

NUT,3/8"-16, G8

Manifold to cylinder head 3/8"-16, G8

6шт.

16

K912440

FITTING

EXHAUST FLANGE

1шт.

17

K912441

GASKET

, Serial Range: flange-manifold

1шт.

18

K608203

STUD

3/8 UNC x 1-7/16 in., Serial Range: flange-manifold

3шт.

280136

NUT,3/8"-16, G8

Flange to manifold 3/8"-16, G8

3шт.

19a

K942917

GUARD

HEAT SHIELD, vertical exhaust manifold

1шт.

19b

K942918

GUARD

HEAT SHIELD, downswept exhaust manifold

1шт.

K617581

NUT

1/2 UNF

1шт.

20

K924341

MUFFLER

SILENCER, vertical exhaust

1шт.

885 = E43947. Refer to P B 11-78

1шт.

6074-256 California Muffler. 10/13/95

1шт.

Выбрано товаров: 32