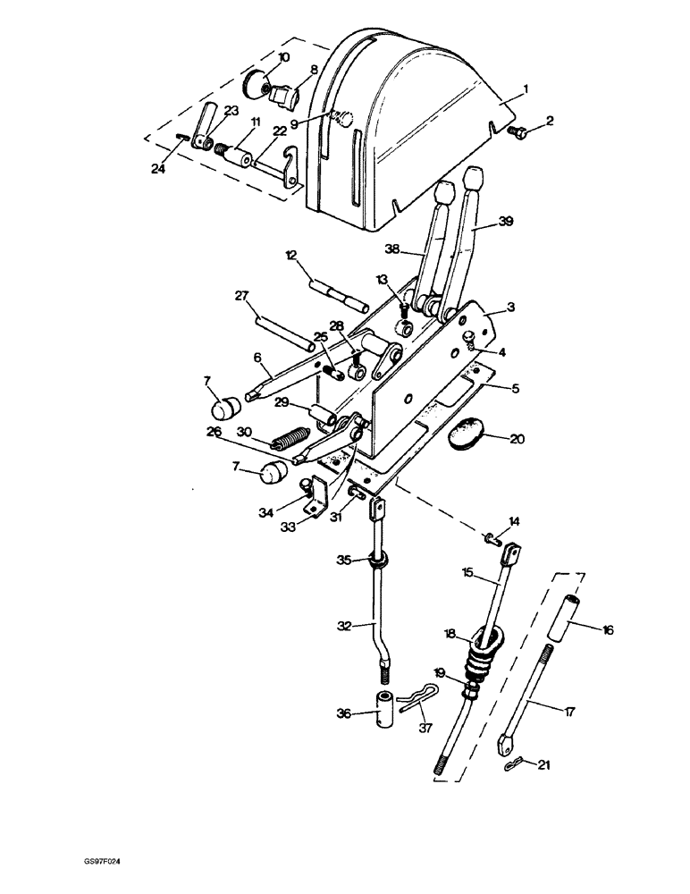
Запчасти Case IH 885N (8-06) - CONTROL LEVERS AND QUADRANT, 885Q, 885QH AND 885SK TRACTORS (08) - HYDRAULICS

Схема запчастей Case IH 885N - (8-06) - CONTROL LEVERS AND QUADRANT, 885Q, 885QH AND 885SK TRACTORS (08) - HYDRAULICS
10
29
28
33
19
17
4
30
27
20
39
13
25
32
3
5
37
31
7
12
8
35
16
15
23
22
18
36
26
9
24
14
11
21
38
6
1
2
34
7
FIT
1:1
100%

Артикул

Название

Примечание

Количество

1

K950732

PANEL

QUADRANT - control levers, no longer available

1шт.

2

K602846

SCREW,5/16" - 18 x 5/8", Gr S

- hex, 5/16 NC x 5/8 inch, Serial Range: quadrant-housing

4шт.

K626682

WASHER

- flat, 5/16 inch, Serial Range: quadrant-housing

4шт.

3

K950733

LEVER

HOUSING - control levers, no longer available

1шт.

4

K602846

SCREW,5/16" - 18 x 5/8", Gr S

- hex, 5/16 NC x 5/8 inch, Serial Range: housing-cab

4шт.

492-11031

LOCK WASHER,5/16"

WASHER, LOCK, , housing to cab (Replaces washer K19481) 5/16"

4шт.

5

K950882

MAT

- rubber, housing to cab, no longer available

1шт.

6

K950758

LEVER

- control, hydraulic system, no longer available

1шт.

7

K950493

KNOB

- control levers

2шт.

8

K947403

BRACKET

GUIDE - finger

2шт.

9

K909577

STUD

- special, 5/16 inch NF

2шт.

10

K921826

SERRATED NUT

- hand, 5/16 inch NF

2шт.

11

K952324

STOP

- control lever, no longer available

1шт.

K626314

WASHER

- flat, 7/16 inch, stop to quadant (Replaces washer K19473)

1шт.

492-11044

LOCK WASHER,7/16"

WASHER, LOCK, , Stop to quadant (Replaces washer K19483) 7/16"

1шт.

B88348

NUT

- hex, 7/16 inch NF, stop to quadant, no longer available (Replaces nut K616983)

1шт.

12

K950862

SHAFT

- control lever

1шт.

13

K619204

SCREW

- hex, No. 10 NF x 1/2 inch, no longer available

1шт.

14

K950866

LARGE PIN

PIN - clevis

1шт.

432-48

COTTER PIN,1/16" x 1/2"

PIN, SPLIT (COTTER), (Replaces pin K623605) 1/16" x 1/2"

1шт.

15

K950843

ROD

- control, long, no longer available

1шт.

B88347

NUT - hex, 3/8 inch NF, no longer available (Replaces nut K616982)

1шт.

16

K950846

NUT

SLEEVE - adjusting

1шт.

129-289

JAM NUT,Jam, 3/8"-24, G5, LH

(Replaces nut K622808) Jam, 3/8"-24, G5, LH

1шт.

17

K951295

ROD

- control, short (Replaces rod K950840)

1шт.

18

K950691

SEAL

GAITER - control rod, no longer available

1шт.

19

K950871

BUSHING

- nylon, halves, no longer available

2шт.

20

K627734

GROMMET

- control lever, no longer available

2шт.

21

K950865

CLIP

- spring, control rod

1шт.

K626662

WASHER

- flat, 1/4 inch (Replaces washer K19470)

2шт.

22

K952325

CATCH

- control lever, if used, no longer available

1шт.

23

K952328

CATCH

LEVER - catch, if used

1шт.

24

138-38

LOCK PIN,3/32" x 9/16", Slotted

PIN - catch, if used (Replaces pin K623973)

1шт.

25

K952336

STOP

STUD - special, 1/4 inch NC, no longer available

1шт.

492-11025

LOCK WASHER,1/4"

WASHER, LOCK, , If used (Replaces washer K19480) 1/4"

1шт.

425-104

NUT,1/4"-20, Cl 5

- hex, 1/4 inch NC, if used (Replaces nut K607043)

1шт.

26

K950769

LEVER

- control, dump valve

1шт.

27

K950863

SHAFT

- dump lever

1шт.

28

K616414

SCREW

- hex, No. 10 NF x 1/2 inch, no longer available

1шт.

29

K950898

BUSHING

SPACER - control lever

1шт.

30

K624922

SPRING

- return

1шт.

31

K950866

LARGE PIN

PIN - clevis

1шт.

432-48

COTTER PIN,1/16" x 1/2"

PIN, SPLIT (COTTER), 1/16" x 1/2"

1шт.

32

K950856

VALVE

ROD - connecting, no longer available

1шт.

33

K952523

BRACKET

- stop, lever, no longer available

1шт.

34

K602846

SCREW,5/16" - 18 x 5/8", Gr S

- hex, 5/16 NC x 5/8 inch, Serial Range: bracket-cab

1шт.

492-11031

LOCK WASHER,5/16"

WASHER, LOCK, , bracket to cab (Replaces washer K19481) 5/16"

1шт.

35

K950867

GROMMET

- rod connecting, no longer available

1шт.

36

K950894

CONNECTOR, ELEC

SLEEVE - connecting, 5/16 inch NF, no longer available

1шт.

425-115

NUT,5/16"-24, G5

- hex, 5/16 inch NF (Replaces nut K616981)

1шт.

37

K624874

SPRING

CLIP - spring

1шт.

38

K950762

LEVER

- hand, live take-off valve, parts list page 8-43, no longer available

1шт.

39

K950766

LEVER

- hand, live take-off valve, parts list Fig. 8-40, no longer available

1шт.

Выбрано товаров: 53