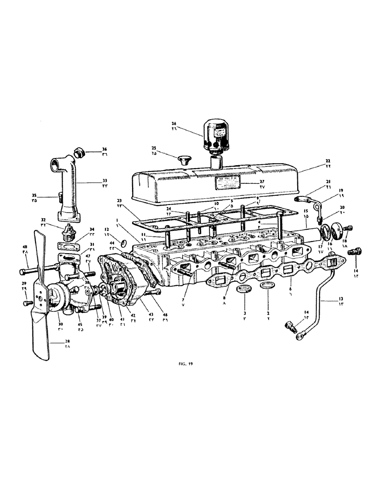
Запчасти Case IH 950 (054) - CYLINDER HEAD, COVER AND WATER PUMP (02) - ENGINE

Схема запчастей Case IH 950 - (054) - CYLINDER HEAD, COVER AND WATER PUMP (02) - ENGINE
34
19
46
35
47
6
18
1
14
36
13
39
40
43
28
3
26
37
8
22
23
12
2
31
29
38
45
16
41
33
7
20
14
4
17
5
48
10
21
9
44
11
32
25
30
24
17
42
15
FIT
1:1
100%

Артикул

Название

Примечание

Количество

K36286

Cylinder Head--Complete with Valves, Standard and Rockers

1шт.

1

K31201

Cylinder Head--Complete with Valve, Standard Guides and Plugs

1шт.

2

K65176

Seat I-Inlet Salvage only

1шт.

3

K62034

INSERT

Seat -Exhaust Salvage only

1шт.

4

K19299

BOLT (SPREADER)

1/2" B.S.F. x 5" L. Cylinder Head to Cylinder Block

9шт.

K19405

Nut--Plain, 1/2" B.S.F. Cylinder Head to Cylinder Block

5шт.

5

K37957

Lifting -1/2" B.S.F. Cylinder Head to Cylinder Block

1шт.

6

K10423

GASKET

1шт.

7

K10660

STUD

S3/8" B.S.F. x 1 5/16" L.

4-5шт.

8

K11083

Stud--7/16" B.S.F. x 1 11/32" L. Manifold to Cylinder Head

2шт.

K19423

NUT

Plain, 3/8" B.S.F. (Brass) Manifold to Cylinder Head

4-5шт.

K19424

Nut--Plain, 7/16" B.S.F. (Brass) Manifold to Cylinder Head

2шт.

9

K10402

Stud--1/2" B.S.F. x 5 1/2" L. Cylinder Head

6шт.

10

K11026

Stud--3/8" B.S.F. x 3 3/4" L Rocker Shaft Brackets

8шт.

11

K31674

LOCK VALVE

Guide

8шт.

K36236

Guide--.005" oversize

1шт.

12

K10448

PLUG

Welch -3/4" dia.

4шт.

13

K35933

Oil Pipe--Block to Cylinder Head

1шт.

14

K30131A

X

Banjo Bolt--(Code No. 00024)

2шт.

K14674

WASHER

Copper

2шт.

K15030

WASHER

Copper

2шт.

15

K10427

Tube--Water Distributor

1шт.

16

K10404

Water Distributor Tube

1шт.

17

K10405

GASKET

End Cover to Cylinder Head

1шт.

18

K19241

BOLT

3/8" B.S.F. x 1" L. End Cover to Cylinder Head

2шт.

K19482

SPRING WASHER

Spring, 3/8" dia. End Cover to Cylinder Head

2шт.

19

K12035

Oil Pipe--Cylinder Head to Rocker Shaft

1шт.

20

K19584

ADAPTER

1/8" Gas Pipe to Cylinder Head and Rocker Shaft

1шт.

K19504

WASHER,9.92mm ID x 14.29mm OD x 2mm Thk

Fibre, 1/8" Gas Pipe to Cylinder Head and Rocker Shaft

2шт.

21

K19587

FITTING

Elbow--1/8" Gas Pipe to Cylinder Head and Rocker Shaft

1шт.

22

K10411

Cover--Cylinder Head

1шт.

23

K10408

GASKET

1шт.

24

K10409

Stud--3/8" B.S.F. x 5 1/4" L. Cover to Cylinder Head

2шт.

25

K10410

Thumb Nut--3/8" B.S.F. Cover to, Alternative 60826 Cylinder Head

2шт.

K19472

WASHER

Plain, 3/8" dia. Cover to Cylinder Head

2шт.

26

K10412

Breather--A.C. Sphinx 1527507

1шт.

27

K36446

Instruction Plate

1шт.

K19650

Rivet--Rd. Hd., 1/8" dia. x 1/4" L.

4шт.

K902193

PUMP

Water -Complete (Non-adjustable Fan Pulley), Comprising Refs. 30, 31 and 37 - 41

1шт.

28

K30668

FAN

--(2 Blade), water pump and fan

2шт.

29

K19256

3/8" B.S.F. x 3/4" L., water pump and fan

4шт.

K19482

SPRING WASHER

Spring 3/8" dia., water pump and fan

4шт.

30

K68056

FAN

Pulley--(One Piece, Non-Adjustable), water pump and fan

1шт.

K622251

FITTING

Grease Nipple--Straight For Shaft and Bearing, water pump and fan

1шт.

31

K88896

Body--, water pump and fan

1шт.

32

K900368

THERMOSTAT

water pump and fan

1шт.

33

K88825

Outlet, water pump and fan

1шт.

34

K30653

GASKET

Outlet Pipe to Body, water pump and fan

1шт.

35

K19222

BOLT

5/16" B.S.F. x 1" L. Outlet Pipe to Body, water pump and fan

2шт.

K19481

SPRING WASHER

Spring, 5/16" dia. Outlet Pipe to, water pump and fan

2шт.

36

K619525

PLUG

water pump and fan, 5/8" U.N.F.

1шт.

K626444

WASHER

Copper, water pump and fan

1шт.

37

K11651

BEARING

Shaft -Impeller, water pump and fan

1шт.

38

K11672

SCREW,3/64" x 19/32"

Locating Bearing in Body, water pump and fan

1шт.

K11673

WASHER

Tab, water pump and fan

1шт.

39

K11652

SLINGER

Thrower (Supplied with Bearing), water pump and fan

1шт.

40

K68949

SEAL

Gland --Super S.C.D 296/50, water pump and fan

1шт.

41

K902131

TURBINE

Impeller, water pump and fan

1шт.

42

K11660

GASKET

Support Plate Body, water pump and fan

1шт.

43

K89652

Support, water pump and fan

1шт.

44

K11622

GASKET

Body to Support Plate and Support Plate to Cylinder Head, water pump and fan

1шт.

45

K19247

3/8" B.S.F. x 1 3/4" L. Body to Support Plate and Support Plate to Cylinder Head, water pump and fan

1шт.

46

K19241

BOLT

3/8" B.S.F. x 1" L. Body to Support Plate and Support Plate to Cylinder Head, water pump and fan

1шт.

47

K19252

3/8" B.S.F. x 2 3/4" L. Body to Support Plate and Support Plate to Cylinder Head, water pump and fan

3шт.

48

K11254

bolt--3/8" B.S.F. x 4 1/2" L. Body to Support Plate and Support Plate to Cylinder Head, water pump and fan

1шт.

K19403

NUT

Plain, 3/8" B.S.F., water pump and fan

6шт.

K19482

SPRING WASHER

Spring, 3/8" dia., water pump and fan

6шт.

K903213

PACKAGE, REPAIR

Water Pump Repair Pack, fan

1шт.

Выбрано товаров: 68