Запчасти Case IH 950 (070) - AIR CLEANER, KEROSENE (02) - ENGINE

Схема запчастей Case IH 950 - (070) - AIR CLEANER, KEROSENE (02) - ENGINE
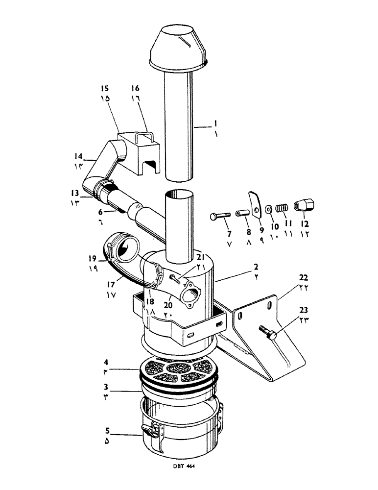
12
3
21
14
16
1
7
22
17
8
15
10
2
23
20
4
18
9
19
13
11
6
5
FIT
1:1
100%

Артикул

Название

Примечание

Количество

1

K89399

Pre-Cleaner

1шт.

2

K897362

Air Cleaner--Complete

1шт.

3

K900218

FILTER, ELEMENT

Lower Element

1шт.

4

K902981

SPARE PART

Rubber Sealing Ring

2шт.

5

K903432

Bowl (with Toggle Clips)

1шт.

6

K89099

Control Valve

1шт.

7

K11839

Bolt--2 B.A.x7/8" L.

1шт.

8

K60128

Distance Piece

1шт.

9

K61791

Friction Plate

1шт.

10

K12939

WASHER

--Plain, 3/16" dia.

1шт.

11

K12940

SPRING

1шт.

12

K12941

Special Nut--2 B.A.

1шт.

13

K13079

NO LONGER SERVICED

Clip

1шт.

14

K89316

Pipe--Air, Serial Range: Intake-Manifold

1шт.

15

K30683

Shield

1шт.

16

K30686

U Bolt--2 B.A.

1шт.

K11109

NUT

--Plain 2 B.A.

1шт.

17

K89813

ELBOW

(Rubber) Air Cleaner

1шт.

18

K13081

HOSE CLAMP

Hose Clip--2 1/4" dia.

1шт.

19

K13083

NO LONGER SERVICED

Hose Clip--2 1/2" dia.

1шт.

20

K39495

Elbow--Carburetter

1шт.

21

K19202

SPARE PART

Bolt--1/4" B.S.F. x 7/8" L., Serial Range: Elbow-Carburetter

2шт.

K19401

NUT

--Plain, 1/4" B.S.F., Serial Range: Elbow-Carburetter

2шт.

K19480

SPRING WASHER

--Spring, 1/4" dia., Serial Range: Elbow-Carburetter

2шт.

22

K89569

Bracket--Air cleaner (modified)

1шт.

23

K19346

Bolt--5/16" B.S.F. x 5/8" L. Cleaner to Bracket and, Serial Range: Bracket-Frame

8шт.

K19402

NUT

--Plain, 5/16" B.S.F. Cleaner to Bracket and, Serial Range: Bracket-Frame

4шт.

K19481

SPRING WASHER

Washer--Spring, 5/16" dia. Cleaner to Bracket and, Serial Range: Bracket-Frame

8шт.

K903381

NO LONGER SERVICED

Transfer

1шт.

Выбрано товаров: 29