Запчасти Case IH 950 (094) - HAND THROTTLE CONTROL, STEERING COLUMN (05) - STEERING

Схема запчастей Case IH 950 - (094) - HAND THROTTLE CONTROL, STEERING COLUMN (05) - STEERING
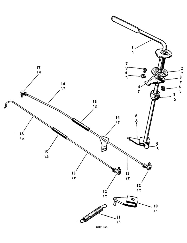
4
15
1
16
12
7
6
14
12
13
6
2
11
13
5
18
15
9
10
17
8
3
FIT
1:1
100%

Артикул

Название

Примечание

Количество

1

K903516

Hand Throttle Lever and Rod--Complete

1шт.

2

K85546

DISC

Friction Disc

1шт.

3

K903800

Stop Plate

1шт.

4

K626740

WASHER

Bellville Washer

1шт.

5

K623003

NUT

Nyloc Nut--5/8" B.S.F.

1шт.

K19475

WASHER

--Plain, 5/8" dia.

1шт.

6

K903802

Stop Pad

1шт.

7

K624716

Screw--Rd. Hd. 1/4" B.S.F. x 5/8" (Replaces 624715)

2шт.

K19480

SPRING WASHER

--Spring, 1/4" dia.

2шт.

K19470

WASHER

--Plain, 1/4" dia.

2шт.

K19440

NUT

Locknut--Used with 624716

2шт.

8

K89372

LEVER

2шт.

Order 900025 when Foot Throttle Control is fitted

1шт.

9

K19206

Bolt--1/4" B.S.F. x 1 3/8" L. Lever Fixing

2шт.

K19401

NUT

--Plain, 1/4" B.S.F. Lever Fixing

2шт.

K19480

SPRING WASHER

--Spring, 1/4" dia.

2шт.

K19470

WASHER

--Plain, 1/4" dia.

4шт.

10

K89824

Lever and Anchor Gasoline/Kerosene

1шт.

11

K14670

SPRING

Balance Spring

1шт.

12

K12431

BALL JOINT

(Alternative 901293)

1шт.

K19401

NUT

--Plain, 1/4" B.S.F.

1шт.

K19480

SPRING WASHER

--Spring, 1/4" dia.

1шт.

13

K89370

CONTROL BLOCK

Control Rod--Lever to Adjusting Sleeve

1шт.

Order 900023 when Foot Throttle Control is Fitted

1шт.

14

K89823

GUIDE

Bracket--Control Rod

1шт.

15

K38598

SLEEVE

Adjusting Sleeve

1шт.

K19401

NUT

--Plain, 1/4" B.S.F.

1шт.

K12285

NUT

--Plain, 1/4" B.S.F. L.H.

1шт.

16

K89371

ROD

Control Rod--Adjusting Sleeve to Governor, Diesel/Kerosene

1шт.

17

K12431

BALL JOINT

--(Alternative 901293) Diesel/Kerosene

1шт.

K19401

NUT

--Plain, 1/4" B.S.F. Diesel/Kerosene

1шт.

K19480

SPRING WASHER

--Spring, 1/4" dia.

1шт.

18

K905261

Throttle Control Rod (Replaces 89822)

1шт.

K19470

WASHER

--Plain, 1/4" dia. Rod Fixing

2шт.

K19520

PIN

Split Pin--1/16" dia. x 1/2" L. Rod Fixing

2шт.

Выбрано товаров: 35