Запчасти Case IH 950 (122) - CONTROL VALVE, HYDRAULIC PUMP (06) - POWER TRAIN

Схема запчастей Case IH 950 - (122) - CONTROL VALVE, HYDRAULIC PUMP (06) - POWER TRAIN
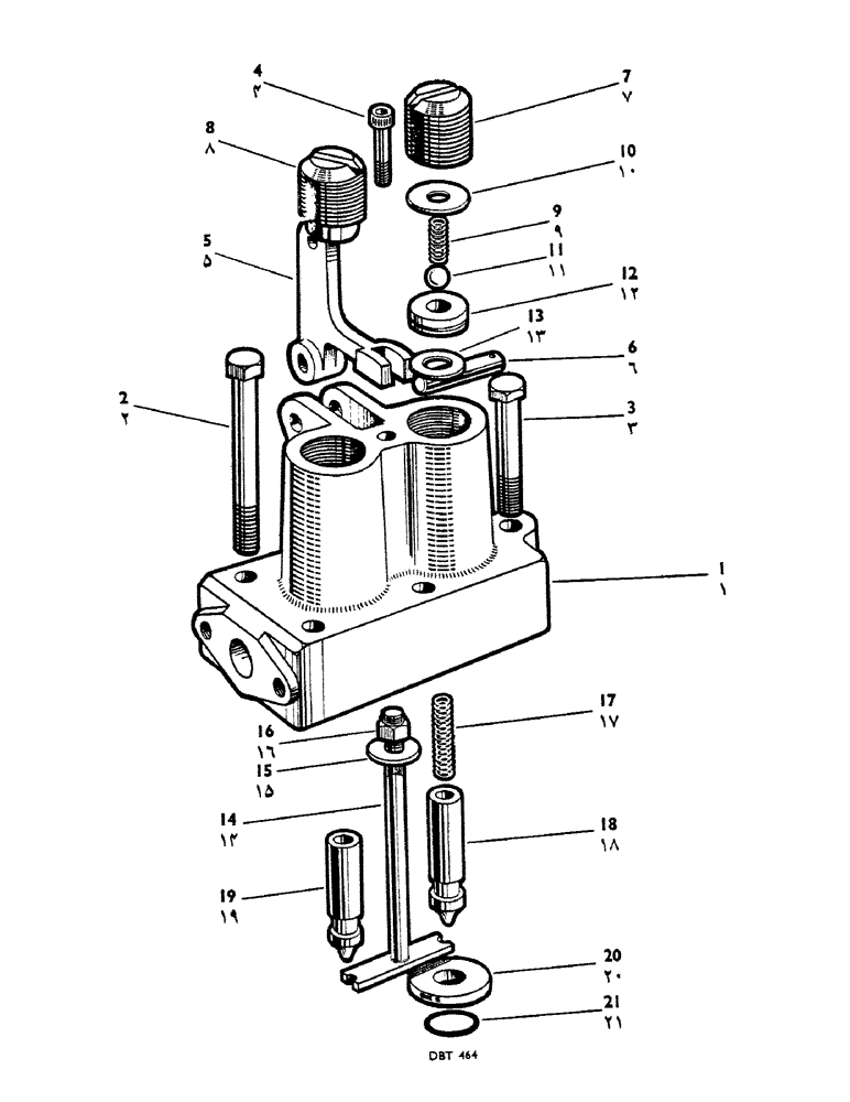
12
18
10
16
5
17
15
1
9
2
19
7
4
21
6
3
20
8
13
14
11
FIT
1:1
100%

Артикул

Название

Примечание

Количество

K960632

SPARE PART

Control Valve--Complete, Comprising Refs. 1 and 5 - 19

1шт.

1

K904167

SPARE PART

Valve Housing and Plungers

1шт.

2

K24838

BOLT

--5/16" B.S.F. x 2 5/8" L.

2шт.

3

K19227

BOLT

--5/16" B.S.F. x 1 5/8" L.

2шт.

4

K624677

SCREW

Cap Screw--5/16" B.S.F. x 1 5/8" L.

1шт.

K19481

SPRING WASHER

Washer--Spring, 5/16" dia.

5шт.

5

K89246

BUZZER

Bell Crank

1шт.

6

K89247

PIN

--Bell Crank

1шт.

K19470

WASHER

--Plain, 1/4" dia.

2шт.

K11934

PIN

Split Pin--1/16" dia. x 5/8" L.

2шт.

7

K89238

SPARE PART

Special Plug--Valve Housing

1шт.

8

K901967

SEALING LEAD

Sealing Plug

1шт.

9

K24831

SPRING

1шт.

10

K89239

SHIM,.003" Thk

Nominal requirements .003" Thk

3шт.

10

K89240

SHIM,.007" Thk

Nominal requirements .007" Thk

3шт.

10

K89241

SHIM,.015" Thk

Nominal requirements .015" Thk

3шт.

11

K17063

BALL

Steel Ball--1/4" dia.

1шт.

12

K901965

SPARE PART

Ball Seat Insert

1шт.

13

K15735

WASHER

--Aluminium 17/32" dia.

2шт.

14

K89242

SPARE PART

Valve Operating Lever

1шт.

15

K89245

WASHER

Special Washer

1шт.

16

K12170

NUT

Nyloc Nut--1/4" B.S.F.

1шт.

17

K24832

SPRING

Valve Return Spring

2шт.

18

K89236

VALVE

Plunger--Control Valve

1шт.

19

K903298

SPARE PART

Plunger--Leak Off Valve

1шт.

20

K901638

VALVE

Seat--Plungers

2шт.

21

K24852

O-RING,0.103" Thk x 0.674" ID, -115, Cl 6, 90 Duro

Sealing Ring--Valve Seat

2шт.

Выбрано товаров: 27