Запчасти Case IH 990 (L32) - CHASSIS, BONNET, 885, 990, 995 AND 996 TRACTORS (12) - CHASSIS

Схема запчастей Case IH 990 - (L32) - CHASSIS, BONNET, 885, 990, 995 AND 996 TRACTORS (12) - CHASSIS
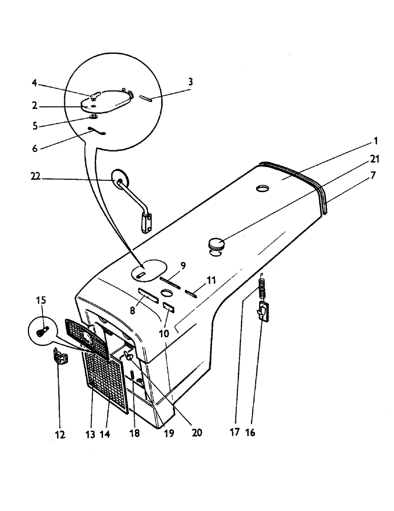
11
13
8
20
18
10
12
21
9
19
6
17
3
14
2
16
4
15
5
22
1
7
FIT
1:1
100%

Артикул

Название

Примечание

Количество

1a

K961898

GUARD

BONNET ASSEMBLY (990, 995, 996), Includes: Ref. 2 - 11 and rivet

1шт.

1b

K963604

HOOD

BONNET ASSEMBLY (885 Diesel), Includes: Ref. 2 - 11 and rivet

1шт.

Used on model 885, S/N 620001 and after

1шт.

Used on model 885G, S/N 651001 and after

1шт.

1c

K963605

HOOD

BONNET ASSEMBLY (885 Gasoline), Includes: Ref. 2 - 11 and rivet

1шт.

Used on model 885, S/N 620001 and after

1шт.

Used on model 885G, S/N 651001 and after

1шт.

1d

K962350

HOOD ASSY.

BONNET ASSEMBLY (885), Includes: Ref. 2 - 11 and rivet

1шт.

Used on model 885, up to S/N 620001

1шт.

Used on model 885G, up to S/N 651001

1шт.

2

K962015

COVER

HATCH COVER, Includes: Ref. 3 - 5

1шт.

3

K914557

SPRING

PIN, hatch pivot

1шт.

4

K942158

LEVER

1шт.

K626956

WASHER

FIBRE WASHER, 7/16 in

1шт.

K626899

SHIM

BRASS WASHER, 7/16 in

1шт.

5

K621588

RING, SNAP

CIRCLIP, 7/16 in external

1шт.

6

K917749

FASTENER

SPRING, hatch fastener

1шт.

K11405

RIVET

1/8 x 3/8 in

2шт.

K19495

WASHER

1/8 in

2шт.

7a

K915789

BEAD

ING (990, 995, 996)

1шт.

K624151

RIVET

1/8 x 1/8 in (990, 995, 996)

9шт.

7b

K914063

BEAD

ING, (use with K963604) (885)

1шт.

7b

K943269

BEAD

ING, (use with K962350) (885)

1шт.

K624151

RIVET

1/8 x 1/8 in (885)

11шт.

8

K924651

BEAD

RUBBER BEADING, centre, 6-1/16 in long (885)

1шт.

9

K924653

STRIP

CLAMPING STRIP, centre, 6-3/16 in long (885)

1шт.

10

K924652

STRIP

RUBBER BEADING, off-centre, 3-1/4 in long (885)

1шт.

11

K924654

STRIP

CLAMPING STRIP, off-centre, 3-1/8 in long (885)

1шт.

K624153

RIVET

snap head (885)

5шт.

12

K951132

DECAL

MOTIF, replaces K947387

1шт.

Used on model 885G, S/N 651787 and after

1шт.

Used on model 885, S/N 636566 and after

1шт.

Used on model 990, S/N 866052 and after

1шт.

Used on model 995, S/N 933580 and after

1шт.

Used on model 996, S/N 987562 and after

1шт.

K916776

SPRING

RETAINER, motif

1шт.

Used on model 885, up to S/N 636566

1шт.

Used on model 885G, up to S/N 651787

1шт.

Used on model 990, up to S/N 866052

1шт.

Used on model 995, up to S/N 933580

1шт.

Used on model 996, up to S/N 987562

1шт.

13a

K915871

GRILLE

LOUVRE PLATE, sidemounted headlamps (990, 995, 996)

1шт.

13b

K916539

PLATE

LOUVRE PLATE, sidemounted headlamps (885)

1шт.

K915733

BUSHING

RETAINING BUSH, sidemounted headlamps

5шт.

K627999

PLUG

bonnet side, integral headlamps

2шт.

K914804

PLUG

bonnet nose, integral headlamps

4шт.

14a

K947644

GUARD

LOUVRE, bonnet (990, 995, 996)

1шт.

Ref #14a - K947644 Subs to K947842

1шт.

K943865

PRODUCT GRAPHIC

BACKING PIECE, louvre plate (990, 995, 996)

1шт.

14b

K947646

GRILLE

LOUVRE, bonnet (885)

1шт.

Ref #14b - K947646 Subs to K947840. 10/13/95

1шт.

K943954

BACKING PLATE

BACKING PIECE, louvre plate (885)

1шт.

K943954 Subs to K917052.

1шт.

15

K921811

FASTENER

louvre

2шт.

K916654

SHIM

BRACKET AND SPRING, louvre fastener (885)

2шт.

K915764

BRACKET

AND SPRING, louvre fastener (990, 995, 996)

2шт.

16a

K915791

GRIP

FINGER GRIP (990, 995, 996)

2шт.

17a

K624911

SPRING

(990, 995, 996)

2шт.

16b

K88680

GRIP

FINGER GRIP (885)

2шт.

17b

K24728

SPRING

(885)

2шт.

18

K608125

STUD

5/16 UNC x 1-3/4 in, bonnet to main frame (990, 995, 996)

2шт.

19a

K915627

WASHER

RUBBER WASHER, 5/16 in, bonnet to main frame (990, 995, 996)

2шт.

K626669

WASHER

5/16 in, special, bonnet to main frame (990, 995, 996)

2шт.

20

K607201

NUT

WING NUT, 5/16 UNC, bonnet to main frame (990, 995, 996)

2шт.

18

K608125

STUD

5/16 UNC x 1-3/4 in, bonnet to frame (885)

1шт.

19b

K913740

GROMMET

RUBBER WASHER 5/16 in, bonnet to frame (885)

1шт.

K19471

WASHER

5/16 in, bonnet to frame (885)

1шт.

20

K607201

NUT

WING NUT, 5/16 UNC, bonnet to frame (885)

1шт.

K913139

BUTTON

GROMMET, bonnet, bonnet to frame (885)

2шт.

21a

K926389

COVER

RUBBER INSERT, exhaust pipe aperture (990, 995, 996)

1шт.

21b

K914347

INSERT

RUBBER INSERT, exhaust pipe aperture, 2-3/4 in dia. (885)

1шт.

K965075

HOLDER

RUBBER INSERT, exhaust pipe aperture, 3-1/4 in dia.

1шт.

22

K915004

MIRROR

DRIVING MIRROR AND BRACKET, right-hand (optional equipment)

1шт.

K926980

MIRROR

DRIVING MIRROR AND BRACKET, left-hand (optional equipment)

1шт.

K915007

PLATE

BACKPLATE, bracket to bonnet (optional equipment)

1шт.

K612731

SCREW

SETSCREW, 1/4 UNC x 1/2 in, bracket to bonnet (optional equipment)

2шт.

K626341

SPRING WASHER

SPRING WASHER, 1/4 in, bracket to bonnet (optional equipment)

2шт.

K19814

HOLDER

LICENSE HOLDER (optional equipment)

1шт.

Выбрано товаров: 78