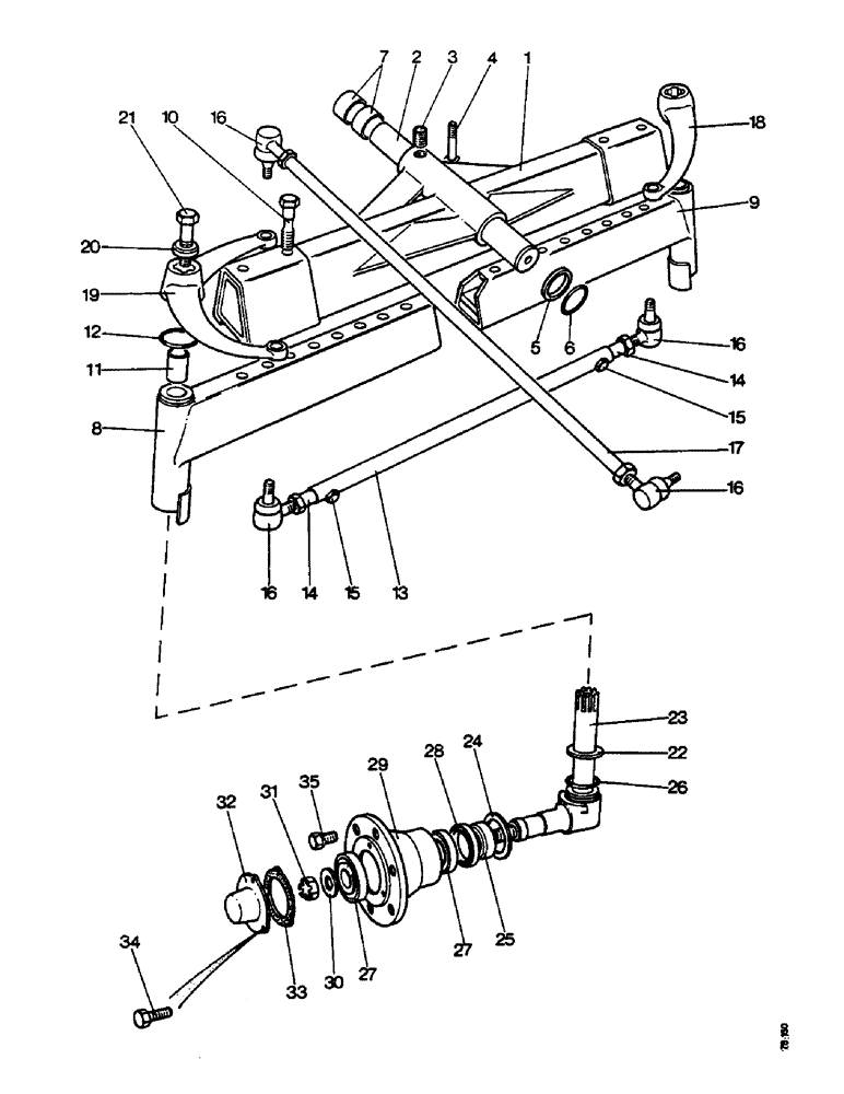
Запчасти Case IH 990 (H10) - STEERING AND FRONT AXLE, FRONT AXLE - STANDARD AND HIGH CLEARANCE, 990, 995 AND 996 TRACTORS Steering & Front Axle

Схема запчастей Case IH 990 - (H10) - STEERING AND FRONT AXLE, FRONT AXLE - STANDARD AND HIGH CLEARANCE, 990, 995 AND 996 TRACTORS Steering & Front Axle
26
15
12
11
20
7
34
16
27
19
22
28
18
30
16
8
31
14
25
29
17
35
5
6
16
3
16
2
21
32
13
1
24
23
10
4
33
15
27
9
14
FIT
1:1
100%

Артикул

Название

Примечание

Количество

1a

K915420

BEAM

CENTRE BEAM, 52 to 72 in track

1шт.

1b

K920871

BEAM

CENTRE BEAM, 56 to 80 in track

1шт.

2a

K947516

TRUNNION

PIN

1шт.

Used on model 990, S/N 866452 and after

1шт.

Used on model 995, S/N 934477 and after

1шт.

Used on model 996, S/N 987778 and after

1шт.

K623794

CORE

PLUG

1шт.

Used on model 990, S/N 866452 and after

1шт.

Used on model 995, S/N 934477 and after

1шт.

Used on model 996, S/N 987778 and after

1шт.

2b

K913091

PIN

TRUNNION PIN

1шт.

Used on model 996, up to S/N 987778

1шт.

Used on model 990, up to S/N 866452

1шт.

Used on model 995, up to S/N 934477

1шт.

K15596

RING,3.63mm Thk x 31.34mm ID

'O' RING, 1-1/4 in internal dia., trunnion pin

1шт.

3

K913092

NUT

BOLT, 3/8 UNC x 2-3/4 in

1шт.

4

K600505

BOLT

3/8 UNC x 2-3/4 in

1шт.

K19482

SPRING WASHER

SPRING WASHER, 3/8 in

1шт.

5

K915421

WASHER

THRUST WASHER

2шт.

REF# 5-IF LOOKING FOR A THRUST SLEEVE THAT HAS A LIP ON IT WITH SPECS OF APPOX: 3/4" LONG, 1.5 I.D. & 2.25" O.D P/N IS K907824. CAM (db) 10-20-98

1шт.

6

K15265

O-RING,0.21" Thk x 2.1" ID, -330, Cl 5, 75 Duro

'O' RING, 2-1/8 in internal dia.

2шт.

7

K15597

BUSHING

BUSH

4шт.

8a

K961230

BEAM

EXTENSION, left-hand, with bushes (standard clearance)

1шт.

8b

K961723

EXTENSION

BEAM EXTENSION, left-hand, with bushes (high clearance)

1шт.

8c

K962959

BEAM

EXTENSION, left-hand, with bushes (56 to 80 in track)

1шт.

9a

K961231

BEAM

EXTENSION, right-hand, with bushes (standard clearance)

1шт.

9b

K961724

EXTENSION

BEAM EXTENSION, right-hand, with bushes (high clearance)

1шт.

9c

K961231

BEAM

EXTENSION, right-hand (56 to 80 in track)

1шт.

10

K601471

BOLT

3/4 UNC x 3-1/8 in, special, replaces K601308

4шт.

K19486

WASHER, LOCK

SPRING WASHER, 3/4 in

4шт.

11

K11598

BUSHING

BUSH

4шт.

12

K15594

O-RING,0.139" Thk x 1.984" ID, -226, Cl 5, 75 Duro

'O' RING, 2 in internal dia.

2шт.

219-8

LUBE NIPPLE,1/4" - 28 NPTF

NIPPLE, LUBE, , ANF 1/4"-28 NPT x .54" lg

2шт.

13a

K912708

BUSHING

SPACER TUBE, 26-1/2 in, track rods (52 to 72 in track)

1шт.

13b

K920938

BUSHING

SPACER TUBE, 34-1/2 in, track rods (56 to 80 in track)

1шт.

14

K912709

ROD

TRACK ROD

2шт.

15

K600316

BOLT

5/16 UNC x 2-1/4 in

2шт.

9635082

NUT,5/16" - 18, Gr 5

5/16 UNC

2шт.

K19481

SPRING WASHER

SPRING WASHER, 5/16 in

2шт.

16

K908071

BALL JOINT

BALL SOCKET ASSEMBLY

4шт.

K961701

BOOT

DIRT EXCLUDER, (rubber)

4шт.

K622500

LOCK NUT

LOCKNUT, 3/4 in, special

4шт.

231-2448

LOCK NUT,1/2"-20, GB

NYLOC NUT, 1/2 UNF

4шт.

K943731

LINK

DRAG LINK, (complete), manual steering (996)

1шт.

K912076

LINK

DRAG LINK, (complete), manual steering (990, 995)

1шт.

17a

K943732

TUBE

DRAG LINK TUBE (996)

1шт.

17b

K909033

DRAG LINK

TUBE (990, 995)

1шт.

18

K912085

LEVER

STEERING LEVER, right-hand

1шт.

19a

K912084

LEVER

STEERING LEVER, left-hand, (manual steering) (52 to 72 in track)

1шт.

19b

K913924

LEVER

STEERING LEVER, left-hand, (hydrostatic steering) (52 to 72 in track)

1шт.

19c

K920868

STEERING LEVER, left-hand, (manual steering) (56 to 80 in track)

1шт.

19d

K926883

LEVER

STEERING LEVER, left-hand, (hydrostatic steering) (56 to 80 in track)

1шт.

20

K15595

WASHER

5/8 in, special

2шт.

21

K601210

BOLT (SPREADER)

BOLT, 5/8 UNC x 2-3/4 in

2шт.

K601214

BOLT

5/8 UNC x 3-1/2 in, (use with K920868 and K926883)

1шт.

K19485

WASHER

SPRING WASHER, 5/8 in

2шт.

22

K33682

WASHER,35.24mm ID x 55.56mm OD x 4.78mm Thk

THRUST WASHER

2шт.

23a

K961725

SHAFT

STUB AXLE ASSEMBLY (standard clearance)

2шт.

23b

K961781

SHAFT

STUB AXLE ASSEMBLY (high clearance)

2шт.

23c

K972923

SHAFT

STUB AXLE, (with front brake mounting flange), Includes: Ref. 24 & 25

2шт.

24

K906568

RING

DIRT EXCLUDER

2шт.

25

K906569

SLEEVE

oil seal

2шт.

26

K15594

O-RING,0.139" Thk x 1.984" ID, -226, Cl 5, 75 Duro

'O' RING, 2 in internal dia.

2шт.

K962985

BEARING ASSY

BEARING AND SEAL PACK, Includes: Ref. 27 & 28

2шт.

27

K620046

BEARING

TAPERED ROLLER BEARING

4шт.

28

K623450

OIL SEAL

OIL SEAL, 2-1/8 x 3 x 1/2 in

2шт.

29a

K910176

HUB

FRONT HUB

2шт.

29b

K971803

HUB

FRONT HUB, (with brake-drum flange)

2шт.

30

K626673

WASHER

3/4 in, special

2шт.

31

K617157

NUT

SLOTTED NUT, 3/4 UNF

2шт.

K623603

PIN

SPLIT PIN, 11/64 x 1-1/8 in, part of K962985

2шт.

32

K908913

CAP

HUB CAP

2шт.

33

K15344

GASKET,0.25mm Thk

part of K962985

2шт.

34

9627874

BOLT,Hex, 5/16" - 18 x 5/8", Gr 5, Full Thd

SETSCREW, 5/16 UNC x 5/8 in

6шт.

K19481

SPRING WASHER

SPRING WASHER, 5/16 in

6шт.

219-8

LUBE NIPPLE,1/4" - 28 NPTF

NIPPLE, LUBE, , ANF, Front hub 1/4"-28 NPT x .54" lg

2шт.

35a

K907400

WHEEL BOLT,1/2" - 13 x 1 1/8"

WHEEL BOLT, 1/2 UNC x 1 in (without front brakes)

12шт.

35b

K971809

WHEEL BOLT

WHEEL BOLT, 1/2 UNC x 2-1/4 in (with front brakes)

12шт.

K628086

PLUG,Cap, .848" OD

PLASTIC PLUG, beam extension holes

12шт.

Выбрано товаров: 79