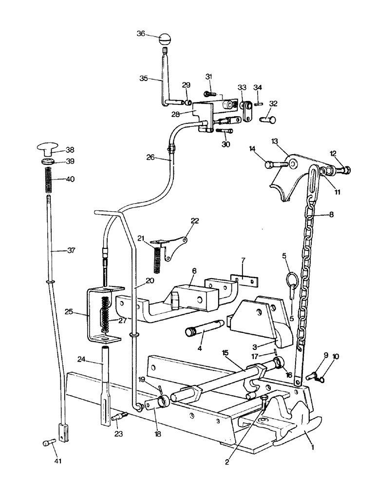
Запчасти Case IH 990 (K02-1) - DRAWBARS & HITCHES, PICK-UP HITCH - OPTNL EQIP,990-995-996, 990-995-996 Q (UP TO A) /( A & AFTER) Drawbars & Hitches

Схема запчастей Case IH 990 - (K02-1) - DRAWBARS & HITCHES, PICK-UP HITCH - OPTNL EQIP,990-995-996, 990-995-996 Q (UP TO A) /( A & AFTER) Drawbars & Hitches
39
36
11
8
38
27
3
31
5
25
32
28
22
20
23
5
9
18
30
12
21
14
4
24
2
19
37
15
10
17
13
1
26
34
35
40
16
6
33
41
29
7
FIT
1:1
100%

Артикул

Название

Примечание

Количество

K931405

SPARE PART

PICK-UP HITCH UNIT - U1819 (990, 995, 996), Includes: Ref. 1 - 41

1шт.

K932105

SPARE PART

PICK-UP HITCH UNIT - U2002, Includes: Ref. 1 - 41

1шт.

Used on models 990Q, 995Q, 996Q, up to S/N 11088330

1шт.

K932588

HITCH

PICK-UP HITCH UNIT - U4040, Includes: Ref. 1 - 41

1шт.

Used on models 990Q, 995Q, 996Q, S/N 11088330 and after

1шт.

1

K940590

HOOK

TOWING HOOK

1шт.

2

K601208

BOLT

- 5/8 UNC x 2-1/2 in. (Hook to drawbar frame)

2шт.

K19485

WASHER

SPRING WASHER - 5/8 in. (Hook to drawbar frame)

2шт.

K607006

NUT

- 5/8 UNC (Hook to drawbar frame)

2шт.

3

K947179

STOP

towing hook

1шт.

4

K919725

PIN,19.05mm OD x 111.13mm L

LINK PIN (Stop to bridge plate)

1шт.

5

K66408

PIN

LINCH PIN AND RING (Stop to bridge plate)

1шт.

6

K947176

PLATE

BRIDGE PLATE

1шт.

7

K947200

SHIM

- 1/16 in.

1шт.

K947201

SHIM

- 1/32 in.

1шт.

8

K947183

CHAIN (AG)

LIFT CHAIN

2шт.

9

K909503

PIN

LINK PIN (Chains to drawbar frame)

2шт.

10

K920359

PIN

LINCH PIN AND RING (Chains to drawbar frame)

2шт.

11

K942611

WASHER

SERRATED WASHER - 5/8 in.

2шт.

12

K942612

PIN

PIVOT PIN - 5/8 UNC

2шт.

K19475

WASHER

- 5/8 in.

2шт.

K607331

NUT

NYLOC NUT - 5/8 UNC

2шт.

13

K953068

ARM

LIFT ARM

2шт.

14

K601462

BOLT

- 3/4 UNC x 3 in.

2шт.

280954

NUT,3/4"-10, G5

- 3/4 UNC

2шт.

15

K940094

LATCH

1шт.

16

K940098

COLLAR

1шт.

17

K690732

SPRING

PIN - 3/16 x 1-3/4 in.

1шт.

18

K940097

LEVER

1шт.

19

K690732

SPRING

PIN - 3/16 x 1-3/4 in.

1шт.

20

K948345

ROD

- latch release (990, 995, 996)

1шт.

K19472

WASHER

- 3/8 in. (990, 995, 996)

1шт.

K19535

PIN

SPLIT PIN - 1/8 x 3/4 in. (990, 995, 996)

1шт.

21

K625251

SPRING

RETURN SPRING (990, 995, 996)

1шт.

22

K949586

SHIM

GUIDE BRACKET - release rod (990, 995, 996)

1шт.

23

K953533

PIN

- 3/8 UNC

1шт.

Used on models 990Q, 995Q, 996Q, up to S/N 11088330

1шт.

K19482

SPRING WASHER

SPRING WASHER - 3/8 in.

1шт.

Used on models 990Q, 995Q, 996Q, up to S/N 11088330

1шт.

280136

NUT,3/8"-16, G8

1шт.

Used on models 990Q, 995Q, 996Q, up to S/N 11088330

1шт.

Used on models 990Q, 995Q, 996Q, S/N 11088330 and after

1шт.

K19472

WASHER

- 3/8 in.

1шт.

Used on models 990Q, 995Q, 996Q, up to S/N 11088330

1шт.

Used on models 990Q, 995Q, 996Q, S/N 11088330 and after

1шт.

K19528

PIN

SPLIT PIN - 3/32 x 3/4 in.

2шт.

Used on models 990Q, 995Q, 996Q, up to S/N 11088330

1шт.

K19528

PIN

SPLIT PIN - 3/32 x 3/4 in.

1шт.

Used on models 990Q, 995Q, 996Q, S/N 11088330 and after

1шт.

24

K953186

LATCH

ROD - latch

1шт.

Used on models 990Q, 995Q, 996Q, up to S/N 11088330

1шт.

25

K953190

BRACKET

ANCHOR BRACKET

1шт.

Used on models 990Q, 995Q, 996Q, up to S/N 11088330

1шт.

26

K953170

CABLE

FLEXIBLE CABLE - inner and outer

1шт.

Used on models 990Q, 995Q, 996Q, up to S/N 11088330

1шт.

27

K625296

SPRING

RETURN SPRING

1шт.

Used on models 990Q, 995Q, 996Q, up to S/N 11088330

1шт.

K617051

NUT

LOCKNUT - 5/16 UNF

1шт.

Used on models 990Q, 995Q, 996Q, up to S/N 11088330

1шт.

28

K952255

BRACKET

PIVOT BRACKET

1шт.

Used on models 990Q, 995Q, 996Q, up to S/N 11088330

1шт.

29

K628759

BUSHING

BUSH - pivot bracket

2шт.

Used on models 990Q, 995Q, 996Q, up to S/N 11088330

1шт.

30

K600154

BOLT

- 1/4 UNC x 1-3/4 in., Serial Range: (Bracket-cable)

1шт.

Used on models 990Q, 995Q, 996Q, up to S/N 11088330

1шт.

K626341

SPRING WASHER

SPRING WASHER - 1/4 in., Serial Range: (Bracket-cable)

1шт.

Used on models 990Q, 995Q, 996Q, up to S/N 11088330

1шт.

K607043

NUT

- 1/4 UNC, Serial Range: (Bracket-cable)

1шт.

Used on models 990Q, 995Q, 996Q, up to S/N 11088330

1шт.

31

K602845

BOLT,Hex Hd, 5/16"-18 x 3/4"

SETSCREW - 5/6 UNC x 3/4 in. (Bracket to cab)

2шт.

Used on models 990Q, 995Q, 996Q, up to S/N 11088330

1шт.

K19481

SPRING WASHER

SPRING WASHER - 5/16 in., Serial Range: (Bracket-cab)

2шт.

Used on models 990Q, 995Q, 996Q, up to S/N 11088330

1шт.

32

K625941

PIN

CLEVIS PIN - 5/16 x 7/8 in.

1шт.

Used on models 990Q, 995Q, 996Q, up to S/N 11088330

1шт.

K626682

WASHER

- 5/16

1шт.

Used on models 990Q, 995Q, 996Q, up to S/N 11088330

1шт.

K19528

PIN

SPLIT PIN - 3/32 x 3/4 in.

1шт.

Used on models 990Q, 995Q, 996Q, S/N 11088330 and after

1шт.

33

K952260

LEVER

OPERATING LEVER

1шт.

Used on models 990Q, 995Q, 996Q, up to S/N 11088330

1шт.

34

K623740

SPLIT PIN/SAFETY PIN

SPRING PIN - 3/16 x 7/8 in.

1шт.

Used on models 990Q, 995Q, 996Q, up to S/N 11088330

1шт.

35

K952515

LEVER

HAND LEVER

1шт.

Used on models 990Q, 995Q, 996Q, up to S/N 11088330

1шт.

36

K950493

KNOB

- hand lever

1шт.

Used on models 990Q, 995Q, 996Q, up to S/N 11088330

1шт.

37

K955949

ROD

- latch release

1шт.

Used on models 990Q, 995Q, 996Q, S/N 11088330 and after

1шт.

38

K955948

KNOB

- latch rod

1шт.

Used on models 990Q, 995Q, 996Q, S/N 11088330 and after

1шт.

39

K627729

GROMMET

- 7/8 in.

1шт.

Used on models 990Q, 995Q, 996Q, S/N 11088330 and after

1шт.

K626884

WASHER

- 3/8 in., special

1шт.

Used on models 990Q, 995Q, 996Q, S/N 11088330 and after

1шт.

40

K625251

SPRING

RETURN SPRING

1шт.

Used on models 990Q, 995Q, 996Q, S/N 11088330 and after

1шт.

41

K955947

PIN

CLEVIS PIN - 3/8 x 7/8 in.

1шт.

Used on models 990Q, 995Q, 996Q, S/N 11088330 and after

1шт.

K965227

ROD

CONVERSION KIT - cable to rod control

1шт.

Used on models 990Q, 995Q, 996Q, S/N 11088330 and after

1шт.

Выбрано товаров: 101